147347 (594335), страница 5
Текст из файла (страница 5)
Рисунок 17 – Расчетная схема для базы стенда 19950 мм
Рисунок 18 – Расчетная схема для базы стенда 17260 мм
Рисунок 19 – Расчетная схема для базы стенда 14570 мм
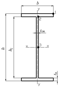
h – высота сечения, м; h1 – расстояние между полками, м; b – ширина сечения, м; tст – толщина стенки, м; tп – толщина полки, м; 1, 2, 3 – рассматриваемые в расчете точки
Рисунок 20 – Сечение рамы
Металлоконструкция стенда была спроектирована и рассчитана в программе APM WinMachine. Результаты расчетов приведены в Приложениях А и Б.
На металлоконструкцию действуют реакции от усилий вывешивания и сдвига рельсошпальной решетки, а также вес конструкции.
Вес металлоконструкции стенда Gп, Н:
, (21)
где mмк – масса металлоконструкции, mмк = 10600 кг; g – ускорение свободного падения, g = 9,8 м/с2.
Н.
Расчет на прочность металлоконструкции стенда произведен по методу допускаемых напряжений.
Из Приложений А и Б были выбраны наиболее нагруженные стержни, их расчет приведен ниже. Расчетные схемы приведены на рисунках 17 – 19.
2.3.1.1 Проверка прочности сечения стержня Rod57
Таблица 7 – Исходные данные для стержня Rod57
| Продольное усилие N, Н | Поперечное усилие Qу, Н | Поперечное усилие Qx, Н | Момент кручения Т, Н м | Изгибающий момент Му, Н м | Изгибающий момент Мх, Н м |
| -105192,73 | -9142,98 | -24310,09 | -951,838 | 16813,796 | 99509,169 |
Рисунок 21 – Геометрические характеристики сечения стержня Rod57
Условие прочности [5]:
, (22)
где
- эквивалентные напряжения, МПа [5];
- допускаемые напряжения, МПа [5].
, (23)
где
- суммарные нормальные напряжения, МПа [5];
- суммарные касательные напряжения, МПа [5].
, (24)
где
- предел текучести стали,
=305 МПа [3]; n0 – коэффициент запаса прочности стали, n0=1,4 [3].
МПа.
, (25)
где А - площадь сечения, м2 [5] ; Iх - момент инерции относительно главной центральной оси х-х, м [5]; у – расстояние от главной центральной оси х-х до рассматриваемой точки, м [5]; Iу - момент инерции относительно главной центральной оси у-у, м4 [5] ; х – расстояние от главной центральной оси у-у до рассматриваемой точки, м [5].
, (26)
где b – ширина сечения, b=0,19 м [5]; tп – толщина полки, tп = 0,0178 м [5]; h1 – расстояние между полками, h1=0,264 м [5]; tст – толщина стенки, tcт=0,012 м [5].
м2.
, (27)
где h – высота сечения, h=0,3 м.
м4.
, (28)
м4.
, (29)
где
- касательные напряжения от действия поперечной силы Qy, МПа [5];
- касательные напряжения от действия поперечной силы Qх, МПа [5];
- касательные напряжения от действия момента кручения Мкр, МПа [5].
, (30)
где
- статический момент отсеченной части, м3 [5]; bx – ширина рассеченной части, м [5].
, (31)
где Аотс – площадь отсеченной части сечения для рассматриваемой точки, м2 [5]; ус – расстояние от оси х-х до центра тяжести отсеченной части, м [5];.
Схемы для определения статического момента приведены на рисунках 21 и 22.
Рисунок 22 - Схема к определению статического момента для точки 2
Рисунок 23 - Схема к определению статического момента для точки 3
, (32)
где h – высота рассматриваемого сечения, м [5]; у – расстояние от главной центральной оси х-х до рассматриваемой точки, м [5].
Касательные напряжения
, так как величина действующего момента кручения Мкр в рассматриваемых стержнях имеет весьма малое значение.
2.3.1.2 Расчет эквивалентных напряжения для точки 1
Суммарные нормальные напряжения по формуле (25) при y=0,15 м, x = 0,095 м:
МПа.
Статический момент по формуле (31) Sотс=0 при Аотс = 0.
Касательные напряжения по формуле (32) при tст=0,012 м, h=0,3 м, y=0,15 м:
МПа.
Суммарные касательные напряжения по формуле (29)
МПа.
Эквивалентные напряжения по формуле (23):
МПа.
2.3.1.3 Расчет эквивалентных напряжения для точки 2
Суммарные нормальные напряжения по формуле (25) при y=0,132 м, х=0,006 м:
МПа.
Площадь отсеченной части:
м2.
Статический момент по формуле (31) при ус=0,1411м:
м3.
Касательные напряжения по формуле (30) при
м,
МПа.
Касательные напряжения по формуле (32) при tст=0,012 м, h=0,3 м, y=0,15 м:
МПа.
Суммарные касательные напряжения по формуле (29):
МПа.
Эквивалентные напряжения по формуле (23):
МПа.
2.3.1.4 Расчет эквивалентных напряжения для точки 3
Суммарные нормальные напряжения по формуле (25) при y=0 м, х=0,006 м:
МПа.
Площади отсеченных частей:
м2;
м2.
Статический момент по формуле (31) при ус 1=0,1411 м; ус 2=0,066 м:
м3.
Касательные напряжения по формуле (32) при
м:
МПа.
Касательные напряжения по формуле (33) при tст=0,012 м, h=0,3 м, y=0:
МПа.
Суммарные касательные напряжения по формуле (29):
МПа.
Эквивалентные напряжения по формуле (23):
МПа.
В результате расчетов, выяснилось, что самая нагруженная точка 1.
Проверка выполнения условия прочности (22):
.
Условие прочности соблюдается.
2.3.1.5 Расчет эквивалентных сечений
Опасные сечения, сходные по геометрическим параметрам с сечением стержня Rod57 рассчитаны по формулам (22) – (32).
Расчетные схемы для соответствующих значений базы платформы изображены на рисунках (17) – (19). Максимальные усилия в стержнях взяты из Приложения А и приведены в таблице 8. Результат расчетов сведен в таблицу 9.
Таблица 8 – Максимальные нагрузки в стержнях
| База платформы, мм | №стержня | Продольная силаN, Н | Поперечная силаQy, Н | Поперечная силаQх, Н | Момент кручения Т, Н | Изгибающий моментМу, Н м | Изгибающий моментМх, Н м |
| 19950 | Rod 255 | -165042,34 | 145698,02 | 43840,19 | -170,081 | 15908,952 | 104908,623 |
| Rod 256 | 165601,65 | -122180,82 | 42870,2 | -54,389 | 15790,903 | 17669,732 | |
| Rod 60 | 106781,8 | 3998,43 | -21633,22 | -350,903 | 16476,509 | -2350,193 | |
| Rod 7 | -20948,75 | 10451,56 | 9440,72 | -117,110 | 13000,354 | -36412,762 | |
| Rod 19 | 4337,22 | 35802,81 | 10555,23 | -116,439 | 14248,421 | -87636,728 | |
| Rod 42 | -4077,96 | 16541,56 | 10554,4 | -115,248 | 14247,396 | -60584,774 | |
| Rod 31 | 20865,7 | -11253,67 | 9424,35 | -106,613 | 12373,128 | -29522,795 | |
| 17260 | Rod 8 | -27803,68 | 23481,7 | 12457,97 | -104,609 | -16968,97 | -59521,467 |
| Rod 20 | 9653,56 | 34670,43 | 13612,46 | -113,933 | 18418,393 | -81600,983 | |
| Rod 43 | -9180,53 | 15523,11 | 13611,44 | -115,655 | 18417,137 | -55092,658 | |
| Rod 32 | 27594,71 | -5211,29 | 12439,18 | -114,529 | 16516,358 | -20730,946 | |
| 14570 | Rod 153 | -32552,78 | 39017,92 | 14042,31 | -107,930 | 16850,350 | -68720,585 |
| Rod 151 | 26433,39 | 35250,03 | 22106,31 | -122,770 | 21796,373 | -76632,068 | |
| Rod 149 | -25997,98 | 25128,07 | 22096,52 | -121,130 | 21790,087 | -55007,484 | |
| Rod 147 | 32351,75 | -1518,03 | 14030,34 | -113,574 | 9085,604 | -10073,357 |
Таблица 9 – Результаты расчетов
| № стержня | Рассматриваемая точка сечения | Суммарные нормальные напряжения | Касательные напряжения | Касательные напряжения | Суммарные касательные напряжения | Эквивалентные напряжения |
| Rod 255 | 1 | 191,7 | 0 | 1,91 | 1,91 | 191,8 |
| 2 | 110,8 | 37,5 | 2,14 | 39,6 | 39,6 | |
| 3 | 21,2 | 45,7 | 3,83 | 49,5 | 88,4 | |
| Условие прочности выполняется: 191,7 МПа < 217,9 МПа | ||||||
| Rod 256 | 1 | 106,6 | 0 | 1,87 | 1,87 | 106,7 |
| 2 | 36,4 | 31,4 | 2,09 | 33,5 | 68,5 | |
| 3 | 21,3 | 38,3 | 3,74 | 42,1 | 75,9 | |
| Условие прочности выполняется: 106,6 МПа < 217,9 МПа | ||||||
| Rod 60 | 1 | 88,9 | 0 | 0,944 | 0,944 | 88,9 |
| 2 | 17,6 | 0,771 | 1,056 | 1,83 | 17,8 | |
| 3 | 15,6 | 0,94 | 1,89 | 2,83 | 16,3 | |
| Условие прочности выполняется: 88,9 МПа < 217,9 МПа | ||||||
| Rod 7 | 1 | 94,5 | 0 | 0,412 | 0,412 | 94,6 |
| 2 | 36,8 | 2,69 | 0,461 | 3,15 | 37,2 | |
| 3 | 5,72 | 3,28 | 0,824 | 4,1 | 9,11 | |
| Условие прочности выполняется: 94,5 МПа < 217,9 МПа | ||||||
| Rod 19 | 1 | 151,2 | 0 | 0,488 | 0,488 | 151,2 |
| 2 | 79,4 | 9,2 | 0,515 | 9,73 | 81,2 | |
| 3 | 4,84 | 10,3 | 0,975 | 11,3 | 20,1 | |
| Условие прочности выполняется: 151,2 МПа < 217,9 МПа | ||||||
| Rod 42 | 1 | 124,9 | 0 | 0,461 | 0,461 | 124,9 |
| 2 | 56,3 | 4,3 | 0,515 | 4,77 | 56,9 | |
| 3 | 4,85 | 6,27 | 0,975 | 7,24 | 13,5 | |
| Условие прочности выполняется: 124,9 МПа < 217,9 МПа | ||||||
| Rod 31 | 1 | 87,7 | 0 | 0,436 | 0,436 | 87,7 |
| 2 | 28,1 | 1,94 | 0,488 | 2,42 | 28,4 | |
| 3 | 6,04 | 2,36 | 0,872 | 3,23 | 8,24 | |
| Условие прочности выполняется: 87,7 МПа < 217,9 МПа | ||||||
| Rod8 | 1 | 137,9 | 0 | 0,61 | 0,61 | 137,9 |
| 2 | 50,6 | 4,61 | 0,678 | 5,29 | 51,4 | |
| 3 | 8,61 | 5,62 | 1,21 | 6,83 | 14,6 | |
| Условие прочности выполняется: 137,9 МПа < 217,9 МПа | ||||||
| Rod20 | 1 | 167,9 | 0,664 | 0,664 | 0,664 | 167,9 |
| 2 | 70,5 | 8,01 | 0,743 | 8,75 | 72,1 | |
| 3 | 6,99 | 9,76 | 1,33 | 11,1 | 20,4 | |
| Условие прочности выполняется: 167,9 МПа < 217,9 МПа | ||||||
| Rod43 | 1 | 150,8 | 0 | 0,664 | 0,664 | 150,8 |
| 2 | 55,4 | 4,72 | 0,743 | 5,47 | 56,2 | |
| 3 | 6,99 | 5,76 | 1,33 | 7,09 | 14,1 | |
| Условие прочности выполняется: 150,8 МПа < 217,9 МПа | ||||||
| Rod32 | 1 | 104,9 | 0 | 0,61 | 0,61 | 104,9 |
| 2 | 23,4 | 0,343 | 0,677 | 1,02 | 23,5 | |
| 3 | 8,46 | 0,418 | 1,21 | 1,63 | 8,91 | |
| Условие прочности выполняется: 104,9 МПа < 217,9 МПа | ||||||
| Rod153 | 1 | 160,7 | 0 | 0,869 | 0,869 | 160,7 |
| 2 | 63,3 | 8,9 | 0,972 | 9,87 | 65,6 | |
| 3 | 10 | 10,9 | 1,74 | 12,6 | 23,9 | |
| Условие прочности выполняется: 160,7 МПа < 217,9 МПа | ||||||
| Rod151 | 1 | 189,6 | 0 | 1,073 | 1,073 | 189,6 |
| 2 | 77,2 | 9,68 | 1,2 | 10,9 | 79,5 | |
| 3 | 10,9 | 11,8 | 2,15 | 13,9 | 26,5 | |
| Условие прочности выполняется: 189,6 МПа < 217,9 МПа | ||||||
| Rod149 | 1 | 175,4 | 0 | 1,07 | 1,07 | 175,4 |
| 2 | 64,7 | 7,32 | 1,2 | 8,52 | 66,4 | |
| 3 | 10,9 | 8,92 | 2,15 | 11,7 | 22,1 | |
| Условие прочности выполняется: 121,2 МПа < 217,9 МПа | ||||||
| Rod147 | 1 | 121,2 | 0 | 0,869 | 0,869 | 121,2 |
| 2 | 28,6 | 1,95 | 0,972 | 2,92 | 29 | |
| 3 | 9,99 | 2,38 | 1,74 | 4,11 | 12,3 | |
Вывод: расчеты показывают, что прочность боковых и хребтовых балок рамы в рассматриваемых сечениях достаточна.















