04Глава 3 (561021), страница 4
Текст из файла (страница 4)
Таблица 3.13
Таблица переходов триггера D
| Входные сигналы (время t) | Время Q(t+1) | Функция триггера | ||
| С | ||||
| 0 | 0 | 0 | — | Не определена |
| 0 | 1 | 0 | 0 | Уст. «0» |
| 1 | 0 | 0 | 1 | Уст. «1» |
| 1 | 1 | 0 | Q(t) | Хранение Q(t) |
| 1 | 1 | 1 | D(t) | Задержка D(t) |
В отсутствие сигналов логического нуля на установочных входах данный триггер при С=0 не меняет своего состояния, при С=1 запоминает (задерживает) сигнал, поданный на управляющий вход D.
Схема триггера (рис3.3) реализована на элементах И—НЕ; запоминающий элемент образован на И—НЕ5 и И—НЕ6; остальные элементы составляют схему управления триггера с входными сигналами «б» и «в». Функции элементов И—НЕ:
;
;
;
;
.
В асинхронном режиме нулевое значение синхросигнала С=0 приводит к отключению схемы управления (б=в=1) от запоминающего элемента, т.е.
и
. Работа триггера определяется только установочными сигналами:
при
=
=0 вызывает Q=1 и
=1, т.е. схема функционирует неправильно;
при
=
=1 запоминающий элемент сохраняет прежнее состояние;
при
=0 и
=1 триггер либо сохраняет единичное состояние, либо переходит в него, если предыдущее состояние было нулевым;
при
=1 и
=0 триггер либо сохраняет нулевое состояние, либо переходит в него, если прежнее состояние было единичным (табл. 3.14). Время срабатывания триггера Ттр=2τэл.
Таблица 3.14
Асинхронный режим триггера D
Состояние триггера в момент t6 (при снятии запрещенных входных сигналов
=
=0) будет «0» или «1» в зависимости от случайных процессов в схеме. Временная работа триггера типа D приведена на рис. 3.4.
Рис. 3.4
В синхронном режиме на установочных входах рабочие сигналы отсутствуют:
=
=1 и функции элементов И—НЕ схемы имеют вид
;
;
;
;
, т.е. состояние запоминающего элемента определяется сигналами «б» и «в» с выходов схемы управления. При отсутствии синхросигнала С=0 запоминающий элемент не меняет своего состояния; при наличии синхросигнала состояние триггера определяется ранее поданным сигналом управления по входу D (табл. 3.15).
Таблица 3.15
Синхронный режим триггера D
| Время | D(t) | C(t) | ||||||
| t0 | - | 0 | - | 1 | 1 | - | 1 | 0 |
| t1 | 1 | 0 | 0 | 1 | 1 | 1 | 1 | 0 |
| t2 | 1 | 1 | 0 | 1 | 0 | 1 | 0 | 1 |
| t3 | 1 | 0 | 0 | 1 | 1 | 1 | 0 | 1 |
| t4 | 0 | 0 | 1 | 1 | 1 | 0 | 0 | 1 |
| t5 | 0 | 1 | 1 | 0 | 1 | 0 | 1 | 0 |
| t6 | 0 | 0 | 1 | 1 | 1 | 0 | 1 | 0 |
Время срабатывания триггера 3τэл.
При внешнем соединении инверсного выхода
со входом D триггер реализует счетный режим по входу С, т.е. меняет свое состояние на противоположное по каждому входному сигналу (табл. 3.16).
Таблица 3.16
Счетный режим триггера D
| Время | D(t) | C(t) | а | б | в | г | Q |
| t0 | 0 | 0 | 1 | 1 | 1 | 1 | 0 |
| t1 | 1 | 1 | 1 | 0 | 1 | 0 | 1 |
| t2 | 0 | 1 | 1 | 1 | 0 | 0 | 1 |
| t3 | 1 | 1 | 0 | 1 | 0 | 1 | 0 |
| t4 | 0 | 0 | 1 | 1 | 1 | 1 | 0 |
Регистры. Под регистром понимается операционное устройство для хранения, приема и выдачи кодов.
Регистр, предназначенный для работы с двоичными кодами, представляет собой совокупность триггеров, количество которых соответствует количеству разрядов в двоичном коде, и вспомогательных схем, позволяющих дополнительно реализовать следующие функции регистров:
запись нулевого кода;
сдвиг кода вправо или влево на заданное число разрядов;
прием – передачу с преобразованием последовательного кода в параллельный и наоборот.
При реализации последовательного кода все его разряды во времени передаются последовательно, один за другим по одной линии связи, при реализации параллельного кода всего его разряды передаются одновременно, каждый по своей цепи.
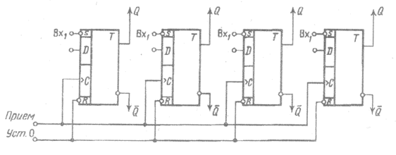
На рис. 3.5 представлена схема регистра на D-триггерах с приемом и выдачей параллельного кода слова и шиной установки нуля. Перед записью на регистр информации все триггеры предварительно сбрасываются в нуль, затем на установочные входы триггеров поступают одновременно сигналы разрядов двоичных слов. Передача информации с регистра может быть осуществлена прямым кодом (с прямых выходов триггеров) и обратным кодом (с инверсных выходов триггеров).
Выходную информацию с регистра можно также снять одновременно и с прямого, и с инверсного выхода каждого триггера, при этом каждый разряд кода передается одновременно по двум шинам) в зависимости от значения двоичного разряда на одной из них всегда присутствует сигнал единицы). Такой вид передачи называется передачей парафазного кода. Если парафазный код поступает на вход регистра, то цепь предварительного сброса регистра в нуль не используется.
Рис. 3.5 Схема регистра
При передаче информации между двумя регистрами с помощью вспомогательных цепей можно обеспечить выполнение поразрядных операций: логического сложения
; логического умножения
; сложения по модулю два
.
Здесь ai и bi — содержимое триггеров i-х разрядов регистров.
Регистры, выполняющие операцию сдвига, называются сдвигающими регистрами.
По способу межразрядных связей различают сдвигающие регистры
-
с однопроводной передачей информации;
-
с парафазной передачей информации.
По направлению сдвига рассматривают три типа регистров:
-
сдвигающие вправо;
-
сдвигающие влево;
-
реверсивные сдвигающие регистры, которые в зависимости от управляющих сигналов осуществляют сдвиг кодов или вправо, или влево.
Если существуют цепи связей между младшим и старшим разрядами, то сдвигающие регистры называются кольцевыми. Такие схемы удобны для исследования, обладают свойствами деления частоты входных сигналов и могут быть использованы в качестве счетчиков.















