04Глава 3 (561021), страница 9
Текст из файла (страница 9)
Минимизируя выражения с учетом запрещенных комбинаций
и
, получаем:
В базисе И — НЕ
Из последнего выражения видно, что для реализации у1 нужно использовать одноступенчатую логику И — НЕ, а для реализации у2 и у3 — двухступенчатую логику, поэтому для выравнивания логики запишем:
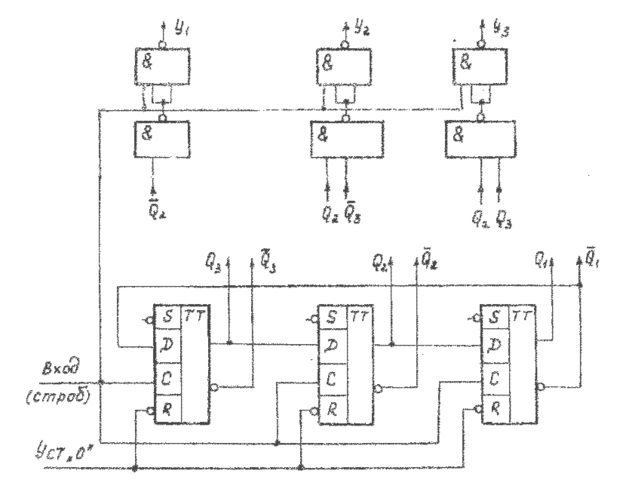
На рис. 3.20 представлена схема трехканального распределителя сигналов на счетчике Джонсона, реализованном на триггерах типа D с инверсной связью выхода Q1 со входом D3, формирующая заданную последовательность кодов.
Рис. 3. 20
В общем случае как число каналов распределителя, так и последовательность их включения могут быть заданы достаточно произвольно. При этом определяющей величиной для построения схемы распределителя является не число каналов, а длина повторяющейся последовательности номеров включаемых каналов. Эта величина соответствует числу различных состояний схемы формирования кодов, и если она кратна степени 2, то в распределителе используется полный дешифратор. В противном случае применяется неполный дешифратор, функции которого минимизируются с учетом запрещенных состояний схемы формирования кодов.
Выходы дешифратора с помощью логических схем объединяются согласно повторению номеров на выделенном участке.
















