04Глава 3 (561021), страница 8
Текст из файла (страница 8)
Перепишем уравнение i–го разряда сумматора в несколько ином виде. Если в уравнении входного сигнала переноса i–го разряда множитель Ci вынести за скобки, получим
. Введем два дополнительных уравнения
и
, здесь Pi и σi представляют собой сигналы передачи и генерирования переноса. Тогда уравнение для переноса можно записать в виде
а уравнение суммы —
Уравнения суммы и выходного сигнала переноса четырехразрядного сумматора с одновременным переносом имеют вид:
Недостатком сумматора с одновременным переносом является то, что при увеличении его разрядности функции переноса становятся все более сложными; в конечном счете практически нереализуемыми из-за большого числа внутренних соединений и перегрузки схем, генерирующих функции Pi и σi.
Для построения многоразрядного параллельного комбинационного сумматора его проектируют как устройство, состоящее из нескольких секций, для которых вводят вспомогательные функции σ и P:
Необходимо отметить, что ни одно из этих уравнений не содержит входного сигнала переноса в секцию. В связи с этим функции σ и P не зависят от числа секций, образующий сумматор, и реализуются с минимальной задержкой.
С целью для каждой четырехразрядной секции входного сигнала переноса, который зависел бы от результатов выполнений операций в младших секциях, сигналы, соответствующие функциям σ и P, можно подать на входы схем элемента «И». В этом случае входной сигнал переноса в секцию описывается следующим уравнением:
Вычитателем называется операционное устройство, выполняющее арифметическое вычитание кодов чисел.
В зависимости от количества разрядов операндов, участвующих в операциях, различают одно- и многоразрядные вычитатели.
При вычитании двух чисел в каждом разряде вычитаются три цифры: две цифры данного разряда и цифра займа из соседнего старшего разряда. В результате вычитания определяются две цифры: цифра разности и цифра займа в следующий разряд.
Одноразрядный полный двоичный вычитатель представляет по аналогии с сумматором схему, имеющую три входа и два выхода, работа которой описывается булевыми функциями, согласно таблице истинности (табл. 3.22).
Таблица 3.22
| ai | bi | Зi+1 | Si | Зi | ai | bi | Зi+1 | Si | Зi |
| 0 | 0 | 0 | 0 | 0 | 1 | 0 | 0 | 1 | 0 |
| 0 | 0 | 1 | 1 | 1 | 1 | 0 | 1 | 0 | 0 |
| 0 | 1 | 0 | 1 | 1 | 1 | 1 | 0 | 0 | 0 |
| 0 | 1 | 1 | 0 | 1 | 1 | 1 | 1 | 1 | 1 |
Разность
заем
По аналогии с полным сумматором полный вычитатель можно собрать на элементах И — ИЛИ — НЕ и И — НЕ (заменив в операции заем
на
) (рис.3.17):
на элементах И — ИЛИ — НЕ
на элементах И — НЕ
Четырехразрядный комбинационный вычитатель с одновременным переносом
Вводя две дополнительные функции
и
, получим
Рис. 3. 17 Одноразрядный комбинационный вычитатель
Необходимо подчеркнуть, что все эти уравнения могут быть записаны в виде выражений, в которые входят только значения входных сигналов ai, bi, З0 четырехразрядного вычитателя.
Распределители сигналов. Распределителем сигналов называется устройство, которое при поступлении на его вход переключающих сигналов формирует управляющий сигнал в одном из выходных каналов.
В зависимости от назначения распределители различаются числом переключающих входов, каналов, а также длительностью частотой и порядком следования формируемых сигналов.
По виду формируемых сигналов распределители сигналов классифицируются следующим образом:
распределители сигналов (потенциалов);
распределители импульсов;
комбинированные распределители.
Распределители сигналов (потенциалов) формируют выходной сигнал во время подачи переключающего сигнала и сохраняют его до прихода следующего переключающего сигнала; длительность выходного сигнала определяется периодом следования переключающих сигналов. Распределители сигналов служат основой для построения импульсных и комбинированных распределителей.
В распределителях импульсов выходной сигнал формируется только во время совпадения переключающего и стробирующего входного сигналов; длительность выходного сигнала определяется длительностью стробирующего импульса.
Распределители комбинированного типа имеют как потенциальные, так и импульсные выходы.
Схема распределителя сигналов (рис. 3.18) содержит устройство формирования параллельного кода и дешифратор. В качестве устройства формирования кода используются кольцевые сдвигающие регистры с прямыми и перекрестными связями и двоичные счетчики.
Рис. 3. 18
Распределители сигналов на счетчиках. При построении схем распределителей наиболее удобны счетчики с параллельным переносом, обладающие высоким быстродействием и не вызывающие ложного включения каналов при переходе из одного состояния в другое.
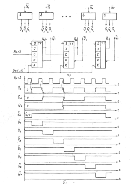
На рис. 3.19а приводится схема 8-канального однотактного распределителя сигналов, использующая трехразрядный счетчик на триггерах J – K и полный линейный дешифратор на элементах И — НЕ (управляющий сигнал в каналах представлен логическим нулем). Длительность управляющего сигнала равна периоду следования переключающих сигналов, поступающих с выхода счетчика (рис. 3.19б).
Рис. 3.19
Работа схемы поясняется таблицей состояний и выходов распределителя сигналов (табл. 3.23).
Таблица 3.23
Из таблицы состояний для каждого выхода распределителя справедливы следующие соотношения:
Для реализации распределителя импульсов на выходные схемы И — НЕ дешифратора следует подать через дополнительный вход стробирующий импульс, который и будет определять длительность выходного сигнала.
Распределители на регистрах. К достоинствам этих схем распределителей относятся высокое быстродействие, простота схем дешифрации, регулярность топологии разрядов; к недостаткам — наличие запрещенных состояний.
Рассмотрим методику синтеза распределителей на примере построения схемы трехканального распределителя сигналов, выдающей в следующем порядке выходные сигналы: 1, 1, 3, 3, 2, 1 и реализованной на базе регистра — счетчика Джонсона. Так как длина последовательности номеров каналов равна 6, то выбираем трехразрядный счетчик Джонсона. Занесем условия примера в таблицу состояний и выходов (табл. 3.24).
Таблица 3.24
Из табл. 3.24 определяем для выходной последовательности сигналов:
















