04Глава 3 (561021), страница 3
Текст из файла (страница 3)
По таблице переходов составляется кодированная таблица переходов и функций возбуждения J-K – триггера (таблица 3.6), по которой находятся функции возбуждения по каждому входу триггеров, при этом используются любые методы минимизации.
Функция возбуждения
или в базисе И—НЕ
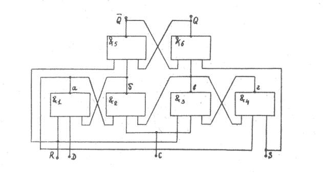
Структурная схема J-K – триггера приведена на рисунке 3.2.
Рис. 3.2 J-K – триггер
Универсальный триггер типа J-K собран по структуре M – S на схемах И—НЕ (рис. 3.2). Основной триггер М, собранный на И—НЕ3 и И—НЕ4, принимает входную информацию и переключается по переднему фронту сигнала С.
По заднему фронту сигнала С информация из основного триггера М переписывается во вспомогательный триггер S, собранный на схемах И—НЕ7 и И—НЕ8, где фиксируется состояние триггерного устройства. Триггер имеет встроенные трехвходовые логические схемы И по входам J и K.
Рассмотрим синхронный режим работы универсального триггера J-K при подаче на его входы J и K одновременно единичных сигналов. Будем считать, что триггер находится в нулевом состоянии, т.е. на его входах
и
на входы
и
постоянно поданы единичные сигналы.
При одновременном поступлении единичных сигналов J, K и С на всех входах схемы И—НЕ1 (с учетом единичного сигнала
) будут присутствовать единичные сигналы, которые переключают схему в нулевое состояние. Это, в свою очередь приведет к переключению схемы И—НЕ4 в единичное состояние. Единичный сигнал с выхода этой схемы поступает на одни из входов схемы И—НЕ3, на другие ее входы подаются единичные сигналы с входа
и с выхода схемы И—НЕ2. Таким образом, оказывается, что на все входы схемы И—НЕ3 поданы единичные сигналы, которые переключают схему в нулевое состояние, и на выходе основного триггера М записывается единичный сигнал. В этот момент на триггере М фиксируется информация, противоположная информации, содержащейся на триггере S. Перепись этой информации во вспомогательный триггер S при наличии синхронизирующего сигнала невозможна, так как на оба входа логических схем с инверсным входом И—НЕ5 и И—НЕ6 подаются одинаковые входные сигналы (на схему И—НЕ5 — нулевые, на схему И—НЕ6 — единичные), которые сохраняют на их выходах единичные состояния (работа логической схемы с инверсным входом поясняется табл. 3.7).
По окончании действия сигнала синхронизации состояние схемы И—НЕ1 изменяется на единичное, схема И—НЕ5 переходит в нулевое состояние, которое переключает схему И—НЕ8 в единичное состояние. Единичный сигнал, поступающий на вход схемы И—НЕ7, переключает ее в нулевое состояние.
Следовательно, схемы И—НЕ5 и И—НЕ6 служат устройством управления перезаписи информации из основного триггера М во вспомогательный триггер S. Задержка при переключении схемы из одного устойчивого состояния в другое составляет 4td.
При подаче сигнала только на вход С при условии, что на всех остальных входах подан сигнал единица, триггер работает в счетном режиме, т.е. аналогично вышеописанному режиму.
По асинхронным
входам триггер управляется аналогично асинхронным входам триггера D–типа. Поступающий на вход синхронизации нулевой сигнал С=0 блокирует переключение основного триггера М, а входные нулевые сигналы
или
переключают только вспомогательный триггер S. На основе триггера J-K можно, применяя соответствующую коммутацию или используя дополнительные схемы, получить триггеры, выполняющие функции триггеров R-S, D и Т.
Синтез М – К триггера. Рассмотрим особенности структурного проектирования триггеров класса М – К на примере синхронизируемого фронтом D–триггера, используя элементы И—НЕ.
Закодированные входные слова, подаваемые на вход автомата, представлены в табл. 3.8.
Для кодирования четырех состояний достаточно двух переменных Q1 и, однако выберем для кодирования внутренних состояний три переменные Q1, Q2, Q3 (табл. 3.9). Состояние схемы закодируем таким образом, чтобы выход схемы Q соответствовал выходу схемы Q1. При этом из четырех избыточных состояний два (S1 и S2) применены в качестве рабочих промежуточных состояний триггера. Пятое состояние используется промежуточным при переключении триггера из (3) → (2), а шестое — при переходе триггера из (1) → (4).
Таблица 3.8
| Pi | C | D |
| P1 | 0 | 0 |
| P2 | 0 | 1 |
| P3 | 1 | 1 |
| P4 | 1 | 0 |
Таблица 3.9
| Si | Q1 | Q2 | Q3 |
| S7 | 0 | 0 | 0 |
| S6 | 0 | 0 | 1 |
| S2 | 0 | 1 | 0 |
| S1 | 0 | 1 | 1 |
| S8 | 1 | 0 | 0 |
| S4 | 1 | 0 | 1 |
| S5 | 1 | 1 | 0 |
| S3 | 1 | 1 | 1 |
Введение этих промежуточных состояний позволило исключить критические гонки между системами обратных связей на всех переходах триггера. При заполнении таблицы переходов (табл. 3.10) примем, что триггер переключается по переднему фронту С и одновременное изменение сигналов C и D запрещено. Запрещенное состояние обозначается прочерком. По таблице переходов составляется кодированная таблица переходов и функций возбуждения D–триггера (табл. 3.11).
Таблица 3.10
| Pi | Si | |||||
| S1 | S2 | S3 | S4 | S5 | S6 | |
| P1 | S1 | S1 | S3 | S3 | — | — |
| P2 | S1 | S1 | S3 | S3 | — | — |
| P3 | S6 | S2 | S4 | S4 | — | S4 |
| P4 | S2 | S2 | S5 | S4 | S2 | — |
| Q | 0 | 0 | 1 | 1 | — | — |
Таблица 3.11
Данные табл. 3.12 заносятся на карты Вейча и производится минимизация функций. В результате получаем следующие минимальные функции возбуждения:
;
;
;
;
;
.
Реализованный по этим соотношениям триггер будет содержать цепи со статическим сбоем при некоторых переключениях сигналов. Для исключения статического риска необходимо заменить минимальные выражения
и
оптимальными
и
и ввести дополнительные третьи входы в элементы И — НЕ2 и И — НЕ3. Соединив между собой в соответствии с логическими выражениями основной и коммутирующий триггеры, получим схему D–триггера в базисе И — НЕ (рис. 3.3).
Рис. 3.3 D-триггер
Таблица 3.12
| С | D | Значения выходных сигналов | Функции возбуждения | ||||||||||
| Q1(t) | Q2(t) | Q3(t) | Q1(t+1) | Q2(t+1) | Q3(t+1) | ||||||||
| 0 | 0 | 0 | 0 | 0 | — | — | — | — | — | — | — | — | — |
| 0 | 0 | 1 | — | — | — | — | — | — | — | — | — | ||
| 0 | 1 | 0 | 0 | 1 | 1 | b | 1 | 1/b | b/0 | b | 0 | ||
| 0 | 1 | 1 | 0 | 1 | 1 | b | 1 | 1/b | b/0 | 1/b | b/0 | ||
| 1 | 0 | 0 | — | — | — | — | — | — | — | — | — | ||
| 1 | 0 | 1 | 1 | 1 | 1 | 1 | b | b | 0 | 1/b | b/0 | ||
| 1 | 1 | 0 | — | — | — | — | — | — | — | — | — | ||
| 1 | 1 | 1 | 1 | 1 | 1 | 1 | b | 1/b | b/0 | 1/b | b/0 | ||
| 0 | 1 | 0 | 0 | 0 | — | — | — | — | — | — | — | — | — |
| 0 | 0 | 1 | — | — | — | — | — | — | — | — | — | ||
| 0 | 1 | 0 | 0 | 1 | 1 | b | 1 | 1/b | b/0 | b | 0 | ||
| 0 | 1 | 1 | 0 | 1 | 1 | b | 1 | 1/b | b/0 | 1/b | b/0 | ||
| 1 | 0 | 0 | — | — | — | — | — | — | — | — | — | ||
| 1 | 0 | 1 | 1 | 1 | 1 | 1 | b | b | 0 | 1/b | b/0 | ||
| 1 | 1 | 0 | — | — | — | — | — | — | — | — | — | ||
| 1 | 1 | 1 | 1 | 1 | 1 | 1 | b | 1/b | b/0 | 1/b | b/0 | ||
| 1 | 1 | 0 | 0 | 0 | — | — | — | — | — | — | — | — | — |
| 0 | 0 | 1 | 1 | 0 | 1 | 1 | 0 | b | 1 | 1/b | b/0 | ||
| 0 | 1 | 0 | 0 | 1 | 0 | b | 1 | 1/b | b/0 | b | 1 | ||
| 0 | 1 | 1 | 0 | 0 | 1 | b | 1 | 0 | 1 | 1/b | b/0 | ||
| 1 | 0 | 0 | — | — | — | — | — | — | — | — | — | ||
| 1 | 0 | 1 | 1 | 0 | 1 | 1 | b | b | 1 | 1/b | b/0 | ||
| 1 | 1 | 0 | — | — | — | — | — | — | — | — | — | ||
| 1 | 1 | 1 | 1 | 0 | 1 | 1 | b | 0 | 1 | 1/b | b/0 | ||
| 1 | 0 | 0 | 0 | 0 | — | — | — | — | — | — | — | — | — |
| 0 | 0 | 1 | — | — | — | — | — | — | — | — | — | ||
| 0 | 1 | 0 | 0 | 1 | 0 | b | 1 | 1/b | b/0 | b | 1 | ||
| 0 | 1 | 1 | 0 | 1 | 0 | b | 1 | 1/b | b/0 | 0 | 1 | ||
| 1 | 0 | 0 | — | — | — | — | — | — | — | — | — | ||
| 1 | 0 | 1 | 1 | 0 | 1 | 1 | b | b | 1 | 1/b | b/0 | ||
| 1 | 1 | 0 | 0 | 1 | 0 | 0 | 1 | 1/b | b/0 | b | 1 | ||
| 1 | 1 | 1 | 1 | 1 | 0 | 1 | b | 1/b | b/0 | 0 | 1 | ||
Универсальный синхронный триггер типа D с инверсными установочными входами
и
функционирует согласно таблице переходов (табл. 3.13).
















