ВСН 332-74 (558417), страница 9
Текст из файла (страница 9)
8-48. Герметизировать оголенные участки жил у наконечников. Для этого обмотать оголенные участки липкой поливинилхлоридной лентой толщиной 0,2 и шириной 7,5 мм, получаемой путем разрезания пополам ролика ленты шириной 15 мм Обмотку выполнять до выравнивания ее с бумажной изоляцией жилы и наконечником с заходом двух последних слоев ленты на наконечник и бумажную изоляцию жилы.
8-49. При выполнении опрессовки местным вдавливанием заполнить углубления (лунки), образовавшиеся на цилиндрической части наконечников при опрессовке моточками липкой поливинилхлоридной ленты. Лунки предварительно смазать составом № 2.
8-50. Обмотать каждую жилу по ходу новива фазной изоляции (начиная от места выхода из поясной изоляции) и всю цилиндрическую часть наконечников четырьмя слоями липкой поливинилхлоридной ленты шириной 15 — 20 мм, не обрывая ее в процессе обмотки жилы. Наматывать все четыре слоя с натяжением и 50 %-ным перекрытием предыдущего витка. Последний слой намотки ленты покрыть составом № 1.
8-51. Наложить на всю длину цилиндрической части наконечников с заходом на изоляцию жил бандаж из крученого шпагата диаметром 0,8 ¾ 1 мм.
8-52. При применении кабеля с круглыми однопроволочными жилами сечением до 16 мм2 допускается вместо обмотки жил липкой поливинилхлоридной лентой применять трубки из поливинилхлоридного пластиката (ХВТ), выполнив следующие операции:
а) выбрать трубки с внутренним диаметром в соответствии с сечением жил кабеля:
Сечение жил кабеля, мм2 2,5—4 6—10 16
Внутренний диаметр
трубки, мм 5 6 8
б) нарезать трубки длиной, равной длине изолированного участка жилы и поясной изоляции;
в) на одном конце трубок сделать косой срез длиной 12 мм (рис. 46), а на другом — клинообразные вырезы длиной 10 — 12 и шириной у конца трубок 3 — 5 мм (рис. 47);
Рис. 46. Подготовка конца трубки из поливинилхлоридного пластиката (со стороны корешка) для надевания на жилы.
Рис. 47. Подготовка конца жилы к герметизации.
г) смазать составом № 1 фазную изоляцию жил для лучшего скольжения трубок при надевании их на жилы кабеля;
д) надеть на жилы кабеля (косым срезом вперед) трубки так, чтобы срез заходил на поясную изоляцию и упирался в оболочку (рис. 48);
Рис. 48. Трубки ХВТ, надетые на жилы кабеля.
1 ¾ трубки ХВТ; 2 — поясная изоляция кабеля; 3 — оболочка кабеля.
е) герметизировать концы жил кабеля; для этого на концы трубок наложить с натяжением и 50 %-ным перекрытием витков бандаж из липкой поливинилхлоридной ленты на длине 25 мм с перекрытием клинообразного выреза и переходом на оголенную жилу (рис. 49); наложить с натяжением поверх липкой поливинилхлоридной ленты по всей ее длине бандаж из суровых ниток (рис. 50);
Рис. 49. Наложение бандажа из ленты ПВХ.
Рис. 50. Герметизация конца жилы.
ж) изогнуть в колечко по направлению завинчивания гаек концы жил для присоединения к контактным зажимам.
8-53. Скатать валик диаметром 4 — 5 мм из липкой поливинилхлоридной ленты шириной 15 — 20 мм и ввести его между жилами в корешок до поясной изоляции. Заполнить составом № 2 пространство в корешке между жилами от поясной изоляции на длине, равной двум диаметрам оболочки кабеля.
8-54. Сжать жилы в общий пучок и закрепить его временным бандажом из шпагата или киперной ленты на расстоянии 10 — 20 мм от участка жил, заполненного составом № 2.
8-55. Покрыть толстым слоем состава № 2 внешнюю поверхность пучка сжатых жил. При этом использовать состав, выдавленный при сжатии жил в пучок. Наличие не заполненных составом желобков не допускается, так как это может привести к образованию пустот.
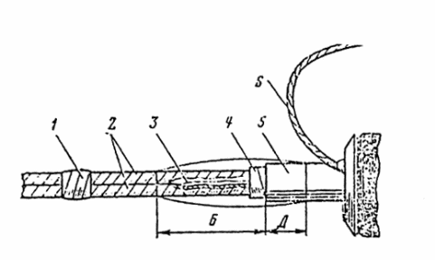
8-56. Обмотать с небольшим натяжением сжатые в пучок жилы липкой поливинилхлоридной лентой (ПВХ). Обмотку начинать на расстоянии Б от конца оболочки кабеля и вести в сторону изоляции с заходом на оболочку на длину Д, равную диаметру оболочки кабеля (рис. 51)
Рис. 51. Подготовка кабеля к заделке.
1 ¾ временный бандаж из шпагата или киперной ленты; 2 ¾ жилы, изолированные лентой ПВХ; 3 ¾ состав № 2; 4 ¾ поясная изоляция; 5 . оболочка кабеля; 6 ¾ заземляющий проводник.
Намотать шесть-восемь слоев ленты с натяжением и 50 °/о-ным перекрытием предыдущего витка выравнивая намотку. Последний слой намотки покрыть составом № 1.
Размер намотки ленты на жилы кабеля приведен ниже.
Сечение жил
кабеля, мм2 2,5 ¾ 10 16 ¾ 35 50 ¾ 70 95 ¾ 150
Размер Б, мм 50 70 75 80
8-57. Наложить с натяжением поверх намотанной по корешку ленты бандаж из шпагата по всей длине заделки корешка. Бандаж накладывать, начиная со стороны жил, с последующим переходом на оболочку кабеля.
8-58. Пропитать бандажи из ниток и шпагата на концах жил и в корешке заделки изоляционным пропиточным лаком (шеллаком, бакелитовым и т. п.).
8-59. Снять временный бандаж, стягивающий жилы в корешке, после высыхания состава № 2.
Общий вид заделки кабеля с применением трубок ХВТ приведен на рис. 52.
Рис. 52. Общий вид сухой заделки кабеля перед вводом в вводное устройство электродвигателя до третьего габарита.
Особенности заделок кабеля с бумажной изоляцией на напряжение выше 1000 В
8-60. Концевые заделки кабелей с бумажной изоляцией на напряжение выше 1000 В во взрывоопасных зонах класса В-I должны выполняться только заливкой кабельной массой МВМ-1 или МБМ-2 (ГОСТ 6997-54), а в зонах остальных классов — с применением липкой поливинилхлоридной ленты.
8-61. Монтаж концевых заделок кабелей на напряжение выше 1000 В должен производиться обученными монтерами-кабельщиками 5 ¾ 6-го разряда под контролем инженерно-технического персонала.
Помощник монтера выполняет по указаниям и под наблюдением монтера все вспомогательные работы, например подготовку материалов и инструмента, удаление наружного покрова кабеля.
Монтеры периодически, через 30 — 40 мин. должны протирать руки бензином и насухо вытирать их чистой тряпкой без ворса. Также периодически должен протираться и инструмент.
Для протирки и обезжиривания изоляции, оболочки и жил кабеля должен применяться чистый бензин (авиационный или Б-70).
Монтаж концевой заделки не должен прерываться, пока не будет полностью закончен.
Перед монтажом заделки необходимо проверить изоляцию кабеля на отсутствие влаги. Обязательно проверяются бумажные ленты, прилегающие к оболочке и жилам конца кабеля.
Наличие влаги в изоляции может быть обнаружено по легкому потрескиванию и выделению пены при погружении бумажных лент в нагретый до 150° С парафин.
При проверке на влажность бумажные ленты следует брать сухим пинцетом.
При обнаружении недоброкачественных материалов или дефектов кабеля монтер обязан приостановить работу и сообщить об этом немедленно производителю работ.
Каждая концевая заделка кабеля после окончания должна быть сдана ответственному лицу, осуществляющему надзор на монтаже.
Результаты приемки концевой заделки оформляются актом. Окончательная сдача-приемка концевых заделок производится после испытания кабельной линии повышенным напряжением согласно действующим нормам. Результаты испытаний концевых заделок оформляются протоколом испытаний.
8-62. Расстояние между кольцевыми надрезами на оболочке кабеля должно быть равно 15 мм.
8-63. Перед намоткой на жилы четырех слоев липкой поливинилхлоридной ленты их следует обмотать, начиная по мере выхода жил из поясной изоляции, одним слоем лакоткани шириной 25 ¾ 30 мм с натяжением и 50 %-ным перекрытием предыдущего витка
8-64 Во взрывоопасных зонах класса В-1 заделка кабеля должна выполняться заливкой в кабельную муфту вводного устройства кабельной массы МБМ-1 или МБМ-2, разогретой до 1400 С, с последующим охлаждением перед заливкой до 110 — 120° С.
8-65. Операции по подготовке кабеля для заливки кабельной массой выполняются аналогично заделкам с применением липкой поливинилхлоридной ленты. При этом обмотка жил одним слоем лакоткани и четырьмя слоями липкой поливинилхлоридной ленты должна начинаться на 50 мм ниже торца кабельной муфты (рис. 53).
Рис. 53. Подготовка кабеля для заливки кабельной массой в кабельной муфте вводного устройства.
1 ¾ резиновое кольцо; 2 ¾ кабельная муфта; 3 ¾ жилы кабеля; 4 ¾ обмотка жил лакотканью и лентой ПВХ; 5 ¾ проводник заземления.
8-66. Для герметизации концов круглых и однопроволочных жил сечением 10 ¾ 16 мм2, присоединяемых без наконечников, необходимо:
а) на расстоянии 85 мм от конца жилы на фазной изоляции установить бандаж из ниток;
б) снять с конца жилы до бандажа пять верхних слоев изоляции. Остальные слои на участке 30 мм от бандажа снимать ступенями с отступлением на 5 мм (рис. 54);
Рис. 54. Снятие изоляции с конца однопроволочной жилы.
1 ¾ бандаж из ниток на изоляции жилы; 2 ¾ токоведущая жила.
в) протереть оголенную жилу тряпкой, слегка смоченной в бензине;
г) обмотать жилу лакотканью и четырьмя слоями ленты ПВХ. Обмотку производить с перекрытием оголенной жилы на участке, равном 10 мм (рис. 55);
Рис. 55. Герметизация однопроволочной жилы.
1 ¾ бандаж из ниток; 2 ¾ слой лакоткани; 3 ¾ четыре слоя ленты ПВХ.
д) наложить на изоляцию с натяжением бандаж из шпагата диаметром 0,8 — 1,0 мм на участке 45 мм, считая от конца изоляции. Наложение бандажа следует начинать от конца изоляции;
е) после герметизации оголенный конец жилы изогнуть в кольцо для присоединения к контактному зажиму.
Технология заделок бронированных кабелей с резиновой и поливинилхлоридной изоляции
8-67. Отмерить место обреза брони и установить бандаж аналогично кабелям с бумажной изоляцией.
8-68. Зачистить до блеска участок двух лент брони у бандажа в месте припайки заземляющего медного проводника и облудить его, соблюдая осторожность во избежание порчи оболочки под броней.
8-69. Наложить один конец заземляющего проводника на облуженное место брони, при этом другой конец проводника направить в сторону, противоположную концу кабеля. Сечение заземляющего проводника выбирать по п. 8-2.
8-70. Закрепить конец заземляющего проводника на броне бандажом из трех-четырех витков медной проволоки у бандажа, крепящего броню кабеля, и припаять проводник (рис. 56). Продолжительность пайки не должна превышать 3 мин.
Рис. 56. Закрепление и припайка заземляющего проводника к броне кабеля с поливинилхлоридной или резиновой оболочкой.
8-71. Надрезать ленты брони кабеля у бандажа (со стороны конца кабеля) и снять их. Удалить подушку под броней (для кабелей, имеющих защитное покрытие под броней).
8-72. На расстоянии 30 — 50 мм от среза брони (в зависимости от диаметра кабеля) выполнить кольцевой надрез оболочки и от него в сторону конца кабеля — продольный надрез. На надрезанном участке снять оболочку с жил кабеля.
8-73. Надеть на кабель нажимную муфту, нажимную и упорную шайбы и резиновое уплотнительное кольцо, входящее в комплект вводного устройства электрооборудования.
8-74. Выполнить оконцевание жил кабелей.
8-75. Выполнить подмотку липкой поливинилхлоридной лентой на жилах со стороны манжет во избежание сползания манжет на жилы кабеля.
8-76. На жилы кабеля с резиновой изоляцией, начиная от оболочки,. намотать один слой липкой поливинилхлоридной ленты с 50 %-ным перекрытием предыдущего витка с переходом на цилиндрическую часть наконечников (рис. 57) или надеть трубки из поливинилхлоридного пластиката.
















