ВСН 332-74 (558417), страница 7
Текст из файла (страница 7)
7-50. Трубы с условным проходом больше 50 мм с кабелями допускается уплотнять набивкой в трубу кабельного джута или асбестового шнура на глубину 100 — 120 мм с последующим заполнением уплотнительным составом УС-С5 (рис. 29) и набивкой сверху кабельного джута или асбестового шнура. Набивку джута или шнура с обеих сторон состава УС-65 следует выполнять толщиной не менее 10 мм. При этом отношение диаметра кабеля к внутреннему диаметру трубы должно быть менее или равно 0,7.
Рис. 29. Разделительное уплотнение кабеля в трубе с условным проходом более 50 мм.
1 ¾ труба; 2 ¾ разъемное соединение (муфта и контрогайка); 3,5 ¾ кабельный джут или асбестовый шнур; 4 ¾ уплотнительный состав УС-65; 6 ¾ кабель.
Выполнение такого разделительного уплотнения в трубе, выходящей из пола, допускается при подводе питания к пускателям, электродвигателям, а также при переходе кабеля на открытую прокладку (рис. 29, 30) с обязательным устройством разъемного соединения не далее 30 — 50 мм от верха заполнения составом.
Рис. 30. Варианты применения разделительных уплотнений кабеля составом УС-65 в трубе с условным проходом более 50 мм.
а — выход из пола трубы с кабелем, проложенным открыто; б — выход из пола трубы с кабелем к пускателю; в — выход из пола трубы с кабелем к двигателю; МЗ ¾ место заполнения составом УС-65 в трубе с кабелем для разделительного уплотнения.
7-51. Материалы для выполнения заполненных разделительных уплотнений и область их применения приведены в табл. 6.
Таблица 6
Материалы для выполнения разделительных уплотнении
| Наименование | Область применения | ГОСТ или ТУ |
| Уплотнительный состав УС-65 (поставляется в готовом виде) | Выполнение разделительных уплотнений в коробках с внутренним локальным объемом, предусматривающим возможность испытания надежности выполнения разделительных уплотнений, и в коробках типа ФПЗ и трубах | ТУ 36-945-68 ММСС СССР |
| Битумные составы МБМ-1 и МБМ-2* | То же | ГОСТ 6997-54 |
| Шнуры крученые и пряжа (пропитанные): | Устройство набивок в патрубках коробок для | ГОСТ 1765-70 ГОСТ 5107-70 |
| шнуры и катанки льняные | разделительных уплотнений в трубах при | ГОСТ 17306-71, 18403-73 |
| шнуры крученые льнопеньковые | применении состава УС-65 | |
| шнуры крученые льняные и хлопчатобумажные | ||
| отходы кабельной пряжи | ||
| шнуры асбестовые | ГОСТ 1779-72 |
___________
* В организациях системы Главэлектромонтажа в связи с поставкой состава УС-65 применять не допускается.
7-52. Сальниковые разделительные уплотнения ввода проводов и кабелей (резиновые кольца) поставляются совместно с электрооборудованием в гнездах вводных устройств (рис. 31).
Рис. 31. Ввод трубы в электродвигатель (резиновое кольцо является разделительным уплотнением).
1 ¾ муфта кабельная; 2 ¾ кольцо резиновое; 3 — муфта нажимная; 4 ¾ труба водогазопроводная; 5 ¾ провода; 6 ¾ проводник заземления брони и оболочки кабеля;
7 ¾ кабель.
7-53. Коробки для разделительных уплотнений перед установкой должны быть внутри очищены от грязи и протерты для лучшего прилипания уплотнительного состава.
7-54. Разделительные уплотнения должны быть выполнены в непосредственной близости от места ввода труб во взрывоопасную зону, но не далее 200 мм:
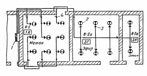
а) в местах перехода трубопроводов из взрывоопасных зон высших классов во взрывоопасные зоны низших классов ¾ со стороны взрывоопасных зон высшего класса. Например, при переходе трубопроводов взрывоопасной зоны класса В-Iа в зону класса В-Iб разделительные уплотнения выполняются в зоне высшего класса В-Iа;
б) в местах перехода трубопроводов из одних взрывоопасных зон в другие одинаковых классов, но содержащих взрывоопасные смеси других категорий или групп, — со стороны зон, имеющих взрывоопасную смесь более высокой категории и группы (рис. 32);
Рис. 32. Размещение разделительных уплотнений для осветительной сети.
1 ¾ щиток распределительный; 2 ¾ светильник взрывозащищенный; 3 ¾ разделительное уплотнение, выполненное резиновой уплотнительной прокладкой; 4 ¾ разделительное уплотнение, выполненное в коробках КПЛ и КПР.
в) в местах перехода трубопроводов из взрывоопасных зон классов В-I, В-Iа и В-II в невзрывоопасное помещение или наружу — со стороны взрывоопасной зоны (рис. 32 и 33). При этом на трубах, проложенных к электродвигателям и аппаратам в бетонной подготовке пола или в земле под полом из невзрывоопасного помещения во взрывоопасную зону, разделительные уплотнения следует устанавливать при выходе труб из пола у электродвигателя или аппарата (рис. 33, а). Выводить трубы из пола на стену специально только для установки разделительных уплотнений при последующем заглублении труб в пол не требуется;
г) допускается установка разделительных уплотнений со стороны невзрывоопасных помещений (рис. 33, б) или снаружи, если во взрывоопасной зоне установке разделительных уплотнений мешают строительные конструкции.
Рис. 33. Пример установки разделительных уплотнений при проходе труб из взрывоопасного помещения в нормальное.
а ¾ следует; б ¾ допускается.
7-55. Установка каких-либо соединительных частей (муфт, водосборников и т. п.) на участке трубопровода между разделительным уплотнением и местом выхода трубы из пола, стены и т. п. во взрывоопасную зону не допускается.
7-56. Разделительные уплотнения должны быть размещены так, чтобы они не препятствовали естественному стоку конденсирующейся в трубах влаги к соединительным и ответвительным коробкам, водосборным трубкам и т. п.
7-57. При вводе трубопроводов с проводами или кабелями в оболочки аппаратов, присоединительные зажимы и подвижные контакты которых залиты маслом, например КУ-700, установки на трубопроводах разделительных уплотнений непосредственно у ввода в аппарат не требуется.
7-58. Разделительные уплотнения в коробках для локальных испытаний типа КПЛ (рис. 34), установленные на трубопроводах во взрывоопасных зонах классов В-I, В-Iа, В-II, должны испытываться избыточным давлением 250 кПа (2,5 кгс/см2), при этом в течение 3 мин допускается падение давления в разделительном уплотнении не более чем до 200 кПа (2 кгс/см2).
Рис. 34. Коробка КПЛ.
1 ¾ корпус; 2 ¾ крышка; 3 ¾ резьбовая пробка.
7-59. При отсутствии коробок КПЛ допускается использовать две коробки КПР и сантехнический тройник по ГОСТ 8948-59 или 8949-59. При этом в тройник ввертываются на резьбе два отрезка труб или двойные ниппели по ГОСТ 8958-59, на свободные концы которых навертываются коробки КПР (рис. 35).
Рис. 35. Устройство разделительных уплотнений с локальным испытанием в коробках КПР.
1 — коробка; 2 — джут или асбестовый шнур; 3 — уплотнительный состав УС65; 4 ¾ тройник по ГОСТ 8949-59.
При локальных испытаниях разделительных уплотнений трубопроводы давлением не испытываются.
7-60. При установке на трубопроводе для разделительного уплотнения одной коробки КПР должен испытываться весь трубопровод, расположенный во взрывоопасной зоне после разделительного уплотнения.
При этом трубопроводы после монтажа проводов и кабелей должны быть испытаны на плотность, включая и разделительное уплотнение, сжатым воздухом избыточным давлением:
а) в зонах класса В-I — 250 кПа (2,5 кгс/см2);
б) в зонах классов В-Iа и В-II — 50 кПа (0,5 кгс/см2).
При этом в течение 3 мин давление не должно уменьшаться более чем на 50 %.
Технология выполнения разделительных уплотнений трубопроводов составом УС-65
7-61. Перед применением состава УС-65 при отрицательных температурах следует поместить на 2 — 3 ч состав и снятые крышки коробок в отапливаемое помещение. Для удобства заполнения рекомендуется состав нарезать кубиками размером примерно 20х20х20 мм.
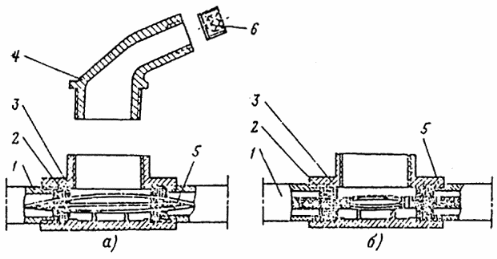
7-62. Разделительные уплотнения в коробках КПЛ (рис. 30) необходимо выполнить в следующей последовательности:
а) вывернуть крышки из корпуса коробки 1 и из крышек 2 вывернуть пробки 3;
б) при применении многожильных проводов марки ПРТО необходимо снять его оплетку на участке провода, расположенного в крайних полостях под снятыми крышками (на длине 25 — 30 мм). Указанную операцию следует выполнять осторожно, не допуская порчи изоляции. У одножильных проводов оплетку снимать не требуется;
в) выполнить уплотнение патрубков коробки и отверстий между крайними и средней полостью набивкой в них кабельного джута или асбестового шнура, не допуская прикосновения проводов к корпусу коробки;
г) развести провода внутри каждой крайней полости коробки и нанести слой уплотнительного состава УС-65 только в крайних полостях под провода, а затем заполнить их составом, оставив свободными одну-две нитки резьбы (рис. 36, а);
д) ввернуть крышки в корпус коробки, снять выдавленный из отверстий крышек состав и ввернуть пробки на все резьбу (рис. 36, б);
е) вывернуть пробку из отверстия средней полости коробки;
ж) ввернуть в отверстие тройник с манометром и ниппелем и подсоединить к нему шланг от источника сжатого воздуха (например, велосипедного насоса с обратным клапаном) для испытания разделительного уплотнения давлением (рис. 36, в);
з) создать при помощи насоса в средней полости коробки избыточное давление 250 кПа (2,5 кгс/см2).
Рис. 36. Выполнение и испытание разделительного уплотнения в коробке КПЛ.
1 ¾ корпус; 2 ¾ крышка; 3, 4 ¾ пробки; 5 ¾ набивка из джута или асбестового шнура;
6 ¾ уплотнительный состав УС65; 7 ¾ тройник с манометром и ниппелем; 8 ¾ насос;
9 ¾ трубопровод;10 ¾ кабель или провода.
7-63. В случае если разделительное уплотнение не удовлетворяет требованиям п. 7-58, следует вывернуть пробки и крышки из коробки, дополнить крайние полости составом УС65 и повторить операции, указанные в п. 7-62, д.
7-64. Разделительные уплотнения в коробках КПР (рис. 37, 38) необходимо выполнять в такой последовательности:
а) отвернуть крышку коробки и вывернуть из нее пробку (рис. 37, а);
б) при применении многожильных проводов марки ПРТО (рис. 37, б) необходимо снять его оплетку внутри коробки на длине 25 ¾ 30 мм. Указанную операцию следует выполнять осторожно, не допускается порчи изоляции проводов. У одножильных проводов оплетку снимать не требуется;
в) выполнять уплотнение патрубков коробки набивкой в них кабельного джута или асбестового шнура (рис. 37, а, б), не допуская прикосновения проводов к корпусу коробки;
г) развести провода внутри коробки и нанести слой уплотнительного состава под провода, а затем заполнить коробку составом до начала резьбы. Заполнить составом крышку коробки (рис. 38, а);
д) завернуть крышку в корпус коробки на всю резьбу (рис. 38, б).
е) снять выдавленный состав через отверстие для пробки и ввернуть пробку на всю резьбу (рис. 38, в).
Рис. 37. Подготовка коробки КПР для выполнения разделительного уплотнения.
а ¾ крышка с пробкой и корпус с проложенными одножильными проводами и выполненной набивкой из джута; б ¾ корпус с проложенным многожильным проводом ПРТО со снятой хлопчатобумажной оплеткой и выполненной набивкой из джута; 1 ¾ трубопровод; 2 ¾ набивка из джута или асбестового шнура; 3 ¾ корпус; 4 ¾ крышка; 5 ¾ провод; 6 ¾ пробка.
Рис. 38. Выполнение разделительного уплотнения в коробке КПР уплотнительным составом УС65.
а ¾ заполненные составом крышка и корпус; б ¾ уплотнение состава при завернутой крышке; в ¾ выполненное разделительное уплотнение после полной сборки; 1 ¾ трубопровод; 2 ¾ набивка из джута или асбестового шнура; 3 ¾ корпус; 4 ¾ крышка; 5 ¾ провод;
















