ВСН 332-74 (558417), страница 6
Текст из файла (страница 6)
Рис. 25. Выполнение соединений труб.
а ¾ неразъемное соединение; б ¾ разъемное соединение; 1, 2 ¾ короткая резьба; 3 ¾ муфта;
4 ¾ длинная резьба; 5 ¾ контргайка по ГОСТ 8968-59.
7-18. Длина нарезки резьбы на трубах для соединения длинной и короткой резьбой приведена в табл. 5.
Таблица 5
Длина резьбы на концах труб
| Условный проход | Длина резьбы, мм | |||
| мм | дюйм1 | длинная по ГОСТ 8969-59 | короткая (длинная) по ГОСТ 3262-62 | |
| 20 | 3/4 | 54 | 16 | |
| 25 | 1 | 62 | 18 | |
| 40 | 1 1/2 | 75 | 22 | |
| 50 | 2 | 86 | 24 | |
| 70 | 2 1/2 | 98 | 27 | |
| 80 | 3 | 166 | 30 | |
_________
1 В ГОСТ 3262-62 отсутствует
7-19. Соединение труб различных диаметров между собой или соединение труб с вводными устройствами аппаратов электродвигателей, имеющих диаметр вводного отверстия, отличный от диаметра вводимой трубы, необходимо выполнять футорками по ГОСТ 8960-59 (приложение 5).
7-20. Присоединения трубопроводов к аппаратам и электрическим машинам должны быть разъемными, что позволяло бы произносить замену аппаратов и машин без демонтажа труб.
7-21. Разъемы присоединенных трубопроводов могут быть выполнены:
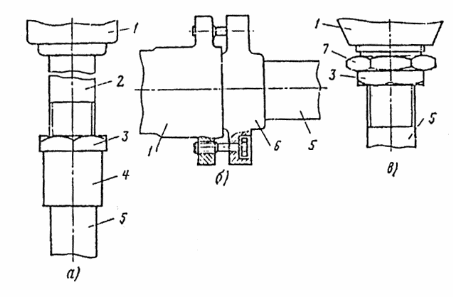
а) с применением стандартного сгона (патрубка определенной длины, имеющего с одного конца длинную резьбу, а с другого — короткую), ввернутого на короткой резьбе во вводное устройство электрооборудования и соединенного с трубопроводом муфтой и контргайкой (рис. 26, а). Длина стандартных сгонов патрубков) по ГОСТ 8969-59 приведена ниже:
Условный проход
труб, мм 20 25 40 50 70 80
Длина сгона, мм 110 120 140 150 170 180
б) отсоединением нажимной муфты от корпуса вводного устройства электрооборудования, если это предусмотрено конструкцией вводного устройства (рис. 26, б);
в) свертыванием уплотнительных резьбовых сальниковых гаек , вводного устройства, уплотняющих место ввода проводов или кабеля, на длинную резьбу трубопровода (рис. 26, в).
Рис. 26. Варианты разъемных присоединений трубопроводов к электрооборудованию.
а ¾ с применением стандартного сгона; б ¾ отсоединением нажимной муфты;
в — свертыванием резьбовых сальниковых втулок; 1 — вводное устройство; 2 — стандартный сгон; 3 — контргайка; 4 — муфта; 5 — трубопровод; 6 — нажимная муфта; 7 — уплотнительная резьбовая сальниковая гайка.
7-22. Все резьбовые соединения труб и их присоединения к электрооборудованию должны выполняться с подмоткой на резьбу пенькового волокна, пропитанного в разведенном на олифе сурике (железном или свинцовом), или ленты ФУМ (фторлонового уплотнительного материала) из фторлона марки 4Д шириной 10 ¾ 15 и толщиной 0,08 — 0,12 мм по ТУ 6.05.1388-70, которую поставляют в буксах массой 500 — 600 г. При этом на очищенную обтирочными концами или ветошью от загрязнения короткую резьбу, начиная от конца трубы, наматывают по ходу резьбы на всю длину два-три слоя ленты ФУМ для труб с условным проходом 20 мм и три-четыре слоя — для труб с условным проходом 25 мм и более. Ленту следует плотно прижимать (не растягивая) к поверхности резьбы. Расход ленты на одно соединение не более 1 — 2 г.
Выполнение резьбового соединения с применением ленты ФУМ следует осуществлять равномерно, без возвратных движений.
При выполнении разъемных соединений между муфтой и контргайкой наматывают жгут, изготовленный из трех слоев ленты ФУМ. Применение поливинилхлоридной ленты и других изоляционных лент запрещается.
Прокладка и крепление трубопроводов
7-23. Прокладка трубопроводов должна осуществляться в соответствии с указаниями проекта. В случае вынужденных отступлений от проекта длину открыто прокладываемых трубопроводов во взрывоопасных зонах следует по возможности сократить за счет рационального выбора трасс трубопровода.
Изменение трасс должно быть согласовано с проектной организацией или заказчиком.
7-24. Прокладка транзитных трубопроводов через взрывоопасные зоны запрещается.
7-25. Трубопроводы грунтовых осветительных сетей в зоне класса В-I должны прокладываться по наружным сторонам стен и входить в помещения для присоединения к светильникам.
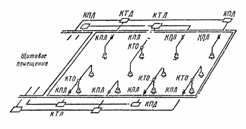
Пример разводки трубопроводов сети освещения в зоне класса В I приведен на рис. 27, а в зонах классов В-Iа и В-II ¾ на рис. 28.
Рис. 27. Вариант выполнения разводки трубопроводов осветительной сети в помещении класса В-I.
Рис. 28. Вариант выполнения разводки трубопроводов осветительной сети в помещениях классов В-Iа и В-II.
7-26. Открыто прокладываемые электротехнические трубопроводы в зонах классов В-I и В-Iа при совместной прокладке с технологическими трубопроводами, несущими легковоспламеняющиеся продукты, рекомендуется располагать:
а) ниже технологических трубопроводов, несущих горючие пары и газы с отношением их плотности к плотности воздуха менее 0,8;
б) выше технологических трубопроводов. несущих горючие пары и газы с отношением их плотности к плотности воздуха более 0,8.
7-27. Открыто прокладываемые электротехнические трубопроводы в зонах классов В-II и В-IIа следует выполнять так, чтобы скопление взрывоопасной пыли на трубах и конструкциях было наименьшим и ее удаление с них не было затруднено. Для этого следует:
а) трубы прокладывать, как правило, в одни ряд с зазорами между ними и от стен не менее 20 мм;
б) крепление труб осуществлять на конструкциях с узкими горизонтальными поверхностями.
7-28. Трубопроводы, прокладываемые открыто в сырых, особо сырых помещениях, а также в помещениях с резким изменением температуры, где в трубах может образовываться конденсат, должны иметь монтажный уклон не менее 3 мм на 1 м, (0,003) к специально устанавливаемым для сбора конденсата водосборным трубкам-водосборникам. При этом крышки ответвительных и протяжных коробок должны быть расположены вертикально или обращены вниз.
7-29. Водосборники допускается выполнять в виде отрезка водогазопроводной трубы длиной 200 — 300 мм, направленной вниз, и они должны соединяться с трубопроводом либо через свободный патрубок коробки, либо через специально установленный водопроводный прямой тройник по ГОСТ 8948-59.
Внизу водосборной трубки на короткой резьбе должна устанавливаться муфта с пробкой по ГОСТ 8963-59 или колпак по ГОСТ 8962-59.
7-30. Установка кранов, вентилей и другой арматуры для спуска конденсата на коробках, а также водосборных трубках не допускается.
7-31. Сток конденсата в трубах к установленным разделительным уплотнениям не допускается.
7-32. Количество соединительных и ответвительных коробок, устанавливаемых внутри взрывоопасных зон, должно быть по возможности минимальным, и их тип должен соответствовать назначению и классу взрывоопасной зоны.(приложение 4).
7-33. Скрытая прокладка трубопроводов заподлицо с поверхностью пола в зонах всех классов не допускается. Трубы должны быть заглублены и защищены слоем цементного раствора толщиной не менее 20 мм.
Установка в полу ответвительных и протяжных коробок не допускается.
7-34. Электротехнические трубопроводы взрывоопасных зон класса В-Iг при совместной прокладке с технологическими трубопроводами на эстакадах следует располагать со стороны, свободной от трубопроводов с легковоспламеняющимися продуктами. При этом должна быть исключена возможность попадания технологических продуктов на электротехнические трубопроводы.
7-35. Трубопроводы, прокладываемые на высоте, меньшей, чем 2,5 м над машинами, механизмами, транспортерами и другим вращающимся или движущимся оборудованием, следует жестко закреплять по всей длине; расстояние между местами крепления для всех диаметров труб должно быть не более 2,5 м. В остальных случаях расстояние между местами крепления открыто проложенных труб как на горизонтальных, так и вертикальных участках не должно превышать величин, указанных ниже:
Условный проход
трубы, мм 20 25 40-80 100
Наибольшие допустимые
расстояния между местами
крепления, м 2,5 3 4 6
7-36. Трубопроводы, прокладываемые открыто в зонах всех классов, должны быть закреплены не далее:
а) 0,8 м от электрических машин и аппаратов;
б) 0,3 м от коробок (допускается крепление с одной стороны);
в) 1 м от светильников, установленных на кронштейнах.
7-37. Крепление трубопроводов во всех взрывоопасных зонах должно осуществляться скобами, хомутами и т.п., например скобами серий СД, СО и СДП (изделия заводов Главэлектромонтажа).
7-38. Крепление трубопроводов без скоб путем непосредственной их приварки к металлическим основаниям (фермам и другим конструкциям), а также крепление к технологическим трубопроводам не допускается.
7-39. В зонах классов В-I, В-Iа, В-II трубопроводы должны крепиться так, чтобы не было смещения их вдоль или поперек несущих конструкций или частей зданий.
7-40. Отдельные трубы, выходящие из взрывоопасных зон, должны заделываться в местах прохода сквозь стены, полы и междуэтажные перекрытия цементным раствором или другими несгораемыми материалами по всей толщине стены или перекрытия так, чтобы газы, пары и пыль через щели и зазоры не проникали в соседние помещения.
7-41. В случае прохода сквозь стену нескольких труб должны применяться стальные патрубки, приваренные к металлическим рамам (рис. 12) с навернутым на один конец каждого патрубка коробки разделительным уплотнением (со стороны взрывоопасного помещения).
После установки рамы проем в стене должен быть плотно заделан кирпичом на цементном растворе.
7-42. Трубы, собранные в пакеты пли блоки в местах прохода сквозь стены, полы и междуэтажные перекрытия, следует располагать в один-два ряда с расстоянием между трубами, обеспечивающим свободный доступ к ним при заделке проходов и выполнении разделительных уплотнений.
7-43. Пересечение трубами температурных и осадочных швов должно выполняться в соответствии с указаниями проекта.
Разделительные уплотнения
7.44. Разделительные уплотнения предназначены для:
а) предотвращения перехода по трубопроводу взрывоопасной смеси из одного помещения в другое;
б) отделения и ограничения объемов взрывозащищенного электрооборудования.
7-45. Разделительные трубопроводы следует устанавливать во взрывоопасных зонах классов В-I, В-Iа и В-II. В остальных классах взрывоопасных зон установка разделительных уплотнений не требуется.
7-46. Установка разделительных уплотнений на трубопроводах не требуется, если:
а) кабели в трубах выходят из взрывоопасных зон в траншею или канал, засыпаемый песком, или наружу, и далее кабели прокладывают без труб. При выходе трубы наружу конец ее должен быть уплотнен во избежание образования конденсата в трубе;
б) труба служит защитой кабеля в местах возможных механических воздействий, и оба конца ее находятся в пределах одного помещения.
7-47. Разделительные уплотнения проводов и кабелей, проложенных в трубах, должны выполняться в коробках КПЛ с внутренним (локальным) объемом, предусматривающим возможность испытания надежности выполнения разделительного уплотнения, или в коробках ФПЗ.
7-48. Использование соединительных и ответвительных коробок для выполнения разделительных уплотнений не допускается.
7-49. Коробки для разделительных уплотнений запрещается использовать для соединений проводов.
















