ВСН 332-74 (558417), страница 3
Текст из файла (страница 3)
а — по кабельным конструкциям с узкими горизонтальными поверхностями; б — по лоткам, установленным на ребро.
Проходы кабелей сквозь стены и перекрытия
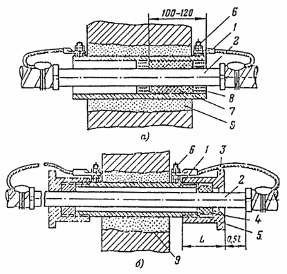
5-37. Проходы одиночных кабелей сквозь внутренние стены и междуэтажные перекрытия в зонах классов В-I, В-Iа и В-II следует выполнять в отрезках водогазопроводных труб, заделанных цементным раствором. Кабель должен быть уплотнен путем заполнения трубы составом УС-65 на расстоянии 100 — 120 мм от конца трубы с набивкой кабельного джута или асбестового шнура (рис. 11, а). Толщина набивки джута или шнура с обеих сторон состава УС-65 должна быть не менее 10 мм. Во взрывоопасных зонах класса В-I уплотнение кабеля следует выполнять с обеих сторон стены, а в зонах классов В-Iа и В-II — со стороны взрывоопасной зоны. При этом отношение диаметра кабеля к внутреннему диаметру трубы должно быть равно или меньше 0,5.
Для надежного уплотнения бронированного кабеля без наружного поливинилхлоридного покрова на участке прохода его сквозь стену следует снять броню, заземляющие проводники припаять к броне с двух сторон прохода и присоединить их к болтам на трубах для создания непрерывности цепи заземления брони.
5-38. Уплотнение кабеля в зонах классов В-I, В-Iа и В-II вместо набивки в трубу уплотнительного состава УС-65 допускается выполнять сальниками (рис. 11, б и приложение 7). При этом в зонах класса В-I сальники должны устанавливаться с обеих сторон прохода.
Рис. II. Проходы кабелей сквозь внутренние стены помещений.
а — с уплотнительным составом УС-65 (рекомендуемый); б — с сальниковым уплотнением (допустимый); L — длина сальника; 1 — отрезок трубы; 2 — кабель; 3 — сальник;
4 — резиновое уплотнительное кольцо; 5 — шайба; 6 — болт заземления; 7 — уплотнительный состав УС-65; 8 — уплотнения из кабельного джута или асбестового шнура; 9 — цементный раствор.
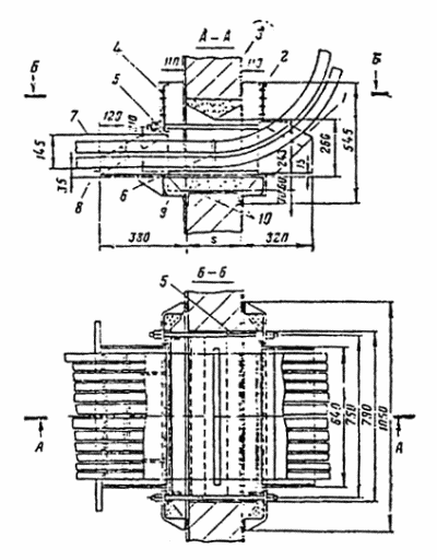
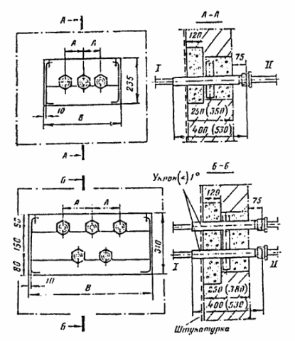
5-39. Проходы группы кабелей (не более 5 шт.) сквозь внутренние стены взрывоопасных зон классов В-I, В-Iа и В-II рекомендуется выполнять аналогично проходам одиночных кабелей в отрезках водогазопроводных труб, предварительно приваренных к металлическим рамам (рис. 12). Типы рам следует выбирать по действующим типовым проектам.
Рис. 12. Установка патрубков для прохода кабелей сквозь внутренние стены помещений (патрубки с болтами для заземления брони кабеля см. на рис. 11).
I — нормальное помещение или помещение с взрывоопасной смесью более низкой категории или группы; II — помещение с взрывоопасной смесью более высокой категории или группы.
| Условный проход | Размеры, мм | Количество | |
| патрубка, мм | А | В | патрубков |
| 20 — 25 | 80 | 270 | До 3 |
| 20 ¾ 25 | 80 | 400 | До 5 |
| 40 — 80 | 150 | 400 | До 2 |
| 40 — 80 | 150 | 600 | До 4 |
| 40 ¾ 80 | 150 | 530 | До 5 |
5-40. Проход группы кабелей (более 5 шт.) сквозь внутренние стены взрывоопасных зон рекомендуется выполнять в специальных стальных коробах, засыпаемых песком, по действующему типовому проекту. Примеры установки коробов приведены на рис. 13 — 15.
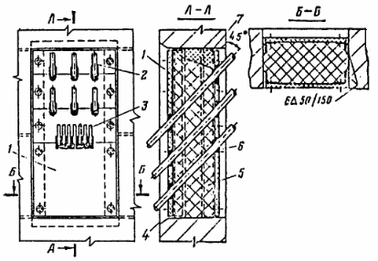
Рис. 13. Короб для прохода кабелей при горизонтальной прокладке сквозь внутренние стены взрывоопасных помещений.
1 — короб; 2 — крышка; 3 ¾ штукатурка; 4 — фасадный щиток; 5—шпилька; 6 — профиль монтажный; 7 — крепление кабелей; 8 — уголки для опоры лотков; 9 — опорные полосы;
10 — опорные уголки.
Рис 14. Короб для прохода кабелей при вертикальной прокладке сквозь внутренние стены взрывоопасных помещении.
1 ¾ короб; 2 ¾ крышка; 3 ¾ штукатурка; 4 ¾ фасадный щиток; 5 — шпилька; 6 — профиль монтажный; 7 ¾ опорные полосы; 8 ¾ опорные уголки.
Рис 15. Короб для прохода кабелей при переходе с горизонтальной на вертикальную трассу сквозь внутренние стены взрывоопасных помещений. Обозначения см. в подписи к рис.13.
5-41. Уплотнения между стеной и корпусами коробов выполняются с помощью резиновых прокладок, предусмотренных в конструкции коробов. Марку резины выбирают по ГОСТ 7338-65 в зависимости от среды помещении, в которой установлены короба.
5-42. Расстояние в свету между прокладываемыми кабелями в коробе должно быть не менее 10 мм. Пересечение кабелей в коробах не допускается. Короба после прокладки в них кабелей должны засыпаться сухим песком с фракцией не более 0,7 мм.
5-43. Проходы кабелей в отрезках водогазопроводных труб сквозь стены и перекрытия во взрывоопасных зонах классов В-Iб и В IIа могут быть выполнены с уплотнением кабелей набивкой в трубу на глубину 120 — 150 мм легкопробиваемых негорючих составов:
а) цемента марок 300 — 500 (ГОСТ 10178-62) с песком (ГОСТ 8736-67) и соотношении 1 : 10;
б) глины с цементом марок 300 ¾ 500 и песком в соотношении 1,5 : 1 : 10;
в) глины с песком в соотношении по объему 1 : 3.
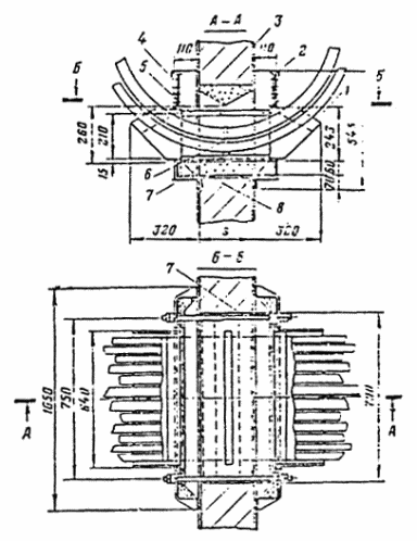
5-44. Проходы кабелей сквозь наружные стены взрывоопасных зон всех классов (при условии, если кабели не попадают под арки и другие полузакрытые пространства) следует выполнять с применением съемных (разборных) плит, устанавливаемых с обеих сторон проема. Пространство между плитами заполняется теплоизоляционным материалом. Проходы кабелей могут быть выполнены как под углом 45° (рис. 16), так и перпендикулярно стене (рис. 17), включая и переход кабелей с эстакад. Конструктивные чертежи проходов кабелей приведены в действующем типовом проекте.
Рис. 16. Проход силовых и контрольных кабелей из взрывоопасных помещений сквозь наружные стены под углом 45°.
1 — плита проходная; 2 — силовые кабели; 3 — контрольные кабели; 4 — наружная сторона стены помещения; 5 — гравий керамзитовый или перлит вспученный (ГОСТ 9759-71, 10832-74); 6 — шнур асбестовый (ГОСТ 1779-72); 7 — вата минеральная (ГОСТ 4640-66).
Рис. 17. Ввод во взрывоопасное помещение кабелей, прокладываемых по эстакадам.
1 — эстакада кабельная; 2 — плита проходная; 3—конструкция; 4 ¾ лоток сварной.
ОТКРЫТАЯ ПРОКЛАДКА КАБЕЛЕЙ ОСВЕТИТЕЛЬНЫХ СЕТЕЙ
6-1. Во взрывоопасных зонах классов В-I и В-II разрешается для осветительных сетей открытая прокладка только бронированных кабелей (например, марки ВБВ для зон класса В-I и марки АВБВ для зон класса В-II). Групповые осветительные сети в зоне класса В-I: должны прокладываться по наружным сторонам стен и вводиться в помещение только для присоединения к светильникам.
При монтаже групповых осветительных сетей в зоне класса В-I следует использовать, минимальное количество коробок.
6-2. В осветительных сетях взрывоопасных зон классов. В-Iа, В-Iб, В-Iг и В-IIа при отсутствии возможности механических и химических воздействий следует применять небронированные кабели только в поливинилхлоридной, полихлоропреновой (наиритовой) или свинцовой оболочках с резиновой и поливинилхлоридной изоляцией жил на номинальное напряжение 660 В, выпускаемые промышленностью следующих марок: ВВГ, ВРГ, НРГ, СРГ — с медными жилами для зон класса В-Iа; АВВГ, АВРГ, АНРГ, АСРГ — с алюминиевыми жилами для зон классов В-Iб, В-Iг, В-IIа.
6-3. Кабели с оболочкой из поливинилхлоридного пластиката (ВВГ, ВРГ, АВВГ, АВРГ) или резины на основе полихлоропренового каучука (НРГ, АНРГ) следует прокладывать в помещениях с химически активной средой, нейтральной по отношению к материалу оболочки кабелей, без дополнительного лакокрасочного покрытия.
6-4. Трех и четырехжильные кабели должны иметь круглое сечение. Двухжильные кабели допускается применять плоские. Применять плоские трех и четырехжильные кабели запрещается. Применение кабелей с изоляцией жил или оболочки из полиэтилена не допускается.
В случае разработки и выпуска промышленностью новых марок небронированных кабелей допускается их применение для осветительных сетей во взрывоопасных зонах классов В-Iа, В-Iб, В-Iг и В-IIа при условии, если материалы изоляции жил и оболочки кабеля, а также их конструкция соответствуют вышеизложенным требованиям.
6-5. .Металлические конструкции и изделия, применяемые при монтаже, должны быть, защищены от воздействия окружающей среды металлическим, гальваническим или лакокрасочным покрытием.
Прокладка и крепление кабелей
6-6. Работы но монтажу осветительных сетей, как правило, должны выполняться в две стадии. В первой стадии выполняются все подготовительные н заготовительные работы: разметка трассы прокладки кабелей и установка закладных деталей, выполнение проходов сквозь стены и междуэтажные перекрытия, обходов технологических трубопроводов и других препятствий закрепление полос и скоб для прокладки кабелей, установка скоб для крепления ответвительных коробок, зарядка светильников, работы по обеспечению непрерывности цепи заземления металлических полос и лотков.
Во второй стадии выполняют: прокладку кабелей с креплением по заготовленным конструкциям и закладным деталям, установку осветительной арматуры с трубными кронштейнами или подвесами, установку осветительных коробок соединения и ответвления в коробках жил кабелей и проводов, установку конструкций защиты кабелей от механических повреждений и их заземление.
6-7. Для прокладки кабелей могут быть использованы полосы монтажные перфорированные шириной 20 ¾ 40 и толщиной 3 ¾ 4 мм (К106, К202), полосы стальные шириной 15 ¾ 30 и толщиной 1,5 ¾ 3 мм, а также лента горячекатаная или холоднокатаная стандартная шириной 20 ¾ 30 и толщиной 1,5 ¾ 3 мм. Для пристрелки строительно-монтажным пистолетом следует использовать полосы толщиной 1,5 ¾ 2 и шириной не менее 18 мм.
6-8. Металлические полосы (лены) следует крепить вплотную к основанию по всей длине кабельной трассы.
Расстояние между точками крепления полос к основанию должно быть не более 1000 мм и от концов и углов поворота — 70 мм (рис. 18).
Рис. 18. Крепление кабелей на металлических полосах и лентах.
1 ¾ полоса; 2 ¾ дюбель-гвоздь; 3 ¾ кабель; 4 ¾ полоса с пряжкой.
6-9. Крепление полос к бетонному основанию следует производить, как правило, дюбелями-гвоздями с помощью строительно-монтажного пистолета.
К кирпичным основаниям рекомендуется закреплять полосы дюбелями-гвоздями путем забивки вручную с использованием оправки ОД-6. В этом случае полосы должны иметь отверстия по диаметру дюбеля. Электросваркой следует крепить полосы к металлическим основаниям и к закладным деталям.
6-10. Пристрелка перфорированных полос типа К106, К202 строительно-монтажным пистолетом не допускается.
6-11. Для крепления кабелей на полосах могут быть применены:
а) полоски К404, К405 с пряжками К407;
б) полоски-пряжки К395 ¾ К398;
в) зубчатые полоски-пряжки У651;
г) поливинилхлоридная перфорированная лента К226 с кнопками К227;
д) полоски шириной до 10 и толщиной 0,3 — 1 мм, из белой жести, оцинкованных или окрашенных стальных листов. Полоски закрепляются либо в замок, либо пряжками К407.
6-12. При прокладке одного — четырех небронированных кабелей непосредственно по строительным основаниям они должны крепиться скобками с одной или двумя лапками К720 — К730, полосками К404 — К405 с пряжками К407, полосками шириной до 105 и толщиной 0,3 — 1 мм.
Скобки К720 — К730 и полоски К404, К405 следует крепить капроновыми дюбелями У656, У658 и У678 с шурупами. Дюбеля и шурупы к ним следует выбирать по табл. 2.
Таблица 2
Дюбеля капроновые
| Тип дюбеля | Размеры шурупа, мм | Наибольшая толщина | Допустимое усилие выдергивания, кН | Размеры дюбеля, мм | |||
| закрепляемой детали, мм | в бетоне | в кирпиче | длина | диаметр | |||
| У650 | 3,5х30 | 7 | 1,2 | 0,99 | 25 | 6 | |
| 5х40 | |||||||
| У658 | 5х40 | 10 | 3,3 | 2,6 | 35 | 8 | |
| У678 | 5х60 | 10 | 3,05 | 2,6 | 45 | 8 | |
6-13. Полоски К404, К405 и полоски из стали толщиной 0,3 — 1 мм на бетонных и кирпичных основаниях рекомендуется крепить дюбелями-гвоздями ручной забивки.
6-14. При горизонтальной прокладке одиночных кабелей по стенам с креплением их скобками с одной лапкой лапки скобок должны располагаться ниже кабеля.
6-15. При вертикальной прокладке одиночных кабелей допускается крепление их скобками с одной лапкой с любой стороны кабеля.
6-16. Два — четыре кабеля могут также крепиться на пластмассовых закрепах У630 зубчатыми полосками-пряжками (рис. 19) или монтажной перфорированной лентой К266 с кнопками К227 (рис. 20). Затягивание зубчатых полосок-пряжек и обрезку концов следует выполнять специальными клещами (рис. 18).
















