ВСН 332-74 (558417), страница 10
Текст из файла (страница 10)
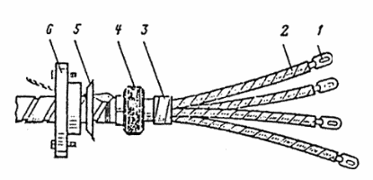
Рис. 57. Заделка жил кабеля с резиновой изоляцией и поливинилхлоридной или резиновой оболочкой.
1 — наконечник; 2 — жилы, обмотанные лентой ПВХ; 3 — бандаж из ленты ПВХ;
4 — резиновое уплотнительное кольцо; 5 ¾ нажимная шайба; 6 ¾ нажимная муфта.
8-77. Жилы в месте их выхода из оболочки обмотать тремя-четырьмя слоями липкой поливинилхлоридной ленты с переходом ленты на оболочку (рис. 57).
9. МОНТАЖ ВЗРЫВОЗАЩИЩЕННЫХ ЭЛЕКТРОДВИГАТЕЛЕЙ СЕРИЙ ВАО И МА36
Общие указания
9-1. Взрывозащищенные электродвигатели поступают с заводов-изготовителей в собранном виде, как правило, совместно с технологическим оборудованием. Каждый электродвигатель должен поставляться с паспортом и инструкцией по монтажу и эксплуатации.
9-2. Производить разборку двигателей при монтаже не требуется, если не обнаружен обрыв обмоток и сопротивление их изоляции по отношению к корпусу (в мегомах), замеренное в холодном состоянии мегомметром на 1000 В (по ГОСТ 183-74), не ниже
где U — номинальное напряжение, B; P — мощность электродвигателя, кВт.
Для электродвигателей на напряжение 6000 В сопротивление изоляции обмоток замеряется мегомметром на 2500 В, при этом сопротивление изоляции должно быть не ниже 6 МОм.
9-3. Если со дня отгрузки электродвигателей с завода-изготовителя прошло не более одного года, то перед монтажом необходимо очистить их поверхность от пыли, проверить затяжку всех винтов и болтов, убедиться в целости оболочки и вводных устройств, проверить свободное вращение ротора от руки.
9-4. Если со дня отгрузки электродвигателя с завода-изготовителя прошло свыше одного года, то необходимо дополнительно осмотреть подшипники со снятием их крышек и проверить наличие смазки, которая должна заполнять 2/3 объема подшипникового гнезда. Для смазки подшипников следует применять смазку, указанную в заводских инструкциях.
9-5. Если сопротивление изоляции обмоток, замеренное мегомметром, ниже нормы, то независимо от срока отгрузки электродвигателя с завода-изготовителя необходимо произвести сушку его обмоток со снятием вводного устройства для циркуляции воздуха.
9-6. После сушки должна быть проверена плотность прилегания сопрягаемых деталей взрывонепроницаемых оболочек. Зазор должен быть не более указанного в заводской инструкции по монтажу и эксплуатации электродвигателя. Если электродвигатель не удовлетворяет этим требованиям, то он не может быть использован как взрывозащищенный и подлежит замене. Типы, электрические характеристики и основные размеры взрывозащищенных электродвигателей серии ВАО и МА36 приведены в приложении 8.
9-7. Электродвигатели указанных серий могут применяться во взрывоопасных зонах всех классов.
9-8. На корпусах электродвигателей имеется табличка с маркировкой одного или следующих исполнений взрывозащиты: В1Г, В2Г, В3Г (В1Т4, В2Т4, В3Т4). Условные обозначения: В — взрывонепроницаемое исполнение; 1, 2, 3 — категория взрывоопасных смесей; Г (Т4) — группа взрывоопасной смеси. Примеры маркировки взрывозащищенного электрооборудования по ПИВРЭ приведены в приложении 13.
При выборе .электродвигателя нужно следить, чтобы среда взрывоопасной зоны по категории и группе соответствовала или была менее опасной, чем категория и группа, указанные в маркировке.
9-9. Единая серия электродвигателей ВАО с маркировкой до В3Г (В3Т4) на напряжение 380/660 В и мощностью до 315 кВт имеет шесть типов вводных устройств К1 — К6.
9-10. Вводные устройства этих электродвигателей по своим размерам допускают непосредственный ввод бронированных кабелей с бумажной изоляцией, кабелей и проводов в трубах с изоляцией жил из резины и поливинилхлоридного пластиката.
9-11. Вводные устройства состоят из корпуса, крышки, кабельной и нажимной муфт. У электродвигателей до 3-го габарита кабельная муфта отсутствует.
9-12. Для уплотнения ввода проводов или кабелей вводные устройства укомплектованы резиновыми уплотнительными кольцами (рис. 58), расположенными в гнездах кабельной муфты вводного устройства, и прижимаются нажимными муфтами. При этом кольца могут быть:
с одним отверстием и кольцевыми надрезами ¾ для уплотнения кабелей различных диаметров (рис. 58, а); на одной стороне кольца имеются выпуклые цифры, указывающие диаметры надрезов;
с четырьмя отверстиями ¾ для уплотнения проводов (рис. 58, б);
с метками центров сверления четырех отверстий для проводов с одной стороны и одного отверстия для кабеля — с другой стороны (рис. 58, в). На рис. 58, г приведен вид сверху кольца для уплотнения проводов.
Рис. 58. Резиновые уплотнительные кольца.
9-13. Нажимные муфты (рис. 59 — 61) имеют трубные резьбы для присоединения водогазопроводных труб или другой соединительной арматуры (ниппели, футорки, сгоны). Размеры трубных резьб для каждого типа вводного устройства приведены в табл. 8 и на рис. 59 — 61.
Таблица 8
Размер трубной резьбы ввода по габаритам электродвигателей серии ВАО
| Габариты электродвигателя | Тип вводного устройства | Размер трубной резьбы ввода, дюйм |
| 0 ¾ 1 | К1 | 3/4 |
| 2 — 3 | К1 | 1 |
| 4 ¾ 6 | К2 | 1 1/2 |
| 7 ¾ 8 | К3 | 2 |
| 9 | К4 | 2 1/2 |
| 315 | К5 | 2 х 2 |
| 355 — 450 | К6 | 2 х 2 1/2 |
Рис. 59. Нажимная муфта вводного устройства К-1.
Рис. 60. Нажимная муфта вводных устройств К-2, К-3, К-5.
Рис. 61. Нажимная муфта вводных устройств К-4, К-6.
9-14. У электродвигателей серии ВАО 0 — 3-го габаритов и с 9-го по 315 — 450-й габарит вводное устройство расположено на правой стороне (рис. 62, 63, 65), если смотреть со стороны рабочего конца вала. Вводные устройства К5 и К6 электродвигателей ВАО 315 — 450 имеют два отверстия для ввода двух кабелей и отличаются лишь диаметрами вводных отверстий (табл. 8). Вводные устройства крепятся к фланцам электродвигателей четырьмя болтами и могут быть повернуты на 90°, т. е. могут быть установлены вводными отверстиями влево, вправо, вверх и вниз.
Рис. 62. Расположение вводного устройства электродвигателей серии ВАО 0 ¾ 3-го габаритов.
Рис. 63. Расположение вводного устройства электродвигателей серии ВАО 9-го габарита.
Рис. 64. Расположение вводного устройства электродвигателей серии ВАО 4 ¾ 8-го габаритов.
9-15. У электродвигателей 4 ¾ 8-го габаритов вводное устройство установлено сверху (рис. 64) и может быть также повернуто на фланце электродвигателя на 90°, что позволяет выполнять ввод питания с любой стороны, кроме рабочего конца вала электродвигателя. Для поворота вводного устройства необходимо отвернуть торцовым ключом четыре болта, крепящих корпус к фланцу электродвигателя.
Рис. 65. Расположение вводного устройства электродвигателей серии ВАО 315 ¾ 450-го габаритов.
При подводе питания сбоку электродвигателя ось вводного устройства должна быть расположено под углом 90° по отношению к оси электродвигателя, а кабельная муфта, имеющая косой разъем с корпусом вводного устройства (рис. 64, а), обращена вводным отверстием вниз под углом 45°, что достигается поворотом кабельной муфты на 180°. При подводе питания со стороны вентиляторов электродвигателя вводное устройство должно быть установлено вдоль оси электродвигателя, при этом кабельная муфта должна быть установлено в горизонтальное положение (рис. 61, б).
9-16. Для поворота вводных устройств электродвигателей всех габаритов необходимо отвернуть торцевым ключом четыре болта, крепящих вводное устройство к фланцу электродвигателя.
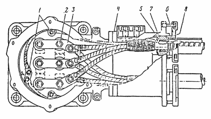
9-17. У электродвигателей 0 — 9-го габаритов внутри корпусов вводных устройств установлено по три силовых проходных контактных зажима и один заземляющий зажим (рис. 66, 67).
Рис. 66. Общий вид смонтированного вводного устройства (без крышки) электродвигателей ВАО до 3-го габарита.
1 ¾ заземляющий зажим; 2 ¾ силовой зажим; 3 ¾ контактная колодка; 4 ¾ корпус;
5 ¾ уплотнительное кольцо; 6 ¾ нажимная муфта.
Рис. 67. Общий вид смонтированного вводного устройства (без крышки) электродвигателей ВАО 4 — 9-го габаритов.
1 — заземляющий зажим; 2 — силовой зажим; 3 — корпус; 4 — кабельная муфта;
5 — уплотнительное кольцо; 6 — нажимная муфта.
9-18. У электродвигателей 315 — 450-го габаритов установлено шесть и два заземляющих зажима (рис. 68). Силовые зажимы соединены попарно контактными пластинами с отверстиями диаметром 10 мм, что позволяет присоединять к одной фазе по одной жиле каждого из двух вводимых кабелей. При этом контактные плоскости наконечников фазных жил одного кабеля должны быть повернуты на 180° по отношению к контактным плоскостям наконечников другого кабеля для присоединения наконечников одной фазы с двух сторон контактной пластины. Электродвигатели выпускаются на рабочее напряжение, указанное в заказе, и контактные пластины не предназначены для пересоединения обмоток со звезды на треугольник как перемычки.
Рис. 68. Общий вид смонтированного вводного устройства электродвигателей ВАО 315 ¾ 450-го габаритов.
1 ¾ заземляющий зажим; 2 ¾ силовой зажим; 3 ¾ контактная пластина; 4 ¾ кабельная муфта; 5 ¾ уплотнительное кольцо; 6 ¾ нажимная муфта; 7 ¾ упорная шайба; 8 ¾ нажимная шайба.
9-19. Вводные устройства электродвигателей серии МА36 4 — 7-го габаритов расположены также с правой стороны электродвигателей и аналогичны соответственно вводным устройствам электродвигателей серии ВАО 9 и 315 — 450-го габаритов.
9-20. При вводе в электродвигатели серии ВАО 315 — 450-го габаритов и МА36 6-го габарита одного кабеля, достаточного по номинальному току электродвигателя, категорически запрещается вынимать из второго вводного отверстия заводскую заглушку, установленную в резиновое уплотнительное кольцо, во избежание нарушения взрывозащитных свойств вводного устройства.
9-21. Вводные устройства электродвигателей серии ВАО с маркировкой В4Г и В4Д с 0-го по 9-й габарит — стальные сварные, расположены сверху электродвигателей и могут быть повернуты на 90°. Для электродвигателей 0 — 5-го габаритов использован один тип вводного устройства (по типу К1). Для электродвигателей 6 — 9-го габаритов вводное устройство соответствует вводному устройству К3.
















