ВСН 332-74 (558417), страница 13
Текст из файла (страница 13)
*R — радиус внутренней окружности при изгибе рукава в кольцо или по дуге.
в) во взрывоопасных зонах остальных классов — гибкими проводами в водогазопроводных трубах с переходом на резиновые напорные рукава (табл. 13) при условии их соответствия окружающей среде (пары бензина, бензола и т. п.).
Таблица 13
Рукава резиновые напорные с текстильным каркасом
по ГОСТ 18698-73
| Диаметр, мм | Диаметр, мм | |||||
| условного прохода трубы | наружный | внутренний резинотканевых рукавов | условного прохода трубы | наружный | внутренний резинотканевых рукавов | |
| 20 | 26,8 34,4 | 25,0 32,0 | 50 | 60,0 70,6 | 65,0 75,0 | |
| 25 | 33,5 43,3 | 32,0 ¾ | 70 | 75,5 87,2 | 75,0 ¾ | |
| 40 | 48,0 57,8 | 50,0 ¾ | 80 | 88,5 99,9 | ||
Примечания: 1. В числителе указан диаметр для трубы, в знаменателе — для муфты.
2. Типы резиновых рукавов должны выбираться по условиям среды, например рукава типа В предназначаются для среды с парами или брызгами воды и растворов неорганических кислот и щелочей с концентрацией до 20 %; рукава типа Б ¾ для среды с парами или брызгами бензина, керосина, нефти и масла; рукава типа Ш ¾ для среды с парами или брызгами слабощелочных или слабокислотных растворов. Пример условного обозначения бензостойких рукавов с внутренним диаметром 25 мм: Рукав Б ¾ 25 Æ ГОСТ 18698-73.
Соединение герметичных металлорукавов с электродвигателями и аппаратами осуществляется ввертыванием в отверстие вводного устройства штуцера, а на трубу ¾ накидной гайки металлорукава.
Соединение резиновых напорных рукавов производится с помощью патрубка из водогазопроводной трубы соответствующего диаметра (рис. 79).
Рис. 79. Соединение резинового напорного рукава с водогазопроводной трубой или с муфтой на трубе.
1 ¾ труба водогазопроводная; 2 ¾ резиновый напорный рукав; 3 ¾ прокладка стальная;
4 ¾ муфта по ГОСТ 8966-59; 5 ¾ хомут стальной толщиной 2 мм; 6 ¾ болт М8х35.
9-41. Применение негерметичных металлорукавов (например, Р3-Ц-Х) во взрывоопасных зонах всех классов не допускается.
Особенности монтажа электродвигателей, продуваемых под избыточным давлением
9-42. При установке взрывозащищенных электродвигателей, продуваемых под избыточным давлением, отдельные секции воздуховодов должны соединяться сварным швом или же иным способом, гарантирующим плотность и прочность их соединения.
9-43. Присоединения кабеля к контактным зажимам электродвигателей должно выполняться во вводных устройствах, обеспечивающих уплотнение ввода кабеля по оболочке.
9-44. У электродвигателей большой мощности (например, типа СТМII-9000-2), имеющих для подвода кабелей фундаментную яму, подсоединение жил кабелей, оконцованных наконечниками, должно выполняться непосредственно к шинам выводов статорных обмоток. При этом болтовые соединения должны иметь приспособления, исключающие самоотвинчивание.
9-45. Место ввода кабелей в фундаментные ямы должно быть уплотнено одним из способов, соответствующих классу взрывоопасной зоны, где установлен электродвигатель.
9-46. Схема защиты должна выполняться так, чтобы при падении избыточного давления электродвигателя ниже 0,1 кПа (10 мм вод. ст.) электродвигатель отключался от сети или включался сигнал (в зависимости от уровня взрывозащиты).
9-47. В схемах управления электродвигателями должны быть предусмотрены блокировки:
а) исключающая пуск электродвигателя без предварительной продувки его чистым воздухом в объеме, равном пятикратному объему корпуса электродвигателя и воздуховодов, для чего должны быть предусмотрены продувочные клапаны;
б) отключающая электродвигатель или включающая сигнализацию (в зависимости от класса взрывоопасных зон) в случае падения избыточного давления ниже 0,1 кПа (10 мм. вод. ст.).
9-48. Избыточное давление должно непрерывно контролироваться сигнализаторами падения давления (например, СПДМ в нормальном исполнении с пределами измерения 0,2 — 1 кПа (20 — 100 мм вод. ст.). Сигнализаторы должны устанавливаться вне взрывоопасного помещения.
10. МОНТАЖ ВЗРЫВОЗАЩИЩЕННЫХ АППАРАТОВ
Общие указания
10-1. Взрывозащищенные аппараты должны устанавливаться во взрывоопасных зонах на стойках К310М или монтажных профилях К108 или К239.
Аппараты к монтажным профилям К108 рекомендуется крепить болтами с закладными гайками.
При установке аппаратов во взрывоопасных зонах класса В-1г они должны быть защищены от воздействия атмосферных осадков.
10-2. Стойки устанавливают на полу и закрепляют анкерными болтами, а монтажные профили закрепляют на стенах капроновыми дюбелями или дюбелями с распорной гайкой; к металлическим основаниям стойки и монтажные профили приваривают.
10-3. На место монтажа аппараты должны поставляться из мастерской электромонтажных заготовок закрепленными на конструкциях (стойках, монтажных профилях).
10-4. Взрывозащищенные аппараты допускают ввод как кабелей, так и проводов в водогазопроводных трубах.
10-5. При выборе кабеля марки ВБВ (АВБВ) для ввода во взрывозащищенные аппараты следует учитывать максимально допустимый диаметр кабеля, который можно ввести в резиновое уплотнительное кольцо вводного устройства. Наружные диаметры кабелей марок ВБВ и АВБВ по сечениям и жильности, а также диаметры вводных отверстий взрывозащищенных аппаратов приведены в табл. 14.
Таблица 14
Максимально допустимые диаметры кабелей марок ВБВ и АВБВ для ввода во взрывозащищенные аппараты
| Электроаппаратура | Диаметр отверстия в сальнике или нажимной муфте, мм | Максимально допустимый наружный диаметр подводимого кабеля, мм | Сечение кабелей, мм2 |
| ПМ-712-25 ПМ-722-25 | 25 | 22,0 | 4х6 |
| ПМ-712-100 ПМ-722-100 | 40 | 38,8 | 3х35+1х16 |
| ПМ-711А-250 ПМ-721А-250 | 70 | 56,4 | 3х120+1х70 |
| КУ-91-В3Г КУ-92-В3Г КУ-93-В3Г | 25 | 22,0 | 4х6 |
| КУВ-1 КУВ-2 КУВ-3 КУВ-11 КУВ-12 КУВ-13 | 28 | 27,6 | 4х10 |
| КУ-700/2 КУ-700/3 КВ-700 | 15 | — | — |
10-6. При подводе к аппаратам открыто проложенных кабелей марок ВБВ (АВБВ) защита их от механических воздействий не требуется независимо от высоты прокладки.
10-7. Кабели других марок, допускаемых к применению во взрывоопасных зонах, как бронированные, так и небронированные, должны быть защищены от возможных механических воздействий на высоте не ниже 2 м от пола или площадки обслуживания аппаратов. Защита может быть осуществлена монтажными профилями, металлическими коробами, швеллерами, трубами и т. п. Допускается разрыв между вводом в аппарат и защитными ограждениями кабеля не более 100 мм.
10-8. При вводе в аппараты кабелей марок ВБВ (АВБВ) кабели должны быть уплотнены по наружной оболочке. Исключение составляют вводные устройства постов управления КУ-700 и конечных выключателей ВК-700, у которых диаметр вводного отверстия меньше диаметра наружной оболочки кабеля.
Во вводные устройства: КУ-700 и ВК-700 следует ввернуть двойной ниппель или стандартный сгон и сальник У57, а резиновое уплотнительное кольцо сальника надеть на внутреннюю оболочку кабеля; заземляющий проводник брони кабеля подключается к болту заземления снаружи поста управления или конечного выключателя. На заземляющий проводник предварительно следует надеть трубку из поливинилхлоридного пластиката. Броня кабелей других марок с поливинилхлоридной или резиновой оболочкой заземляется аналогичным способом.
Монтаж магнитных пускателей ПМ-702-25, ПМ-702-100 и ПМ-701А-250 в исполнении НМБ и НМГ
10-9. Магнитные пускатели серий ПМ-702 и ПМ-701А (приложение 9) устанавливают во взрывоопасных зонах всех классов, кроме зон класса В-I, В-II, на стойках или стенах, не подверженных вибрации или сотрясениям, в строго вертикальном положении.
10-10. На передней стенке бачка пускателя нанесена маркировка взрывозащиты НМБ или НМГ. В пускателях с маркировкой НМБ установлена тепловая защита, а в пускателях НМГ защита отсутствует.
10-11. Вводные устройства пускателей на номинальные токи 100 и 250 А имеют кабельные муфты, предназначенные для размещения в них заделок кабелей с бумажной изоляцией. В эти пускатели кабели с бумажной изоляцией следует вводить только снизу, а кабели с резиновой или поливинилхлоридной изоляцией, а также провода — как сверху, так и снизу.
10-12. Пускатели имеют сверху и снизу по два вводных отверстия, укомплектованных резиновыми кольцами: одно — для уплотнения кабеля, другое — для уплотнения четырех проводов. Верхние отверстия с уложенными в гнезда резиновыми кольцами закрыты штампованными стальными заглушками, а нижние вводы комплектуются нажимными муфтами с трубной резьбой (аналогично вводам в электродвигатели). Размеры трубных вводов пускателей приведены в приложении 9 (табл. П9-1).
10-13. При вводе кабеля в пускатель сверху нажимную муфту нижнего ввода следует поменять местом с заглушкой верхнего ввода. Технология заделок концов кабелей приведена в разд. 8 настоящей Инструкции.
10-14. Пускатели серии ПМ-702 и ПМ-701А допускают ввод проводов цепей управления в трубах или кабелей через два боковых отверстия, снабженные ввертными сальниками с проходными отверстиями 20 мм.
10-15.Перед монтажом пускателя производят его внешний осмотр и ревизию со вскрытием, для чего необходимо:
а) проверить соответствие типа пускателя проекту;
б) распаковать пускатель, очистить его от пыли и консервирующей смазки;
в) вскрыть и промыть бензином все части и бак для масла, протереть чистыми тряпками, не оставляющими волокон, и просушить;
г) проверить свободное перемещение подвижной системы, а также ключей местного управления, установленных на корпусе магнитных пускателей, удалить грязь с поверхностей соприкосновения якоря, включающего электромагнит, и проверить исправность короткозамкнутого витка на нем;
д) проверить состояние поверхности главных и блокировочных контактов. В случае неровностей необходимо зачистить контакты личным напильником (зачистка наждачной или стеклянной бумагой не допускается. При зачистке контактов необходимо предохранять бак от попадания в него металлических опилок;
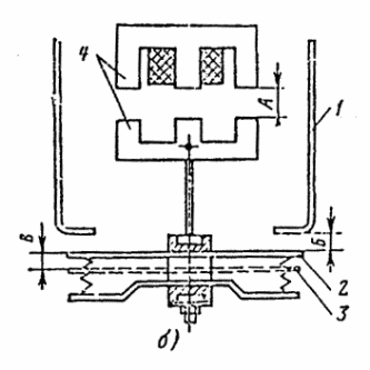
е) проверить контакты во включенном положении. Главные контакты должны иметь линейное касание без просвета по всей ширине; добиваться плоскостного касания контактов не следует. Нажатие главных контактов определяется по показанию динамометра, когда при оттягивании им подвижного контакта в образовавшийся зазор может свободно проходить тонкая бумажная полоса (рис. 80, а).
Рис. 80. Проверка главных контактов и зазоров магнитной системы пускателей серии ПМ-702.
а — проверка нажатия главных контактов с помощью динамометра и бумажной полоски;
б — проверка контролируемых зазоров; 1 — неподвижный контакт; 2 — подвижный контакт в отключенном положении; 3 — провал подвижного контакта после включения; 4 — магнитная система.
Контрольные значения величин нажатий, провалов при включенном положении и зазоров при отключенном положении главных контактов, а также зазоров магнитной системы пускателей серии ПМ-702 должны соответствовать данным табл. 15 (рис. 80,б);
Таблица 15
Величина нажатий, провалов и зазоров контактов пускателей серии ПМ-702 и ПМ-701А
| Номинальный ток, А | Контролируемые величины | |||
| Нажатие главных контактов, Н | Зазор А магнитной системы при отключенном положении, мм | Зазор Б главных контактов при отключенном положении, мм | Провал В подвижного контакта после включения, мм | |
| 25 | 5 ¾ 7 | 10,5 ¾ 11,5 | 6 ¾ 7 | 3,5 ¾ 4,5 |
| 100 | 15 — 19 | 16 ¾ 17 | 10 ¾ 12 | 3 ¾ 5 |
| 250 | 22,5 ¾ 27,5 | 17 — 18 | 14 ¾ 15 | 3,5 ¾ 4,5 |
ж) проверить плотность затяжки всех винтовых (в том числе и контактных) соединений и подтянуть их, проверив также целость пружинных и стопорных шайб, препятствующих самоотвинчиванию;
з) проверить и отрегулировать работу механизма свободного расцепления (воздействие максимально-тепловых расцепителей).
Отключение должно происходить безотказно, без каких-либо заклиниваний, затираний и задержек;
















