ВСН 332-74 (558417), страница 15
Текст из файла (страница 15)
Сборку светильников осуществляют в обратной последовательности.
Монтаж светильников и ввертывание ламп следует производить при отсутствии напряжения в сети;
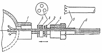
м) на месте монтажа заряженный светильник закрепить на ранее установленный подвес или кронштейн двумя болтами 1 (рис. 87), проложить и закрепить кабель по монтажному профилю 4 до ответвительной коробки;
н) выполнить ввод кабеля в ответвительную коробку У409, соединить и изолировать жилы четырьмя слоями липкой поливинилхлоридной ленты толщиной 0,2 мм.
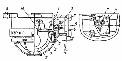
11-9. При подключении проложенного кабеля к светильникам В3Г-100 (рис. 88) и В4А-60 необходимо выполнить следующие операции:
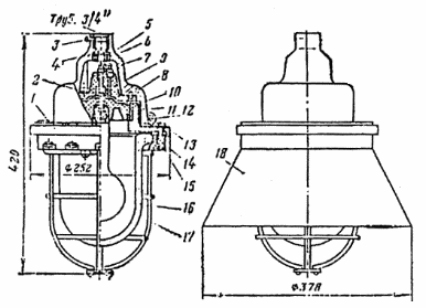
Рис. 88. Взрывозащищенный светильник В3Г-100.
1 ¾ корпус; 2 ¾ крышка вводного устройства; 3 ¾ контактные зажимы; 4 ¾ контакт заземления; 5 ¾ кольцо; 6 ¾ прокладка; 7 ¾ стеклянный колпак; 8 ¾ сетка; 9 ¾ лапы крепления светильника; 10 ¾ патрон.
а) закрепить светильник на подготовленном основании. Эти светильники следует устанавливать на специальной скобе, приведенной в действующем типовом проекте, или непосредственно на основании с закреплением дюбелями;
б) открыть крышку вводного устройства, вывернуть патрубок, вынуть нажимную шайбу и резиновое уплотнительное кольцо;
в) отмерить длину конца кабеля для присоединения жил к контактным зажимам и создания запаса на два-три пересоединения и отрезать излишек;
г) снять с конца кабеля оболочку на таком расстоянии, чтобы она входила внутрь вводной коробки светильника на 10 — 15 мм; снять изоляцию с концов медных жил на длину 12 — 15 мм, а с алюминиевых жил — на длину 25 — 30 мм, достаточную для изгибания кольца. Надеть на оболочку кабеля патрубок, нажимную шайбу и резиновое уплотнительное кольцо;
д) резиновую изоляцию жил кабеля обмотать одним слоем липкой поливинилхлоридной ленты с перекрытием предыдущего витка и с заходом на оболочку кабеля;
е) ввести кабель в светильник, установить резиновое кольцо и нажимную шайбу в гнездо и, ввертывая патрубок, уплотнить кабель;
ж) промаркировать жилы кабеля и подключить их к контактным зажимам. В случае ввода в светильник одного кабеля второй ввод должен быть надежно уплотнен заводской заглушкой и резиновым кольцом;
з) установить крышку вводного устройства на место и закрепить пить ее; проверить щупом зазор между крышкой и коробкой. Зазор не должен превышать величины, указанной в заводской инструкции;
и) вывернуть стопорный винт и специальным ключом (рис. 89) вывернуть крепящие болты, затем специальным ключом (рис. 90) вывернуть кольцо с колпаком, ввернуть исправную лампу и собрать светильник.
Рис. 89. Ключ для стяжных болтов и светильников ВЗГ-100 и В4А-60
Рис. 90. Ключ для снятия кольца с колпаком и сеткой у светильников ВЗГ-100 и В4А-60.
Подключение кабелей в вводных устройствах светильников типов ВЗГ-100 и В4А-60, проходящих шлейфом в следующий светильник, как показано на рис. 91.
Рис. 91. Подключение кабелей в вводных устройствах светильников ВЗГ-100 и В4А-60. (Приведен вариант подсоединения кабеля, проходящего шлейфом в следующий светильник.)
11-10. Ввод кабеля в светильник НОДЛ 1х40, НОГЛ 1х80 и НОГЛ 2х80 (рис. 92) выполняется в следующей последовательности:
Рис. 92. Светильник повышенной надежности против взрыва НОГЛ-80.
1 ¾ крышка вводной коробки светильника; 2 ¾ резиновая уплотнительная прокладка;
3 ¾ нажимная муфта; 4 ¾ шайба стальная.
а) открыть крышку вводного устройства светильников 1, снять нажимный фланец 3, вынуть стальную шайбу 4 и резиновое уплотнительное кольцо 2 из гнезда;
б) отмерить длину кабеля, необходимую для присоединения к контактным зажимам внутри вводного устройства и создания запаса на два-три пересоединения, и отрезать излишек;
в) снять с конца кабеля оболочку на таком расстоянии, чтобы оболочка входила внутрь вводного устройства на 10 — 12 мм, снять изоляцию с концов жил на длину 25 — 30 мм, достаточную для изгибания кольца;
г) надеть на оболочку кабеля нажимную муфту, стальную нажимную шайбу и резиновое уплотнительное кольцо;
д) ввести кабель в светильник, установить резиновое уплотнительное кольцо и стальную шайбу во вводное отверстие. Закрепить двумя болтами нажимную муфту и затягиванием болтов уплотнить резиновым кольцом место ввода кабеля.
11-11. При вводе проводов в светильники В3Г-200А (рис. 93), В3Г/В4А-200 (рис. 94), Н4Б-300 (рис. 95), не имеющие специальных вводных устройств с открывающейся крышкой, зарядку светильников, как правило, следует производить в МЭЗ проводами с медными жилами сечением 1,5 мм2 марки ПРКС с термостойкой изоляцией на основе кремнийорганического каучука. Провода и кабели с резиновой и поливинилхлоридной изоляцией жил из-за недостаточной теплостойкости применять для зарядки этих светильников не допускается.
Рис. 93. Светильник взрывонепроницаемого исполнения В3Г-200А.
1 ¾ корпус 4; 2 ¾ винт для заземления; 3 ¾ стопорный винт; 4 ¾ уплотнительное резиновое кольцо сальника; 5 ¾ стальная шайба; 6 ¾ гайка сальника; 7 ¾ крышка; 8 ¾ винт для крепления патрона; 9 ¾ патрон; 10 ¾ стопорный винт; 11 ¾ кольцо; 12 ¾ защитный стеклянный колпак; 13 ¾ защитная сетка; 14 ¾ отражатель; 15 ¾ тепловой экран;
16 ¾ фарфоровое кольцо; 17 ¾ скоба для крепления отражателя.
Рис. 94. Светильник взрывонепроницаемый В3Г/В4А-200.
1 ¾ корпус; 2 ¾ винт для заземления; 3 ¾ стопорный винт; 4 ¾ уплотнительное резиновое кольцо сальника; 5 ¾ стальная шайба; 6 ¾ гайка сальника; 7 ¾ крышка; 8 ¾ винт для крепления контактной панели; 9 ¾ контактная панель; 10 ¾ зажимное кольцо; 11 ¾ панель патрона; 12 ¾ стопорный винт; 13 ¾ стягивающий болт; 14 ¾ прокладка трехслойная;
15 ¾ кольцо; 16 ¾ защитный стеклянный колпак; 17 ¾ защитная сетка; 18 ¾ отражатель.
Рис. 95. Светильник повышенной надежности против взрыва типа Н4Б-300.
1 ¾ гайка в крышке; 2 ¾ крышка светильника; 3 ¾ гайка сальника; 4 ¾ резиновое уплотнительное кольцо; 5 ¾ стопорный винт; 6 ¾ патрон.
11-12. Зарядка светильников должна выполняться тремя проводами длиной до ближайшей ответвительной коробки (два для питания лампы и один для заземления светильника) с использованием трубных кронштейнов или подвесов. Исполнение трубного кронштейна или подвеса и способы их крепления на основании следует выбирать в зависимости от условий установки светильников по действующему типовому проекту.
11-13. Длина концов проводов, заготавливаемых для зарядки светильников, должна быть такой, чтобы из свободного конца трубного кронштейна или подвеса они выступали не менее чем на 200 мм, а внутри светильника были оставлены концы длиной 150 мм (для светильников В3Г/В4А-200) или 80 мм (для светильников В3Г-200А и Н4Б-300).
11-14. При зарядке взрывозащищенных светильников типов В3Г/В4А-200, В3Г-200А и Н4Б-300 необходимо выполнить следующие операции:
а) ослабить специальным ключом (рис. 96) стопорный винт с трехгранной головкой и вывернуть корпус. У светильника Н4Б-300 отвернуть торцевым ключом (рис. 97) шесть гаек стяжных винтов, снять кольцо с защитным стеклянным колпаком, уплотняющей прокладкой и защитной сеткой;
Рис. 96. Ключ для монтажа светильников В3Г-200А и В3Г/В4А-200.
1 ¾ для стопорного винта с трехгранной головкой; 2 ¾ для сальниковых гаек.
Рис. 97. Ключ для светильника Н4Б-300.
1 ¾ для сальниковых гаек; 2 ¾ для гаек стяжных винтов.
б) отвинтить винты, крепящие патрон с блокировочным устройством к крышке светильника, и снять его. У светильника В3Г-200А предварительно отвернуть фарфоровое кольцо на патроне и снять тепловой экран. У светильника В3Г/В4А-200 снять контактную панель. Протереть контактные зажимы в случае их загрязнения тряпкой смоченной бензином;
в) отвернуть специальным ключом (рис. 96) гайку сальника, вынуть шайбу и резиновое уплотнительное кольцо;
г) навернуть крышку светильника с подмоткой пенькового волокна, пропитанного суриком, разведенным на олифе, или ленты ФУМ на короткую резьбу трубного подвеса или кронштейна до конца резьбы, закрепить крышку на трубе стопорным винтом и затянуть три провода;
д) ввести концы проводов в отверстия резинового уплотнительного кольца с помощью специального приспособления треста ЦЭМ (рис. 98) и держателя кольца, закрепляемого на верстаке (рис. 99), причем каждый провод должен плотно заходить в отверстие без применения какой-либо подмотки. На проводах в месте установки резинового уплотнительного кольца (на расстоянии 150 мм от концов проводов у светильника В3Г/В4А-200 и 80 мм у светильников В3Г-200А и Н4Б-300) снять подвижную оплетку на участке, равном толщине прокладки, а края оплетки закрепить бандажом из ниток;
Рис. 98. Приспособление для ввода проводов в отверстия резинового кольца взрывозащищенных светильников и ответвительных коробок У409.
Рис. 99. Держатель резинового кольца.
е) ввести резиновое уплотнительное кольцо с проводами и стальную шайбу в гнездо вводного отверстия крышки светильника. Завертывая до отказа специальным ключом сальниковую гайку, уплотнить провода резиновым кольцом;
ж) снять изоляцию с концов проводов, подключаемых к светильнику, на длину 20 мм, оголенные жилы загнуть в кольцо под винт М4 и облудить припоем ПОС-40. Присоединить провода к контактным зажимам патрона или контактной панели и к заземляющему винту. Концы всех проводов промаркировать;
з) установить патрон или контактную панель на место и закрепить; в светильнике В3Г-200А установить тепловой экран и фарфоровое кольцо на патрон и ввернуть исправную лампу. У светильника В3Г/В4А-200 лампа ввертывается в панель патрона. Панель следует вывернуть специальным ключом из корпуса вместе с зажимным кольцом; после установки лампы панель патрона ввернуть в корпус светильника;
и) навернуть до отказа корпус светильника на крышку и застопорить винтом с трехгранной. головкой. У светильника Н4Б-300 соединить нижнюю часть светильника с верхней, закрепив кольцо, стеклянный колпак, уплотняющую прокладку и защитную сетку на корпусе шестью гайками стяжных винтов.
11-15. Подготовленные в МЭЗ светильники следует устанавливать на строительных основаниях (стенах, колоннах, потолках) с жестким креплением подвесов или кронштейнов.
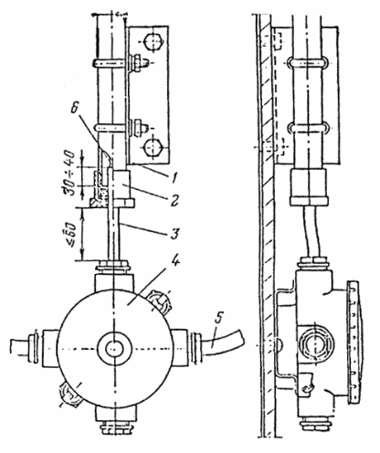
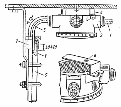
11-16. Расстояние от ответвительной коробки У409 до трубного кронштейна или подвеса должно быть не более 60 мм, а все три провода на этом участке должны быть заключены в одну общую трубку из поливинилхлоридного пластиката с внутренним диаметром 8 — 10 мм. Одни конец трубки 5 надрезают (рис. 100), закрепляют между шайбой и резиновым уплотнительным кольцом сальника ответвительной коробки У409, а другой входит на 30 — 40 мм в трубный кронштейн или подвес. Во взрывоопасных зонах класса В-IIа на конце трубного кронштейна или подвеса устанавливают трубный сальник (У57/I ¾ У57/III).
Рис. 100. Ввод проводов ПРКС в коробку У409.
1 ¾ сальниковый рожок; 2 ¾ металлическая шайба; 3 ¾ резиновое уплотнительное кольцо;
4 ¾ гайка; 5 ¾ трубка из поливинилхлоридного пластиката; 6 ¾ провода ПРКС.
11-17. Уплотнение ввода проводов в светильнике рекомендуется в МЭЗ выборочно испытать (через свободный конец кронштейна или подвеса) сжатым воздухом с избыточным давлением 50 кПа (0,5 кгс/см2).
Испытание проводится в течение 3 мин, при этом давление не должно уменьшаться более чем на 50 %.
11-18. Ввод проводов марки ПРКС в коробку У409 показан на рис. 100 — 102.
Рис. 101. Узел ввода провода ПРКС в коробку У409 от светильника с трубным кронштейном.
1 ¾ трубный кронштейн; 2 ¾ сальник трубный (для зон класса В-IIа); 3 ¾ трубка из поливинилхлоридного пластиката; 4 ¾ ответвительная коробка У409; 5 ¾ кабель; 6 ¾ провод ПРКС.
Рис. 102. Узел ввода провода ПРКС в коробку У409 от светильника с трубным подвесом.
1 ¾ кабель; 2 ¾ коробка У409; 3 ¾ трубка из поливинилхлоридного пластиката; 4 ¾ провод ПРКС; 5 ¾ трубный подвес; 6 ¾ скоба безметизного крепления коробки или лоток К61;
















