ВСН 332-74 (558417), страница 16
Текст из файла (страница 16)
7 ¾ сальник трубный (для зон класса В-IIа); 8 ¾ отверстие под дюбель ручной забивки (2 шт.).
Монтаж светильников при прокладке проводов в трубах
11-19. Как правило, светильники должны поступать на монтаж со спусками и предварительно заряженными в МЭЗ.
Длина проводов определяется расстоянием от светильника до ближайшей ответвительной коробки плюс 100 мм, необходимых для соединения в коробке.
11-20. Светильник, устанавливаемый последним в линии, должен быть укомплектован стандартным сгоном. Длина заряженных проводов должна соответствовать длине участка трубы от последнего светильника до ответвительной коробки предпоследнего светильника.
Длина трубы для спуска (рис. 103) определяются по формуле:
l = h — h1 — С,
где С = А + а ¾ 2l1; 1 — длина трубы; h — отметка оси трубопровода (дается на чертеже); h1— отметка подвеса светильника (дается на чертеже); А — высота светильника; а — расстояние от оси коробки до конца патрубка (67 мм), мм; l1 — длина короткой резьбы (для труб 3/4" — 16 мм).
Значения С приведены ниже:
Тип светильника В3Г-200А В3Г-200АМ В3Г/В4А-200
Значения С, мм 425 550 480
Тип светильника 3Г/В4А-200М Н4Б-300 Н4БII-150
Значения С, мм 615 385 435
Рис. 103. Прямой спуск к светильнику.
11-21. Длина трубы для последнего в линии светильника, имеющего горизонтальную и вертикальную составляющие, определяется по формуле (рис. 104): L = h ¾ h1 + l2 ¾ (0,43R + С), где L — длина трубы (с учетом длины сгона); l2 ¾ горизонтальная составляющая от центра коробки до оси спуска к светильнику; 0,43R ¾ усадка трубы при изгибе угла радиусом; h—вертикальная отметка оси трубопровода; h1 — вертикальная отметка подвеса светильника.
Рис. 104. Спуск к конечному светильнику с горизонтальной и вертикальной составляющими.
1 ¾ разъемное соединение.
11-22. После зарядки светильников необходимо выполнить монтаж в следующем порядке:
а) ввести концы проводов, выходящих из отрезка трубы (спуска), ввернутой в светильник, в коробку смонтированной групповой осветительной сети; ввернуть спуск со светильником в патрубок коробки до упора;
б) провода заряженного последним в линии светильника должны быть затянуты в трубу до ответвительной коробки предпоследнего светильника. После затягивания проводов в трубу стандартный сгон следует соединить с трубой в разъемном соединении, без вращения светильника;
в) соединить опрессовкой, сваркой или пайкой выведенные провода от светильника в коробке в соответствии с маркировкой проводов сети. Места соединения изолировать четырьмя слоями липкой поливинилхлоридной ленты толщиной не более 0,2 мм. Допускается применять лакоткань с последующим наложением на нее прорезиненной ленты и покрытием изоляционным лаком или эмалью.
12. МОНТАЖ ВЗРЫВОБЕЗОПАСНЫХ КРАНОВ
Общие указания
12-1. Промышленность выпускает взрывобезопасные краны:
а) подвесные однобалочные, одно- и двухпролетные с подвешенной взрывозащищенной талью. Управление краном кнопочное с пола;
б) мостовые двухбалочные однопролетные. Управление краном кнопочное как с пола, так и из кабины (рис. 105).
Рис. 105. Мостовой взрывобезопасный кран (управление из кабины).
1 ¾ кабина управления; 2 ¾ мост; 3 ¾ кабина обслуживания токоподвода; 4 ¾ токоподвод тележки; 5 ¾ станция управления; 6 ¾ электродвигатели передвижения моста.
В зависимости от назначения мостовой кран может иметь открытую или закрытую кабину.
12-2. На вертикальной стенке пролетной балки крана и на боковой панели рамы грузовой тележки (на тали — для подвесных кранов) прикреплены фирменные таблички завода-изготовителя с маркировкой взрывозащиты крана, а также табличка, заполненная согласно правилам Госгортехнадзора.
12-3. С краном поставляются:
а) паспорт крана, неотъемлемой частью которого являются паспорта электродвигателей и аппаратов;
б) инструкция по монтажу и эксплуатации крана, включая электрическую часть;
в) чертеж общего вида крана;
г) комплект кареток цехового токоподвода (в количестве, оговоренном в заказе).
12-4. Техническая документация электрической части крана включает в себя:
а) электрические схемы — принципиальную и монтажную;
б) ведомость комплектования электрооборудования;
в) чертежи электромонтажных узлов;
г) чертежи размещения электрооборудования на кране и разводки кабелей и проводов.
12-5. Питание электродвигателей тележки крана (тали ¾ для подвесных кранов) осуществляется гибким кабелем, подвешенным петлями к подвижным кареткам, перемещающимся по натянутой вдоль пролетной балки струне. Перемещение кареток осуществляется бугелем, закрепленным на тележке (тали).
12-6. Цепи управления механизмами кранов, как правило, выполнены искробезопасными, что позволяет применять кнопочные посты и конечные выключатели общего назначения.
Искробезопасность цепей управления достигается применением специального электронного устройства (искробезопасного блока), выполненного на транзисторах и диодах.
12-7. Кнопочные посты, конечные выключатели и коробки с наборными зажимами цепей управления имеют прикрепленные к ним таблички с надписью “Искробезопасные цепи”.
12-8. Монтаж электрической части кранов осуществляется в два этапа:
а)на заводе-изготовителе;
б) на месте установки крана.
Работы, выполняемые на заводе-изготовителе
Мостовые краны
12-9. На рабочей площадке пролетной балки приваривают элементы крепления электрооборудования и кабелей, включая кабель цехового токоподвода; устанавливают станции управления, электродвигатели механизмов передвижения моста, конечные выключатели (при установке в пролете двух и более кранов), соединительные коробки силовых цепей и цепей управления.
12-10. На опорных концевых балках устанавливают стойки для натягивания струны токоподвода к тележке, соединительные переходные коробки для перехода кабеля, прокладываемого по мосту, на гибкий кабель токоподвода к тележке.
12-11. На тележке крана устанавливают электродвигатели подъема и перемещения тележки, конечный выключатель подъема, соединительные переходные коробки.
12-12. На рабочей площадке пролетной балки, концевых балках и тележке прокладывают и закрепляют кабели силовых цепей и цепей управления.
12-13. Для силовых цепей, прокладываемых по мосту крана, как правило, следует применять четырехжильные кабели марки ВБВ, при этом защиты кабелей от механических воздействий не требуется.
12-14. Для цепей управления применяются кабели марок ВБВ, КРПТ или провода марки ПВ, проложенные в металлорукавах типа Р3-Ц-Х. К кнопочным постам управления подводят кабель марки РПШ и подобные ему.
12-15. Проложенные кабели вводят во вводные устройства станций управления, электродвигателей и соединительные коробки. Концы введенных кабелей и проводов цепей управления маркируют и подсоединяют согласно схеме завода.
12-16. На стойках, установленных на опорных концевых балках, натягивают струну, подвешивают и закрепляют на каретках гибкие кабели токоподвода тележки и конечного выключателя подъема. Кабели подсоединяют к конечному выключателю и в соединительных коробках на мосту и тележке.
Подвесные краны
12-17. На пролетной балке устанавливают станцию управления и конечный выключатель; выполняют прокладку, крепление и подсоединение кабелей к электрооборудованию.
12-18. На кронштейнах пролетной балки натягивают струну, подвешивают на каретках гибкие кабели токоподвода тали.
12-19. На полностью смонтированных мостовых и подвесных кранах проверяют правильность собранной схемы путем опробования всех механизмов крана вхолостую.
12-20. Мост крана с механизмом передвижения, тележка и кабина управления поставляются в неупакованном виде.
12-21. Электрооборудование установленное и проверенное на заводе-изготовителе на отдельных узлах крана (тележке, рабочей площадке пролетной балки), упаковывают в ящики на узлах крана.
12-22. Концы кабелей силовых цепей и цепей управления в местах разъемов транспортабельных узлов крана отсоединяют с одной стороны в соединительных коробках, расположенных вблизи мест разъема. Отсоединенные концы кабелей скручивают в бухты, закрепляют и защищают от возможных механических воздействий при транспортировке.
12-23. Струну токоподвода тележки в сборе с каретками и гибким кабелем, кнопочные станции управления упаковывают в отдельные ящики.
12-24. Мостовые краны разбирают на транспортабельные участии. На подвесных кранах снимают и отдельно упаковывают ходовые тележки с установленными на них электродвигателями передвижения моста и тали с подключенной кнопочной станцией.
Работы, выполняемые на месте монтажа
12-25. После сборки транспортабельных узлов крана (механомонтаж) прокладывают и закрепляют на мосту концы кабелей на участках соединений отдельных узлов крана и подсоединяют в соединительных коробках.
12-26. После закрепления кабины на кране прокладывают кабели цепей управления между кабиной и мостом крана и присоединяют их к коробке с наборными зажимами, установленной на крыше кабины, по маркировке завода-изготовителя.
На кранах, управляемых с пола, производят подсоединение подвесных кнопочных станций со стороны моста крана.
12-27. При монтаже токоподвода тележки (тали) необходимо выполнить следующие работы:
а) концы струны токоподвода с каретками и кабелем закрепить на левой и правой стойках (кронштейнов у подвесных кранов), прикрепленных к концевым балкам крана;
б) натянуть струну с таким расчетом, чтобы ее провес был в пределах 1 — 1,5 % пролета крана;
в) укрепить бугель на тележке (тали). Бугель должен поддерживать своим роликом струну;
г) после монтажа токопровода присоединить концы кабелей по маркировке завода-изготовителя.
12-28. Токоподвод к мосту крана выполняют гибким шланговым кабелем. Марки кабелей для различных классов взрывоопасных зон должны выбираться по данным приложения 2.
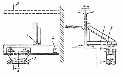
12-29. Кабель подвешивают и укрепляют на каретках 5 (рис. 106), движущихся по двутавровой балке вместе с мостом крана. Двутавровую балку 4 закрепляют к подкрановой балке на кронштейнах 1. Для крепления кабелей в подвижных каретках применяют разъемные клицы (клицы выбирают в зависимости от количества кабелей). Деревянные клицы следует пропитать горячим льняным маслом. Клицы в накладке зажимают болтами.
Рис. 106. Крепление двутавровой балки к подкрановому пути.
1 ¾ кронштейн; 2 ¾ скоба; 3 ¾ болт; 4 ¾ двутавр для кареток; 5 ¾ каретка; 6 ¾ упор;
7 ¾ трос.
12-30. Для предотвращения обрыва кабеля совместно с ним в каретках следует закрепить специальный трос 7 диаметром не менее 4,8 мм. Длина троса должна быть несколько меньше длины кабеля, чтобы трос а не кабель воспринимал растягивающее усилие.
12-31. При большом числе кабелей (три — пять) в гибком токоподводе клицы скрепляют между собой так, чтобы образовался плоский пакет кабелей.
В середине пролета на пакет (между двумя каретками) рекомендуется надеть клицу, соединив ее тросом с каретками в единую цепочку.
12-32. Длина кабелей между каждой парой кареток не должна превышать 6 м.
12-33. При максимальном сближении кареток нижний конец свисающего кабеля должен находиться на расстоянии не менее 2,5 м от пола и 2 м от пола в малодоступных местах. Между кабелем и кабиной обслуживания должно быть расстояние не менее 100 мм.
12-34. Питающий кабель прикрепляют к бугелю 7 (рис. 107), прокладывают по мосту крана и подсоединяют к вводной соединительной коробке или во вводном блоке станции управления.
Рис. 107. Гибкий трубопровод к крану.
1 ¾ труба; 2 ¾ гибкий кабель; 3 ¾ крепление кабеля на стене; 4 ¾ двутавр для кареток;
















