metodichka (538599), страница 5
Текст из файла (страница 5)
4. Произвести настройку измерительной системы:
А. Установить на приборе максимальное значение цены деления шкалы.
Б. Подвести шунт измерительного датчика до момента сосания поверхности кольца.
В. Ослабить фиксирующий винт на кронштейне датчика.
Г. Вращая регулировочное кольцо установить стрелку прибора в центр на«0».
Д. Включить более точный диапазон измерения.
Е. Повторять, выполнив пунктов Г и Д до тех пор пока не будет произведена настройка в последнем (самом точном) диапазоне.
Ж. По окончанию регулировки затянуть фиксирующий винт и отрегулировать положение стрелки прибора на «0» с помощью ручки на панели передней панели прибора.
5. Поворачивая кольцо на 1 сектор производить измерение профиля поверхности кольца. Все измерения выполняются на приделе минимального значения цены деления измерительной шкалы.
6. Измерения производятся при повороте кольца сначала в одном направлении, потом в обратном.
7. Результаты измерений занести в таблицу 1.
8. По данным таблицы 1 построить график зависимости отклонения профиля ∆L от номера сектора.
Таблица 1
| Номер измерения | 1 | 2 | 3 | 4 | 5 | 6 | 7 | 8 | 9 | 10 | 11 | 12 | 13 | 14 | 15 |
| , мкм | |||||||||||||||
| , мкм |
ЛАБОРАТОРНАЯ РАБОТА №3
«ИСЛЕДОВАНИЕ СЕЛЬСИНОВ»
1. ВЕДЕНИЕ
При управлении производственными процессами часто возникает необходимость передачи на расстояния угловых перемещений без механических связей. Для этих целей используется сельсинная система передачи угла, которая позволяет передавать неограниченный диапазон рабочих углов на значительные расстояния.
Основными элементами дистанционной передачи угла является датчик, воспринимающий передаваемый угол, линия связи и приёмник, воспроизводящий передаваемой угол. В сельсинной системе дистанционной передачи угла используется принцип перераспределения переменных Э.Д.С., индуктируемых в трёхфазных обмотках сельсина.
2. КОНСТРУКТИВНЫЕ ОСОБЕННОСТИ И ПРИНЦИП ДЕЙСТВИЯ СЕЛЬСИНОВ
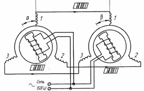
Сельсины представляют собой индукционные электрические машины переменного тока либо с трехфазной обмоткой на роторе и однофазной – на статоре, либо с трёхфазной обмоткой на статоре и однофазной – на роторе. Фазы трёхфазной обмотки сдвинуты относительно друг друга на 120° и соединены по схеме “звезда”.
По конструктивному исполнению сельсины делятся на контактные и бесконтактные. В контактных сельсинах подвод питания осуществляется через контактные кольца и щётки. В бесконтактных сельсинах вращающийся электрический контакт заменен вращающимся "магнитным контактом". Трёхфазная обмотка располагается на статоре. Ротор (Рисунок 1) разделён на две магнитно – изолированные части, образующие два полюса.
В каждую из половин ротора через торцовые зазоры проходит переменный магнитной поток, создаваемый двумя неподвижными обмотками возбуждения, вынесенными вне ротора.
Рисунок 1
На Рисунке 1 показан путь магнитного потока возбуждения. По сравнению с контактными бесконтактные сельсины обладают меньшим трением, большей надёжностью, но имеют меньший КПД.
Сельсины всегда работают в паре: датчик – приёмник. Если взять два одинаковых в конструктивном отношении сельсина и подключить их однофазные роторные обмотки к сети однофазного переменного напряжения, а вторичные трёхфазные статорные обмотки, расположенные в пространстве под углом 120°и соединенные по схеме "звезда", соединить между собой, то они окажутся включенными навстречу друг другу. Получится простейшая система синхронной передачи угла. Такой режим включения сельсинов называется индикаторным.
Однофазный переменный ток создает в магнитной цепи каждого сельсина переменный магнитный поток, который индуктирует во вторичных обмотках э. д. с. переменного тока, имеющие частоту питающего тока. При одинаковых положениях роторов датчика и приемника относительно осей фаз трёхфазной обмотки вследствие того, что угол рассогласования θ между роторами равен нулю, т.е. α - β = θ =0 (α и β соответственно углы поворотов роторов сельсин – датчика и сельсин - приёмника), э.д.с. в соответствующих фазах датчика и приёмника равны и направлены друг другу навстречу (разность между ними равна нулю), поэтому во вторичной цепи уравнительный ток отсутствует.
При повороте ротора датчика на некоторый угол, э.д.с. в соответствующих обмотках датчика и приёмника окажутся различными по величине, т.е. роторы занимают уже неодинаковые положения (т.е. θ ≠ U) по отношению к осям обмоток статора. В этом случае, э.д.с. в соответствующих обмотках не будут равны, вследствие чего возникнет разность э.д.с. и в их цепях потекут уравнительные токи, потоки которых взаимодействуя с потоками однофазной обмотки образуют синхронизирующие моменты, стремящиеся согласовать положение роторов сельсина-датчика и сельсина- приёмника.
Рисунок 2
Э.д.с., наводимые в фазовых обмотках статора датчика, пропорциональны косинусам углов между их осями и осью обмотки ротора:
Е1g = Еmax∙ сosα
Е2g = Еmax∙ сos(α+120º)
Е3g = Еmax∙ сos(α+240º),
где Е1g, Е2g, Е3g – э.д.с. в фазовых обмотках статора сельсин – датчика;
Еmax – максимальное значение э.д.с. в фазовой обмотке (при совпадении её оси с осью ротора).
Токи в фазовых обмотках обоих сельсинов могут быть записаны в виде:
где Z – суммарное сопротивление фазовой обмотки датчика и приёмника.
В результате магнитодвижущих сил м.д.с. (I1, I2ω, I3ω), создаваемых статорными обмотками приёмника появляется суммарный магнитный поток.
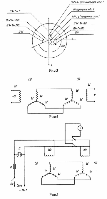
График м.д.с. дан на Рисунке 3
Суммарная м.д.с. статора приёмника имеет величину:
и расположена в пространстве под углом, тангенс которого равен отношению:
Значит, поле в расточке статора приемника оказывается постоянным по амплитуде и ориентировано так же, как ротор сельсин – датчика. Так как ротор сельсин – приёмника питается от той же сети, что и ротор датчика, то он представляет собой электромагнит переменного тока и поэтому будет стремиться занять положение, при котором поле, создаваемое ротором приемника, совпадает с направлением суммарного поля в статоре датчика. Поскольку это поле повторяет положение ротора датчика то, следовательно, ротор сельсин – приёмника всегда стремится занять положение, согласованное с положением ротора датчика.
Все приведенное рассуждения о воздействии сельсин – датчика на сельсин –приемник будут так же справедливы, если мы будем рассматривать зависимость положения ротора датчика от ротора приёмника. Это значит, что сельсин – приёмник и сельсин – приёмник обратимы.
Рисунок 4
Рисунок 3
Рисунок 5
Уравнительные токи в соответствующих вторичных обмотках датчика и приёмника противоположны, и следовательно, синхронизирующие моменты на валу датчика и приёмника имеют противоположные направления. Если ротор сельсин – приёмника не заторможен, то возникающий момент стремится поворачивать его до тех пор, пока не займёт такое же угловое положение относительно оси трёхфазной обмотки статора, как и у ротора датчика.
Статически синхронизирующий момент сельсинов, включённых в индикаторном режиме, выражается формулой
МСТ = Mmax∙ sinθ ,
где Mmax – максимальное значение синхронизирующего момента, при θ = 90º.
Показатели, характеризующие работу синхронной передачи угла являются:
а) удельный синхронизирующий момент
б) добротность γ, оценивающая точность работы системы
где MТр – момент трения на оси ротора сельсина – приёмника
в) обратная величина добротности – статическая ошибка θст
θ СТ является чувствительностью дистанционной передачи и показывает начальный угол рассогласования, при которой возникает синхронизирующий момент, достаточный для преодоления трения на оси сельсина – приёмника. В зависимости от величины ошибки θСТ сельсины делятся на 3 класса (Таб. №1).
Таблица.1
| Класс точности | Максимально возможная средняя ошибка |
| 1 | ± 0,75° |
| 2 | ± 1,5° |
| 3 | ± 2,5° |
Если на оси приёмника требуется преодолеть значительный момент сопротивления или обеспечить высокую точность, то сельсинная пара дополняется усилителями к устройство в целом называется следящей системой. В этом случае сельсины включаются по схеме Рисунок 4. Такой режим работы сельсинов называется трансформаторным.
К однофазной обмотке сельсин – датчик (СД) подведено переменное напряжение U. В трехфазных обмотках замкнутых контуров потекут токи, определяемые формулами (2). Благодаря этому в однофазной обмотка сельсина – приёмника (СП) индуктируется э.д.с., амплитуда которой зависит от величины тока и взаимного расположения статорной и роторной обмоток. Форма этой зависимости определяется уравнением: e = К∙U∙сosθ, где К = Сonst, наводимая в однофазной обмотке СП э.д.с. зависит от угла рассогласования θ.
3. ОПИСАНИЕ УСТАНОВКИ
Лабораторный стенд служит для исследования работы сельсинов в индикаторном и трансформаторном режимах. Для этого используется два бесконтактных сельсина, один из которых является датчиком (СД), а второй - приёмником (СП) (Рисунок 5).
















