metodichka (538599), страница 2
Текст из файла (страница 2)
Так как для большинства металлов μ = 0,3, то К = 1,6 +
.
4. КОНСТРУКЦИИ И НАКЛЕЙКА
Рассматривая конструкции проволочных тензорезисторов, (Рисунок.2) выделим следующие моменты:
а) материал проволоки;
б) форма преобразователей;
в) подложка;
г) клей;
д) токоподводы;
е) защита преобразователей.
Материал должен обладать высокой прочностью на растяжение.
Распространение формы показаны на Рисунке 2. Плоская конструкция (Рисунке 2,а) находит преимущественное применение, т.к. решетка 2 ближе к поверхности деформируемой детали.
Намотанный на сплюснутую трубку 7 тензорезистор (Рисунок 2,б) проще в производстве при l < 10мм.
Тканый тип (Рисунок 2,в) применяется при измерении деформаций в тканях (в пряже 10).
Преобразователь из травленной фольги (Рисунок 2,г) имеет по сравнению с проволочными тензорезисторами: меньшую поперечную чувствительность, более высокую допустимую плотность тока, более сложный профиль рисунка, массовость производства.
Подложка 6 не должна нарушать прочной связи между исследуемой деталью и решеткой. Ее выбор зависит, в основном, от клея 4, который в свою очередь должен подходит к материалу детали и материалу преобразователя.
Токопроводящие провода 3 могут быть причиной нестабильности преобразователя. Точка соединения между решеткой из тонкой проволоки и более толстыми проводами является наиболее вероятным местом усталостного излома.
Главной проблемой защиты проволочных преобразователей при нормальной температуре является влажность. Защитным слоем служит клей.
5. МАРКИРОВКА ТЕНЗОПРЕ0БРА30ВАТЕДЕЙ.
Маркировка тензопреобразователей осуществляется многоэлементным шифром. Расшифровка каждого из элементов будет понятна из следующих примеров:
| I | II | III | IV | V | VI | VII |
| 2 | П | К | Б | 10 | 200 | Х(Г) |
| 2 | Ф | К | ПА | 10 | 200 | Х(Г) |
| 2 | Ф | К | MB | 30 | 200 | Х(Г) |
I – цифра "2" - означает, что основа бумажная, пропитанная клеем БФ2;
II – буква – характеризует тип тензопреобразователя (п – проволочный, ф – фольговый);
III – буква – характеризует материал проволоки (к – константан);
IV – буква – характеризует форму тензопреобразователя (П – прямоугольная, Р- розеточная, М – мембранная).
Буквы А,Д,В,Г характеризуют подтип фольговых тензопреобразователей.
Для проволочных тензопреобразователей буквы: Б – бумажная основа, П – пленочная основа);
V – число – характеризует длину базы
в мм;
VI – число – характеризует номинальное сопротивление решетки в Ом;
VII –буквы – характеризуют температуру наклейки тензопреобразователя (X - температура = 30°С; Г - температура = 180°С)
6. ИЗМЕРТЕЛЬНЫЕ ЦЕПИ С ТЕНЗОПРЕОБРАЗОВАТЕЛЯМИ.
Проволочные тензопреобразователи почти всегда используются в мостовых цепях. Общая схема тензометрического моста показана на Рисунке 2а, где А, В, С, Д – плечи моста с сопротивлениями R1, R2, R3 и R4. На вход подается напряжение питания моcта Е, а к выходу подключается отсчетно - регистрирующее устройство (нагрузка). В тензомост может быть включен один, два или четыре тензопреобразователя.
Возможные схемы расположения тензопреобразователей на испытуемой детали, показаны на Рисунке 3
На Рисунке 3,б – единственный активный преобразователь. Это простое устройство пригодно только для динамических измерений вследствие значительного влияния температуры окружающей среды на равновесие моста, согласно которому выходной ток обращается в нуль только при R1 * R4 = R2 * R3.
Однако сопротивление R1 тензопреобразователя A подвержено влиянию температуры, которая вызовет разбаланс моста. Если сопротивление плеч равны, т.е.
R2 = R3 = R4 = R1 = R, внутреннее сопротивление источника питания пренебрежимо мало, а сопротивление: нагрузки велико, то выходной сигнал:
где κ - тензочувствительность;
ε1 - относительное изменение сопротивления R1.
На Рисунке 3,в – один активный преобразователь А и компенсирующий (холостой) преобразователь B. Холостой преобразователь монтируется так, чтобы на него не влияли главнее деформации. Когда передача деформации совершенно недопустима, холостые преобразователи монтируются на неплотно прикрепленных планках, но необходимо чтобы температуры активного и холостого преобразователей были одинаковыми. В это случае изменение температуры приведет к одинаковому изменению сопротивлений, R1 и R2 и равенство: R1 * R4 = R2 * R3 не нарушится до тех пор, пока не будут действовать главные деформации. Выходной сигнал равен:
На Рисунке 3,г – два активных тензопреобразователя с сопротивлениями R1*R4 и два холостых, обеспечивающих температурную стабилизацию. Выходной сигнал равен:
где ε1 = ε4; ε4 – относительное изменение сопротивления R4.
На Рисунке3,д – два активных тензопреобразователя с сопротивлениями R1*R2, образующих дифференциальную пару. Температурная компенсация имеется, т.к. активные тензопреобразователи находятся в смежных плечах моста. Выходной сигнал равен:
На Рисунке3.е – два активных тензопреобразователя только для продольных напряжений. Температурная компенсация отсутствует. Выходной сигнал равен:
На Рисунке3.ж – два активных тензопреобразователя для продольных напряжений и два холостых тензопреобразователя. Температурная компенсация имеется. Выходной сигнал равен:
На Рисунке 3.з – четыре активных тензопреобразователя для изгибных напряжений образуют двойные дифференциальные пары. Температурная компенсация имеется. Выходной сигнал наибольший:
где |ε1| = |ε2| = |ε3| = |ε4|, т.е. относительные изменения сопротивлений R1, R2, R3, R4 тензорезисторов А,В,С,Д численно равны. Эта схема является наиболее желательным включением тензорезисторов. Во многих случаях мостовая цепь с тензорезисторами подключается своим выходом к гальванометру (вибратору) осциллографа непосредственно или через усилитель постоянного тока (см., например, усилитель "ТОПАЗ").
7. ТЕНЗОРЕЗИСТИВНЫЕ ДАТЧИКИ.
Тензорезистивными датчиками в более широком смысле называется устройства, которые измеряют не только деформации, но и другие физические величины с помощью тензорезисторов. Это достигается путем наклейки тензорезисторов на деталь (пружину), деформация которой пропорциональна измеряемой величине. Кроме наклеиваемых, существуют "свободные" тензопреобразователи, которые содержат проволочные нити, испытывающие деформацию. Рисунок4 служит иллюстрацией различия между двумя этими датчиками, предназначенными для измерения давления.
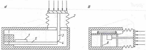
На Рисунке 4.а давление деформирует сильфон 2, который стержнем 3 через шарнир 4 воздействует на консольную пружину 5 с наклеенным на нее тензорезистором 1,
На Рисунке 4,б давление перемещает платформу 7, смонтированную на пружинах 8, изменяя натяжение проволочных нитей 6. Эта конструкция отличается более эффективной работой тензопреобразователя 6 и хорошей температурной стабильностью (в случае использования полного моста из тензорезисторов).
Тензодатчики являются универсальными и могут с успехом использоваться также при измерении сил, ускорений и в других случаях. Два их основных недостатка – малый выходной сигнал и необходимость довольно больших значений деформации приводит к тому, что индуктивные или емкостные датчики во многих случаях являются более предпочтительными.
8. ОПИСАНИЕ ЛАБОРАТОРНОЙ УСТАНОВКИ.
Все детали для исследования тензопреобразователей смонтированы на основании I (Рисунок5). На основании закреплены три кронштейна 2,3,4. На кронштейне 2 с помощью пластины 5, винтами 6 закреплена консольная, упругая пластина 7 с наклеенными с обеих сторон тензопреобразователями и выводами 8 тензопреобразователей припаяны к контактным штырям платы 9, соединенными с контактными переключателями 10. С помощью ручки 11 переключателя достигается включение тензорезисторов в схему тензомоста. На кронштейне 4 закреплен стрелочник 12 измерительный наконечник которого воспринимает перемещения пластины 7. На кронштейне 3 смонтирована винтовая пара 13 таким образом, что наконечник винта упирается в пластину 7.
При вращении винта пластина 7 изгибается, что вызывает деформацию проволоки тензорезисторов 8 и перемещение измерительного наконечника индикатора 12. При крайнем правом положении ручки 11 тензорезисторы включаются в схему полумоста (см. Рисунок 3.д) При крайнем левом положении ручки 11 тензорезисторы включаются в схему полного моста (см. Рисунок 3.з).
9. ПОРЯДОК ВЫПОЛНЕНИЯ РАБОТЫ
1. Поставить ручку 2 (Рисунок 5) в крайнее правое положение (схема полумоста).
2. Вращать винт 13, изменяя при этом прогиб балки согласно табл. 1
















