СНиП II-12-77 (524621), страница 3
Текст из файла (страница 3)
на поверхности территории или ограждающих конструкций зданий и сооружений – W = 2p;
в двухгранном углу, образованном ограждающими конструкциями зданий и сооружений, – W = p;
bа –затухание звука в атмосфере в дБ/км, принимаемое по табл. 6.
Примечания: 1. Октавные уровни звукового давления L в дБ допускается определять по формуле (7), если расчетные точки расположены на расстояниях r в м, больших удвоенного максимального размера источника шума.
2. При расстояниях r £ 50 м затухание звука в атмосфере в расчетах не учитывается.
Таблица 6
| Среднегеометрические частоты октавных полос в Гц | 63 | 125 | 250 | 500 | 1000 | 2000 | 4000 | 8000 |
| bа в дБ/км | 0 | 0,7 | 1,5 | 3 | 6 | 12 | 24 | 48 |
4.6. Октавный уровень звуковой мощности шума
в дБ, прошедшего через преграду (ограждающую конструкцию помещения) (рис. 4, а, б) или канал, соединяющий два помещения или помещение с атмосферой, если шум создается источником в помещении ( рис.4, в), следует определять по формуле
где L – октавный уровень звукового давления в дБ у преграды, определяемый согласно указаниям примеч. 3 и 4 к настоящему пункту;
– снижение уровня звуковой мощности шума в дБ при прохождении звука через преграду, определяемое согласно указаниям примеч. 1 и 2 к настоящему пункту;
– поправка в дБ, учитывающая характер звукового поля при падении звуковых волн на преграду, определяемая согласно указаниям примеч. 3 и 4 к настоящему пункту.
Примечания: 1. Если преградой является ограждающая конструкция, то
=R, где R – изоляция воздушного шума ограждающей конструкцией в октавной полосе частот, определяемая согласно требованиям раздела 6 настоящих норм.
2. Если преградой является канал с площадью входного отверстия
, то
равно суммарному снижению звуковой мощности в октавной полосе в канале, определяемому согласно требованиям раздела 8 настоящих норм.
3. При падении звуковых волн из помещения на преграду поправка
= 6 дБ, а L должен быть определен по формулам (3) или (6).
4. При падении звуковых волн из помещения на преграду из атмосферы
= 0, а L следует определять по формулам (7) и (11).
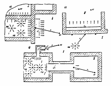
Рис. 4. Схема размещения источников шума и расчетных точек
ИШ – источник шума; РТ – расчетная точка; А – промежуточная точка; I – помещение с источниками шума; II – атмосфера; III – защищаемое от шума помещение
4.7. Октавный уровень звуковой мощности шума
в дБ, прошедшего через канал, если шум излучается источником непосредственно в канал, соединенный с другим помещением или с атмосферой (рис. 5), следует определять по формуле
где
– уровень звуковой мощности в дБ, излучаемой источником шума в канал, определяемый в соответствии с указаниями разделов 8 и 9 настоящих норм;
– суммарное снижение октавного уровня звуковой мощности в дБ по пути распространения звука.
Рис. 5. Схема расположения источника (ИШ), излучающего шум в канал, и расчетной точки (РТ), расположенной в защищаемом от шума помещении в другом здании
r1 – расстояние от выходного отверстия канала до наружного ограждения защищаемого от шума помещения; r2, r3 – расстояния от центра излучающей поверхности до наружного ограждения защищаемого от шума помещения
Суммарное снижение октавного уровня звуковой мощности источника шума по пути распространения звука
в дБ следует определять:
при излучении звука через выходное отверстие канала – в соответствии с указаниями раздела 8 настоящих норм как сумму уровней звуковой мощности в элементах канала или системы каналов, например сети вентиляционных воздуховодов;
при излучении звука через стенки канала – по формуле
где
– снижение октавного уровня звуковой мощности в дБ по пути распространения звука между источником шума и начальным сечением участка канала, через который излучается шум, определяемое согласно требованиям раздела 8 настоящих норм;
S0 – площадь в м2 поперечного сечения канала;
Sкан – площадь в м2 наружной поверхности стенок канала, через которую излучается шум;
Rкан – изоляция воздушного шума в дБ стенками канала;
– снижение уровня звуковой мощности в дБ по длине рассматриваемого участка канала, определяемое согласно требованиям раздела 8 настоящих норм.
4.8. Октавные уровни звуковой мощности
в дБ шума, прошедшего через преграду в защищаемое от шума помещение, если источники шума находятся в помещении, расположенном в другом здании (рис. 5), следует определять последовательно.
Сначала следует определить октавные уровни звуковой мощности шума
в дБ, прошедшего через различные преграды из помещения с источником (или несколькими источниками) шума в атмосферу, по формулам (8) или (9). Затем следует определить октавные уровни звукового давления шума
в дБ в промежуточной расчетной точке А у наружной ограждающей конструкции помещения, защищаемого от шума, по формуле (7), заменив в ней L на
а
на
. После этого следует определить суммарные октавные уровни звукового давления
в дБ в точке А по формуле (11), а затем определить октавные уровни звуковой мощности шума, прошедшего в защищаемое от шума помещение,
в дБ по формуле (8), заменив в ней L на
и приняв
= 0.
4.9. Октавные уровни звукового давления в расчетной точке Lпр в дБ, прошедшего через преграду, следует определять по формулам (3), (6) или (7), заменив в них L на Lпр и
на
.
4.10. Октавные уровни звукового давления от нескольких источников шума
в дБ следует определять как сумму уровней звукового давления
в дБ в выбранной расчетной точке от каждого источника шума (или каждой преграды, через которую проникает шум в помещение или в атмосферу) по формуле
Для упрощения расчетов суммирование уровней звукового давления следует производить по табл. 5 аналогично суммированию уровней звуковой мощности источников шума.
4.11. Октавный уровень звукового давления
в дБ в расчетной точке для прерывистого шума от одного источника следует определять по формулам (1) – (3) или (7) для каждого отрезка времени
, в мин, в течение которого значение октавного уровня звукового давления
в дБ остается постоянным, заменив в указанных формулах L на
.
Затем следует определить эквивалентный октавный уровень звукового давления
в дБ за общее время воздействия шума Т в мин по формуле
где
– время в мин, в течение которого значение уровня звукового давления
в дБ остается постоянным;
– постоянное значение октавного уровня звукового давления в дБ прерывистого шума за время
в мин;
Т – общее время воздействия шума в мин.
Примечание. За общее время воздействия шума Т в мин следует принимать:
в производственных помещениях – продолжительность рабочей смены;
на территориях, для которых установлены уровни шума, –продолжительность дня – (с 7 до 23 ч) или ночи (с 23 до 7 ч).
4.12. Октавный уровень звукового давления
в дБ в расчетном точке для импульсного шума от одного источника следует определять по формулам (1) – (3) или (7) для каждого отдельного импульса продолжительностью
в мин с октавным значением звукового давления
в дБ, заменив в указанных формулах L на
.
Затем следует определить эквивалентный октавный уровень звукового давления
в дБ за выбранный отрезок времени Т в мин по формуле (12), заменив в ней
на
, а
на
.
4.13. Эквивалентные октавные уровни звукового давления
в дБ в расчетной точке для прерывистого и импульсного шумов от нескольких источников шума следует определять в соответствии с п. 4.10 настоящих норм, заменив
на
а
на
.
5. ОПРЕДЕЛЕНИЕ ТРЕБУЕМОГО СНИЖЕНИЯ ШУМА
5.1. Требуемое снижение октавных уровней звукового давления
в дБ следует определять отдельно для каждого источника шума, если в расчетную точку поступает шум от нескольких источников шума.
Примечание. Данное правило не распространяется на определение требуемого снижения шума от источников шума в производственных помещениях (в цехах текстильной промышленности, деревоотделочных, металлообрабатывающих и т. п.).
5.2. Требуемое снижение октавных уровней звукового давления
в дБ в расчетной точке в помещении, или на территории для одного источника шума или нескольких, отличающихся друг от друга по октавным уровням звукового давления менее чем на 10 дБ, следует определять:
а) для одного источника шума по формуле
















