Васюков В.Н. Введение в теорию сигналов (1275344), страница 9
Текст из файла (страница 9)
Спектральные плотности гармонического сигнала
и
легко находятся с учетом формул Эйлера:
Пример 1. Балансно-модулированное колебание получается путем перемножения модулирующего сигнала
и несущего гармонического колебания
. Спектральную плотность балансно-модулированного сигнала можно найти, воспользовавшись теоремой умножения и учитывая спектральную плотность косинусоидального колебания:
Тот же результат можно получить на основе теоремы модуляции и свойства линейности преобразования Фурье. ◄
Во многих задачах присутствуют одновременно периодические и непериодические сигналы. Для того, чтобы можно было пользоваться общим математическим аппаратом интеграла Фурье, найдем спектральную плотность периодического сигнала
Учитывая линейность преобразования Фурье и зная спектральную плотность комплексной экспоненциальной функции, запишем спектральную плотность в виде
Таким образом, спектральная плотность периодического сигнала «дискретна» в том смысле, что состоит из
-функций, сосредоточенных на частотах, кратных частоте повторения сигнала.
-
ДИСКРЕТИЗАЦИЯ СИГНАЛОВ. ТЕОРЕМА ОТСЧЁТОВ
Коэффициенты обобщенного ряда Фурье вычисляются путем скалярного умножения сигнала на базисные функции. Существует счетный базис, для которого эта операция сводится к взятию отсчётов мгновенных значений аналогового сигнала через равные промежутки времени. Таким образом, аналоговый сигнал представляется дискретной последовательностью своих отсчётов. Такая дискретизация аналоговых сигналов имеет огромное значение в современной технике, так как является основой цифровой обработки сигналов.
Следует отметить, что этот базис не является полным в пространстве
, поэтому он непригоден для представления с заданной точностью любых аналоговых сигналов ограниченной энергии, однако для подпространства сигналов, спектральная плотность которых сосредоточена на конечном интервале частотной оси (финитна), полный счетный базис с такими свойствами всегда существует.
Условие финитности спектра не является слишком обременительным, так как все реальные сигналы можно с любой точностью аппроксимировать сигналами с финитным спектром. Необходимо только учитывать эффективную ширину спектра при выборе конкретного базиса. Эффективной шириной спектра можно считать ширину частотного интервала, в котором сосредоточена заданная доля (например, 99%) всей энергии или мощности сигнала. Обычно на практике перед дискретизацией сознательно ограничивают ширину спектра сигнала путем его предварительной фильтрации фильтром нижних частот, так как это уменьшает ошибку при восстановлении аналогового сигнала.
Возможность представления аналоговых сигналов последовательностями их отсчетов и условия применимости такого представления устанавливаются теоремой отсчетов. Приведенное ниже доказательство теоремы отсчетов принадлежит В.А. Котельникову).
Рассмотрим произвольный сигнал
, спектральная плотность которого
равна нулю вне конечного интервала
частотной оси. Представим
рядом Фурье
вполне аналогичным ряду Фурье, представляющему временную функцию на интервале
, с той очевидной разницей, что базисные функции здесь зависят не от
, а от
. Очевидно, коэффициенты ряда находятся, как
Выразим сигнал
через его обратное преобразование Фурье, подставляя в качестве спектральной плотности её представление рядом Фурье
Заметим, что
Подставив в и введя обозначение
, запишем сигнал в виде ряда
и
Рис. 31. Базисные функции ряда Котельникова
при сдвигах 1, 0, -3, -7
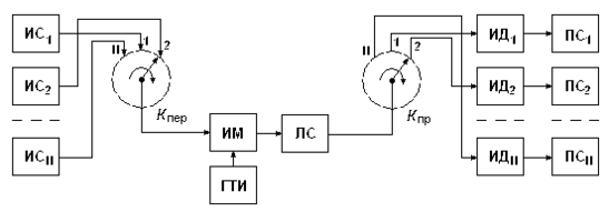
Пример 26. В системах связи для более полного использования каналов связи применяют принцип уплотнения. Временное уплотнение (временное разделение каналов) основано на применении теоремы отсчетов. На рис. 32 представлена упрощенная структурная схема многоканальной системы связи с временным разделением каналов. Источники сигналов ИС соединены с коммутатором передатчика Кпер. Коммутатор поочерёдно подключает источники к модулятору ИМ, который модулирует сигнал-переносчик. После прохождения по линии связи ЛС переносчик разделяется коммутатором приёмника Кпр на канальные сигналы, которые после демодуляции в демодуляторах ИД поступают к получателям сигналов ПС. Следует отметить, что в системах связи с ВРК необходима синхронизация приемной и передающей станций. ◄
Найдем скалярное произведение пары базисных функций ряда Котельникова. Сравним выражения и для сигнала и его спектральной плотности. Очевидно, функция
имеет спектральную плотность
. Тогда согласно обобщенной формуле Рэлея скалярное произведение
-й и
-й функций базиса Котельникова равно
Таким образом, базис Котельникова ортогонален, но не нормирован. По существу базис Котельникова во временной области – это базис Фурье в частотной области (ср. и ). Поэтому свойства ортогональности и полноты одинаково справедливы для этих базисов.
Чтобы восстановить (интерполировать) аналоговый сигнал по последовательности его отсчетов, необходимо просуммировать все базисные функции Котельникова при
с весовыми коэффициентами, равными отсчётам
. Технически эту операцию можно в принципе осуществить, располагая ЛИС-цепью, имеющей импульсную характеристику, совпадающую с функцией Котельникова и подавая на вход этой цепи в моменты
воздействия в виде
-функции с амплитудными множителями
,
. Следовательно, на вход такой цепи должен подаваться сигнал в виде
-периодической последовательности
-функций, промодулированной по амплитуде исходным аналоговым сигналом (амплитудно-импульсно-модулированный, или АИМ-сигнал)
Отметим, что такая интерполирующая цепь, строго говоря, нереализуема, так как её импульсная характеристика имеет бесконечно большую протяженность в область отрицательных времен. Однако можно построить цепь, сколь угодно точно её аппроксимирующую, правда, при этом восстановленный сигнал будет получаться с задержкой (тем большей, чем выше точность аппроксимации).
Взятие отсчета аналогового сигнала в произвольный момент времени описывается с математической точки зрения стробирующим свойством
-функции Дирака
Реальное взятие отсчета производится устройством, в котором выполняется свертка аналогового сигнала не с
-функцией, как в выражении , а с достаточно коротким импульсом
. Этот импульс должен быть «похож» на
-функцию, в частности, он должен быть коротким и интеграл от него должен быть равен 1. Для простоты примем в качестве
прямоугольный импульс с длительностью
и амплитудой
. Свертке сигнала
с таким импульсом соответствует умножение спектральной плотности
на спектральную плотность прямоугольного импульса, имеющую, как известно, форму функции вида
, поэтому при стробировании реальным импульсом конечной длины всегда происходит искажение спектра сигнала. Для уменьшения такого искажения необходимо стремиться к уменьшению длительности импульса
, при этом форма импульса не играет заметной роли (почему?).
Ряд , очевидно, представляет на интервале
спектральную плотность аналогового сигнала
. Но этот же ряд вне интервала
представляет
-периодическую функцию частоты, которая является спектральной плотностью сигнала
. Восстановление аналогового сигнала равносильно подавлению в спектре сигнала
всех спектральных составляющих, не принадлежащих интервалу
, поэтому интерполирующий фильтр должен иметь П-образную (прямоугольную) комплексную частотную характеристику.
Все реальные сигналы имею конечную длительность, поэтому спектральная плотность реального сигнала не может быть финитной. Нефинитность спектра сигнала приводит к тому, что «хвосты» копий спектральной плотности
при периодическом повторении накладываются друг на друга, приводя к необратимому искажению сигнала. Фильтрация нижних частот, выполняемая до дискретизации, подавляет эти «хвосты», уменьшая погрешность интерполяции.
Итак, точному восстановлению аналогового сигнала по последовательности его отсчётов препятствуют:
-
конечная длительность любого реального сигнала и, как следствие, бесконечная ширина его спектра;
-
конечная длительность реального стробирующего импульса и, как следствие, искажение формы спектра сигнала при дискретизации;
-
невозможность точно реализовать интерполирующий фильтр.
Несмотря на эти ограничения, дискретизация широко применяется на практике, в частности, она является необходимым этапом при цифровой обработке сигналов.
(Упражнение. Найдите импульсную характеристику фильтра, имеющего П-образную комплексную частотную характеристику вида
. Можно ли использовать такой фильтр для восстановления аналогового сигнала по его отсчетам? Можно ли реализовать такой фильтр?)
-
СЛУЧАЙНЫЕ ПРОЦЕССЫ
Как уже отмечалось, все сигналы и помехи являются случайными, то есть непредсказуемыми. Математическими моделями случайных сигналов и помех служат случайные процессы. В современной теории вероятностей всякий случайный процесс (СП) связан с некоторым воображаемым множеством или пространством элементарных событий
. Выбор одного из элементарных событий происходит некоторым способом, который наблюдателю неизвестен, поэтому исход такого случайного эксперимента заранее предсказать нельзя. Выбор конкретного элемента
приводит к осуществлению вполне определенной реализации СП. Важно подчеркнуть, что в основе теории вероятностей лежит допущение о возможности многократного повторения случайного эксперимента в одинаковых условиях и получения длинной серии реализаций случайного события, случайной величины или случайного процесса. С пространством
связана функция
, называемая вероятностной мерой, в соответствии с которой элементарные события имеют большие или меньшие шансы быть выбранными в конкретном случайном опыте. Более точно, мера
ставит в соответствие любому подмножеству
неотрицательное вещественное число, не превышающее единицы, называемое вероятностью случайного события. При этом
, то есть вероятность достоверного события равна 1. Невозможное событие, обозначаемое
, имеет вероятность
.
















