разд.4 (1247217)
Текст из файла
Схема автоматического участка мелкой штамповки
Схема автоматизированного участка штамповки средних деталей
Автоматизированный участок штамповки крупных листовых деталей
Структурные схемы автоматизации (а и б) и комплексной механизации (в) штамповки из штучной заготовки
Конструкция крючкового АБЗОУ
Карманчиковые АБЗОУ Схема карманчикового АБЗ0У
Схемы АБЗОУ типа воронки:
а — с подвижными полувтулками; б — с вращающейся втулкой
Конструкция АБЗОУ с вращающейся втулкой
Схемы магазинных ориентирующих устройств:
а — кассетные прямые; б — кассетные наклонные; в — лотковые открытые; г и д—штабельные; 1 — заготовки; 2 — толкатель
Сменная кассета для плоских заготовок, установленная на штампе (а) и подготовленная к заполнению (б)
При автоматической укладке для подачи сигнала о заполнении кассеты заготовками предусмотрен микропереключатель 11. Зазор Δ между сухарями и нижним торцом корпуса кассеты З должен быть не более 0,5—0,7 толщины заготовки.
Высота кассеты определяется в зависимости от продолжительности работы штампа между сменами кассет, жесткости конструкции и габаритных размеров рабочего места, где она устанавливается.
Корпус кассеты З в нижней части усилен обоймой 4 из-за наличия в корпусе выемок 6. В эти выемки при установке кассеты на штамп 7 западают приливы стакана 9, отжимающие нижние сухари 10, которые препятствуют движению заготовок в процессе работы. Фиксация кассеты обеспечивается замком 8.
Конструкция лоткового магазина для круглых объемных заготовок
Такие магазины применяются при автоматизации процессов загрузки заготовок в нагревательные устройства. Конструкция их аналогична конструкции магазинов, применяемых при холодной штамповке.
Лоток состоит из направляющих уголков 2 и 12, смонтированных на раме 1 и ограничивающих заготовки 4 по длине. Ширина лотка может регулироваться в зависимости от длины заготовки в результате перемещения уголка 12 по пазам рамы 1.
Заготовки 4, находящиеся на лотке, за счет силы тяжести перемещаются вниз. Нижняя заготовка упирается в угольник 5.
В этом положении ось заготовки совмещена с осью толкателя, выдающего заготовки в направлении ее оси. Наличие поворачивающего отсекателя 3, удерживающего оставшиеся заготовки на лотке, позволяет обеспечить надежную работу толкателя без излишней дополнительной его нагрузки. После выдачи очередной заготовки толкатель возвращается в исходное положение. При этом включается воздухораспределитель, который выпускает сжатый воздух из верхней части цилиндра 5. Пружины поднимают отсекатель 3 вверх и
очередная заготовка скатывается вниз до упора в угольник 5. После этого подается команда на подачу воздуха в пневматический цилиндр 6, который перемещает вниз отсекатель 3. Рама 1 с помощью шарниров 7 закреплена на подставке 9. Положение нижней заготовки по высоте, упирающейся в угольник 5, можно регулировать болтами 13.
Настройка отсекателя З производится перемещением планок 11. Механизм в направлении подачи регулируется винтом 10 за счет перемещения рамы 1 по направляющим 8.
Конструкция штабельного магазинного устройства с ворошителем
Рассматриваемое устройство выполнено как одно целое с питающим устройством типа механической руки, которое обеспечивает поворот заготовки на 1,57 рад (90°).
Устройство позволяет одновременно загружать около 500 заготовок. Для более точного и надежного ориентирования заготовок 12 встроен ворошитель, состоящий из гидравлического цилиндра, шток 7 которого совершает возвратно-поступательное движение (ход около 40 мм), поднимая и опуская качающуюся вокруг оси 6 доску 5. Заготовки, сориентированные в определенном положении, продвигаются по щели к питающему устройству (механической руке) 1, которое при подъеме своим зажимом 8 захватывает скатившуюся в нее заготовку. Рука 1 крепится на оси-шестерне 9, входящей в зацепление с рейкой 11, которая совершает возвратно-поступательное движение при подаче масла и соответствующие полости гидравлического цилиндра 10.
Для наладки штабельника для заготовок другой длины вверх ней части кожуха 4 сделаны прорези 3, по которым перемещается боковая стенка, закрепленная болтами 2.
Шиберная подача используется и в качестве подающего и передающего устройств.
Шиберная подача, встроенная в штамп
Подача заготовок происходит при ходе ползуна вверх. При этом клинья З освобождают ползушку 7 и она под действием пружины 4 перемещает шибер 2 влево. Последний проталкивает нижнюю заготовку из магазина 1 на шаг, при этом крайняя заготовка доходит до упора 6. Для устойчивой работы подачи предусмотрен прижим 5, который Создает дополнительные сопротивления движению заготовки.
Расчетная схема шиберной подачи: 1 — перемещающаяся заготовка
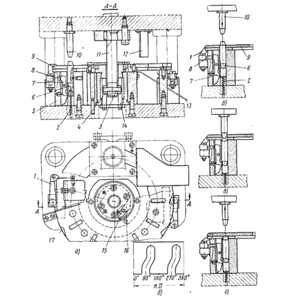
Револьверная подача с приводом от ползуна пресса
показана револьверная подача с приводом от ползуна пресса через байонетный преобразующий механизм с храповым механизмом периодического движения.
Общий вид подачи. Привод револьверного диска 9 осуществляется от смонтированного на верхней плите штампа штока 11, на котором на оси З установлены ролики 4. Ролики входят в пазы втулки 14, развертка, д. При опускании штока 11 ролики 4 обеспечивают поворот втулки 14; в результате этого собачки 15, прикрепленные к втулке 14, через храповое колесо 16 поворачивают диск на шаг. При обратном движении штока собачки 15 возвращаются в исходное положение, не зацепляясь с колесом 16.
Узел фиксирования диска состоит из фиксатора 6, защелки 7, пружины 2, штифта 8, запрессованного в поводок 1. Положение фиксатора, защелки и поводка относительно корпуса фиксатора 5 при верхнем положении ползуна, 6; при ниж нем положении, в; при повороте револьверного диска, г.
В положении,, 6, поводок 1 находится в пазу 17 диска 9, в результате чего фиксатор 6 под действием пружины 2 западает в отверстие диска 9. После совершения рабочего хода (рис. 137, в) штифт 10 опускает фиксатор б, а защелка 7 удерживает пружины в сжатом состоянии. Затем начинается движение диска 9, поводок выходит из паза 17 и через штифт 8 отжимает защелку 7 т. е. подготовляет фиксатор для западания в отверстие на следующий позиции.
Готовые изделия с помощью выталкивателя 12 попадают на лоток 13, а затем направляются в тару.
Универсальная револьверная подача с индивидуальным приводом
ревельверная подача (привод на чертеже не показан) с индивидуальным пневматическим приводом.
Револьверный диск 7, смонтированный на специальном основании, установленном на столе пресса 16, одновременно является и храповым колесом, приводимым в движение от собачки 2, укрепленной на ползушке 4. В гнездах револьверного диска предусмотрены быстросменные вкладыши 9, внутренние отверстия которых имеют конфигурацию, соответствующую конфигурации наружного контура заготовок. В подаче для точной фиксации револьверного диска в рабочем положении предусмотрены две фиксирующие собачки 1 и 3, вращающиеся на эксцентриковых втулках. Наличие этих втулок дает возможность смещать фиксирующие собачки по диаметру револьверного диска и тем самым точно устанавливать ось гнезда револьверного диска относительно оси пресса, а также обеспечивать одновременное западание собачек в пазы диска. Для гашения инерционных сил, возникающих в момент поворота и остановки револьверного диска, применяется дисковый тормоз постоянного действия.
Дисковый тормоз состоит из нажимного диска 10, стакана 11 и пружины 15. Готовые изделия на позиции выгрузки проталкиваются механическим выталкивателем, состоящим из кронштейна 13, закрепленного на плите ползуна 12, и подвижного стержня 14.
Для предотвращения случаев травматизма предусмотрены плексигласовые щитки 5 и 6, закрывающие рабочую зону и позицию выгрузки деталей.
Ползушка 4 получает прямолинейное возвратно-поступательное движение от пневматического цилиндра, шток которого крепится к серьге 8.
Блокировка правильности положения револьверного диска относительно инструмента обеспечивается конечным выключателем ЗВК, контакты которого включены в цепь питания электромагнита воздухораспределительного клапана пресса.
Грейферная подача с приводом от ползуна пресса
В грейферных подачах на операции загрузки часто используются магазинные ориентирующие устройства. Это влечет за собой необходимость применения шиберов для выдачи заготовок из магазина па позицию загрузки. Такая грейферная подача для многопозиционного штампа. Предварительно вырубленные заготовки загружаются в магазин 12, откуда шибером 14 подаются в зону действия захватов грейферной подачи. Возвратно движение шибера осуществляется совместно с грейферными линейками 15 и 17 от траверсы 16.
Захват заготовок обеспечивается призмами 10, смонтированными на линейках 15 и 17. Эти линейки в пазах траверс 6 и 16 перемещаются навстречу друг другу с помощью пружин 9. Возврат линеек 15 и 17 в исходное положение осуществляется от клиньев 18, закрепленных на ползуне пресса; клинья 18 раздвигают каретки 7 с закрепленными на них линейками. Продольное перемещение линеек 15 и 17 обеспечивается рычагом 4, вращающимся на оси 2 кронштейна 3, прикрепленного к станине пресса. Рычаг 4 приводится в движение от торцового кулачка 1, укреп ленного на валу пресса. Когда верхний конец рычага 4 набегает на кулачок, нижний конец рычага 4 воздействует на траверсу б и обеспечивает требуемое перемещение линеек.
В момент подъема ползуна пружины 9 сближают линейки с призмами, обеспечивая захват заготовок. После этого происходит продольное перемещение линеек от рычага 4, в результате которого заготовки переносятся с позиции на позицию. Во время опускания ползуна пресса линейки под действием рычага 4 и клиньев 18 возвращаются в исходное положение.
Для постоянного прижима верхнего конца рычага 4 к профильной поверхности кулачка 1 предусмотрены пружины 5; фиксация заготовки на позиции загрузки обеспечиваются пружиной 13. В подштамповой плите имеются два вкладыша 8 и 11, закрывающие окна на первой или на последней позициях.
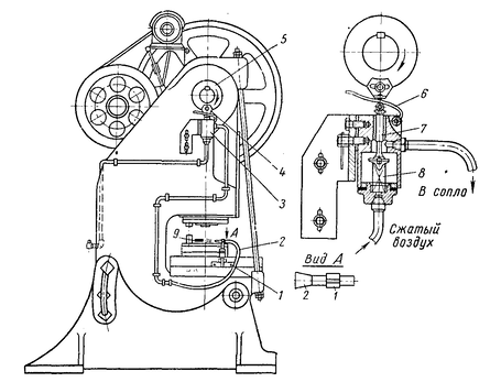
Пневматическое сбрасывающее устройство
Характеристики
Тип файла документ
Документы такого типа открываются такими программами, как Microsoft Office Word на компьютерах Windows, Apple Pages на компьютерах Mac, Open Office - бесплатная альтернатива на различных платформах, в том числе Linux. Наиболее простым и современным решением будут Google документы, так как открываются онлайн без скачивания прямо в браузере на любой платформе. Существуют российские качественные аналоги, например от Яндекса.
Будьте внимательны на мобильных устройствах, так как там используются упрощённый функционал даже в официальном приложении от Microsoft, поэтому для просмотра скачивайте PDF-версию. А если нужно редактировать файл, то используйте оригинальный файл.
Файлы такого типа обычно разбиты на страницы, а текст может быть форматированным (жирный, курсив, выбор шрифта, таблицы и т.п.), а также в него можно добавлять изображения. Формат идеально подходит для рефератов, докладов и РПЗ курсовых проектов, которые необходимо распечатать. Кстати перед печатью также сохраняйте файл в PDF, так как принтер может начудить со шрифтами.
















