разд.1 (1247214)
Текст из файла
Фрикционный захват
Расчетное усилие сжатия валков для проволоки
Пневматический захват
Формы сечений лотков для цилиндрических деталей, перемещающихся качением (а), скольжением (б); для дисков и колец, перемещающихся качением (в); для заготовок с головками (г); роликовые для цилиндрических и плоских заготовок (д); трубчатые (е), двухрельсовые (ж), однорельсовые (з)
Клиновой захватный орган.
Разновидности клиновых захватных органов: а – роликовый; б – шариковый; в- цанговый; г - эксцентриковый; А - направление движение материала; Б - движение подвижной каретке; В- заготовка.
Ножевой захватный орган
Схемы ножевого одностороннего (а) в двустороннего (б) захватных органов:А — Направление движения материала Б — движение подвижной каретки; 13 — заготовка
Крючковый захват
Схемы крючковых захватов с цеплянием за отверстие (а, в) и за наружную поверхность (б): 1 — заготовка; 2 — захватный орган
Карманчиковый захватный орган
Схемы карманчикового захватного органа: а — при радиальном: б — хордальном: в и г — аксиальном расположении
заготовок: 1 — заготовка: 2 — захватный орган
Гравитационный захватный орган
Механизмы периодического движения
Принципиальные схемы обгонных муфт:
а — роликового и б — клиновой типа
Схемы храповых механизмов
а - с вращательным и б – с поступательным движением храповика
Обеспечение периодичности движения за счет кинематических особенностей: а — механизма мальтийского креста, б - получервячного и в — фрикционного механизмов
Схемы клинового преобразующего механизма: а и б - одностороннего и в - двустороннего действия
Схемы рычажных преобразующих механизмов
Схемы реечных преобразующих механизмов: а — с подвижным и б — с неподвижным ‚ зуб колеса.
байонетный механизм
рычажно-роликовый механизм
Реечный механизм:
а — без механизма и б — С механизмом периодического движения
Кинематические схемы механизмов для преобразования постоянного вращательного движения в прерывистое вращательное
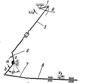
На рис.а показан рычажно-роликовый механизм, состоящий из копира 2, приводимого в движение от вала отбора мощности; специального рычага 1 с роликами; двуплечего рычага З для регулирования угла поворота захватного органа; тяги 4 и рычага 6 с механизмом периодического движения 5.
На рис.б приведена схема кривошипно-рычажного механизма. Здесь регулируемый кривошип 7, приводимый в движение от главного вала машины или от вала отбора мощности, соединен с шарнирной тягой 8, позволяющей передавать движение во взаимно перпендикулярных плоскостях, и рычагом 9, связанным с механизмом периодического движения 10.
Показанная на рис.в схема кривошипно-реечного механизма состоит из кривошипа 11; тяги 12, оканчивающейся рейкой; шестерен 13, соединенных с механизмом периодического движения 14 и далее с захватным органом.
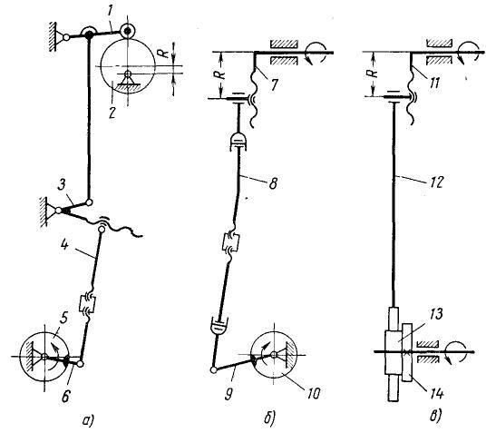
типовые кинематические схемы механизмов преобразования вращательного движения в поступательное.
Кривошипный механизм (а) представляет собой кривошип 1, который через шатун 2 сообщает ползуну 3, соединенному с захватным органом, возвратно -поступательное движение.
Кулисно-рычажный механизм (б) состоит из кривошипа 1, двуплечего рычага 4 с кулисой, соединенной с регулируемой тягой 5. Последняя приводит в движение двуплечий рычаг б и далее через серьгу 7 ползушку 8, к которой и крепится захватный орган.
Кривошипно -рычажные механизмы (в и г) состоят из кривошипа 1, регулируемой тяги 5, двуплечего рычага б и ползушки 8. Так как механизм, показанный на рис. в, обеспечивает передачу движения в двух взаимно перпендикулярных плоскостях, то тяга 5 снабжена еще шарнирными муфтами. Кроме того, привод ползушки 8 осуществляется через тягу 9, дополнительный рычаг 10, соединенный с ползушкой 8. в механизме на рис. г ползушка 8 с тягой 5 соединяется аналогично показанному на рис. б.
Характеристики
Тип файла документ
Документы такого типа открываются такими программами, как Microsoft Office Word на компьютерах Windows, Apple Pages на компьютерах Mac, Open Office - бесплатная альтернатива на различных платформах, в том числе Linux. Наиболее простым и современным решением будут Google документы, так как открываются онлайн без скачивания прямо в браузере на любой платформе. Существуют российские качественные аналоги, например от Яндекса.
Будьте внимательны на мобильных устройствах, так как там используются упрощённый функционал даже в официальном приложении от Microsoft, поэтому для просмотра скачивайте PDF-версию. А если нужно редактировать файл, то используйте оригинальный файл.
Файлы такого типа обычно разбиты на страницы, а текст может быть форматированным (жирный, курсив, выбор шрифта, таблицы и т.п.), а также в него можно добавлять изображения. Формат идеально подходит для рефератов, докладов и РПЗ курсовых проектов, которые необходимо распечатать. Кстати перед печатью также сохраняйте файл в PDF, так как принтер может начудить со шрифтами.
















