разд.2 (1247215)
Текст из файла
Средства ориентации и переориентации
Переориентация заготовок без изменения направления движения
а — за счет перехода на другую плоскость движения
б — за счет разворота заготовок под действием силы тяжести
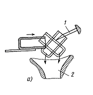
Переориентация заготовок с изменением направления движения:
а — за счет использования неподвижных ловителей
б — за счет применения специальных механизмов
средства ориентации типа контрольно–исполнительных органов
а - для неправильно ориентированных плоских;
б - для неправильно ориентированных объемных;
в – для сбрасывания лишних заготовок.
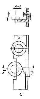
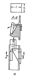
механизмы поштучной выдачи
а – с поступательным;
б – с маятниковым;
Циклограмма работы кривошипного пресса с валковой подачей
в совмещенном цикле: I — ход рейки и II — ход ползуна
Циклограмма работы кривошипного пресса с механической рукой в комбинированном цикле: I- ход ползуна; II - ход нижнего выталкивателя; III - ход поршня цилиндра за хвата; IV- ход поршня привода механической руки
Принципиальная схема пневматической блокировки
А - сжатый воздух; Б - в атмосферу
1 - переключатель
2 - шток перепускного клапана
З - поршень
4 - двуплечий рычаг
5 - собачка
6 - поворотная шпонка
7 - пневматический цилиндр
8 - захватный орган (револьверного диска)
9 - фиксатор с рычажком
Характеристики
Тип файла документ
Документы такого типа открываются такими программами, как Microsoft Office Word на компьютерах Windows, Apple Pages на компьютерах Mac, Open Office - бесплатная альтернатива на различных платформах, в том числе Linux. Наиболее простым и современным решением будут Google документы, так как открываются онлайн без скачивания прямо в браузере на любой платформе. Существуют российские качественные аналоги, например от Яндекса.
Будьте внимательны на мобильных устройствах, так как там используются упрощённый функционал даже в официальном приложении от Microsoft, поэтому для просмотра скачивайте PDF-версию. А если нужно редактировать файл, то используйте оригинальный файл.
Файлы такого типа обычно разбиты на страницы, а текст может быть форматированным (жирный, курсив, выбор шрифта, таблицы и т.п.), а также в него можно добавлять изображения. Формат идеально подходит для рефератов, докладов и РПЗ курсовых проектов, которые необходимо распечатать. Кстати перед печатью также сохраняйте файл в PDF, так как принтер может начудить со шрифтами.
















