ПЗ ОБЩАЯ (1232381), страница 10
Текст из файла (страница 10)
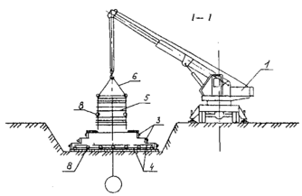
1 - кран автомобильный Kato NK-550; 2 - площадка складирования; 3 - щиты опалубки; 4 - схватки; 5 - уголки монтажные; 6 - укрупненные панели опалубки; 7 – арматурный каркас; 8 - строп; 9 - бетонная подготовка
Сборку опалубочных панелей столбчатых фундаментов производят в следующей последовательности:
- щиты укладывают рабочей поверхностью вниз, в местах установки монтажных и рабочих креплений кладут деревянные рейки;
- выверяют габаритные размеры панелей, по контуру панелей прибивают деревянные бруски-ограничители;
- щиты соединяют между собой пружинными скобами или крюками;
- в местах расположения деревянных реек щиты соединяют болтами;
- в деревянных рейках в местах пропуска стяжек просверливают отверстия диаметром 18-20 мм;
- поверх щитов раскладывают схватки;
- схватки со щитами соединяют натяжными крюками с клиновым или винтовым запором;
- поверх схваток перпендикулярно им укладывают связи жесткости, для чего используют те же схватки;
- схватки со связями соединяют болтами;
- устанавливают собранный короб строго по осям и закрепляют опалубку нижней ступени металлическими штырями к основанию;
- наносят на ребра укрупненных панелей короба риски, фиксирующие положение короба второй ступени фундамента;
- отступив от рисок на расстояние, равное толщине щитов, устанавливают предварительно собранный короб второй ступени;
- окончательно устанавливают короб второй ступени;
- в той же последовательности устанавливают короб третьей ступени;
- наносят на ребра укрупненных панелей верхнего короба риски, фиксирующие положение короба подколонника;
- устанавливают короб подколонника;
- устанавливают и закрепляют опалубку вкладышей;
- на верхнем ярусе схваток укрепляют монтажные петли;
- к нижним ярусам схваток или связям жесткости прикрепляют подкосы, обеспечивающие устойчивость панелей в вертикальном положении.
Смонтированная опалубка принимается по акту мастером или прорабом.
Демонтаж опалубки разрешается производить только после достижения бетоном требуемой согласно [18] прочности и с разрешения производителя работ. В процессе отрыва опалубки поверхность бетонной конструкции не должна повреждаться. Демонтаж опалубки производится в порядке, обратном монтажу.
После снятия опалубки необходимо:
- произвести визуальный осмотр опалубки;
- очистить от налипшего бетона все элементы опалубки;
- произвести смазку палуб, проверить и нанести смазку на винтовые соединения.
Армирование конструкций фундаментов принято плоскими сетками и отдельными стержнями; стыки арматуры сеток и каркасов выполняются вязальной проволокой внахлестку, без сварки, с расположением их в разбежку. Армирование стен принято сетками.
Замена арматурной стали по классу, марке, сортаменту должна быть согласована с Заказчиком и проектной организацией.
Перед монтажом арматуры производится контроль правильности установки опалубки. Арматурные работы выполняются в соответствии с [18].
Арматурные сетки подколонников доставляются на строительную площадку и разгружаются на площадке укрупнительной сборки, сетки башмаков - на площадке для складирования.
Сборка армокаркасов подколонника ведется на стенде сборки с помощью кондуктора, путем прихватки арматурных сеток между собой вязальной проволокой.
Армокаркасы и сетки башмаков массой свыше 50 кг устанавливаются автомобильным краном Kato NK-550.
Армирование фундаментов выполняется в следующем порядке:
- устанавливают арматурные сетки башмака на фиксаторы, обеспечивающие защитный слой бетона по проекту;
- после устройства опалубки башмака устанавливают арматурные подколонники с креплением его к нижней сетке вязальной проволокой.
Приемка смонтированной арматуры осуществляется до установки опалубки и оформляется актом освидетельствования скрытых работ.
Арматуру следует монтировать в последовательности, обеспечивающей правильное ее положение и закрепление. Смонтированная арматура должна быть закреплена от смещения и защищена от повреждений.
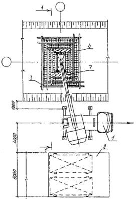
Схема производства арматурных работ для столбчатого фундамента показана на рис. 2.6.
Рисунок 2.6 Схема производства арматурных работ столбчатого фундамента
1 - кран автомобильный Kato NK-550; 2 - площадка складирования; 3 - опалубка фундамента; 4 - уложенные арматурные сетки; 5 - устанавливаемый арматурный каркас; 6 - строп; 7 - инвентарный щит (изготавливается по месту); 8 - фиксатор защитного слоя бетона
Перед укладкой бетонной смеси должны быть проверены и приняты все конструкции и их элементы, закрываемые в процессе последующего производства работ, с составлением акта на скрытые работы. Непосредственно перед бетонированием опалубка должна быть очищена от мусора и грязи. Поверхности опалубки должны быть покрыты смазкой.
В состав работ по бетонированию фундаментов входят:
- прием и подача бетонной смеси;
- укладка и уплотнение бетонной смеси;
- уход за бетоном.
Бетонирование фундаментов осуществляется в два этапа:
- на первом этапе бетонируют башмак фундамента и подколонник до отметки низа вкладыша;
- на втором этапе бетонируют верхнюю часть подколонника после установки вкладыша.
Бетонную смесь укладывают горизонтальными слоями толщиной 0,3-0,5 м.
Каждый слой бетона тщательно уплотняют глубинными вибраторами ИВ-102А. При уплотнении бетонной смеси конец рабочей части вибратора должен погружаться в ранее уложенный слой бетона на 5-10 см. Шаг перестановки вибратора не должен превышать 1,5 радиуса его действия и перекрытие предыдущего слоя бетона последующим должно быть выполнено до начала схватывания бетона в предыдущем слое (рис. 2.6).
Рисунок 2.7 Правила укладки и уплотнения бетонной смеси
1 - рабочий орган вибратора; 2 - опалубка; 3 - неуплотненный участок; 4 - укладываемый слой бетона; 5 - ранее уложенный слой бетона
В углах и у стенок опалубки бетонную смесь дополнительно уплотняют вибраторами или штыкованием ручными шуровками. Касание вибратора во время работы к арматуре не допускается. Вибрирование на одной позиции заканчивается при прекращении оседания и появления цементного молока на поверхности бетона. Извлекать вибратор при перестановке следует медленно, не выключая, чтобы пустота под наконечником равномерно заполнялась бетонной смесью.
Перерыв между этапами бетонирования (или укладкой слоев бетонной смеси) должен быть не менее 40 минут, но не более 2 часов.
После укладки бетонной смеси в опалубку необходимо создать благоприятные температурно-влажностные условия для твердения бетона. Горизонтальные поверхности забетонированного фундамента укрывают влажной мешковиной, брезентом, опилками, листовыми, рулонными материалами на срок, зависящий от климатических условий, в соответствии с указаниями строительной лаборатории.
Оптимальный режим выдерживания бетона: температура 18°С, влажность 90%.
До начала работ по демонтажу опалубки необходимо обеспечить требуемую прочность бетона. Минимальная прочность бетона при распалубке вертикальных конструкций фундамента при условии сохранения формы должна составлять 0,2-0,3 МПа.
б) Устройство стен подвала
Опалубочные панели стен собирают из отдельных щитов на специальных стендах. Последовательность сборки такова:
- щиты укладывают рабочей поверхностью вниз, в местах установки монтажных и рабочих креплений кладут деревянные рейки;
- выверяют габаритные размеры панелей, по контуру панелей прибивают деревянные бруски-ограничители;
- щиты соединяют между собой пружинными скобами или крюками;
- в местах расположения деревянных реек щиты соединяют болтами;
- в деревянных рейках в местах пропуска стяжек просверливают отверстия диаметром 18 - 20 мм;
- поверх щитов раскладывают схватки;
- схватки со щитами соединяют натяжными крюками с клиновым или винтовым запором;
- поверх схваток перпендикулярно им укладывают связи жесткости, для чего используют те же схватки;
- схватки со связями соединяют болтами;
- на верхнем ярусе схваток укрепляют монтажные петли;
- к нижним ярусам схваток или связям жесткости прикрепляют подкосы, обеспечивающие устойчивость панелей в вертикальном положении.
Устанавливают наружные опалубочные панели стены второго яруса и внутренние опалубочные панели первого яруса. Опалубочные панели устанавливают таким образом, чтобы нижнее внутреннее ребро панели совпало с нанесенными рисками. Между панелями кладут прокладки-компенсаторы из деревянных реек или оргалита для ликвидации всех отклонений в проектных размерах панели. Смежные панели соединяют пружинными крюками или болтами. Установку панелей опалубки производят с передвижных площадок. На монтируемых опалубочных панелях первого яруса должны быть закреплены подкосы. Стропы подъемного механизма могут быть освобождены лишь после того, как установленная и выверенная относительно горизонтальной оси панель раскреплена расчалками. После расстроповки ставят монтажные крепления между противоположными панелями. Для этого в отверстия деревянных реек пропускают проволочные стяжки и на их концах укрепляют клиновые замки. Затем с помощью регулировочных винтов подкосов выверяют панели относительно вертикальной оси. После соединения противоположных панелей и установки временных распорок инвентарные подкосы снимают и используют при монтаже других панелей. Расчалки оставляют до укладки в опалубку бетонной смеси.
Укладывают арматурные сетки и каркасы на всю высоту с раскреплением их расчалками; на арматурных сетках и каркасах располагают фиксаторы с шагом 1 м для создания защитного слоя бетона; работы ведутся с передвижных площадок; для временного крепления арматурных каркасов к опалубке используются струбцины.
Бетонируют I ярус стены по высоте. Бетонную смесь укладывают слоями 30-40 см. Бетонная смесь должна иметь осадку конуса 4-12 см. Подбор и назначение состава бетонной смеси осуществляется строительной лабораторией. Бетонирование стены производится краном Kato NK-550 в бадьях в сочетании с необходимым количеством автобетоносмесителей СБ-92-1А. Бетонирование стены следует производить без перерыва участками по 20 м с устройством заглушек из стальной сетки.
Устанавливают наружные опалубочные панели третьего яруса и внутренние опалубочные панели второго яруса. На щитах нижележащей панели закрепляют прокладки из деревянных реек. Вертикальные связи нижележащих панелей соединяют с вертикальными связями вышележащих панелей. Внутренние панели второго яруса крепятся расчалками к наружным панелям третьего яруса. На внутренние панели навешивают рабочие площадки для бетонирования. Производят выверку панелей и устанавливают рабочие крепления (проволочные) стяжки.
Бетонируют II ярус стены. Устанавливают внутреннюю опалубку третьего (верхнего) яруса. После выверки панелей на уровне верхнего яруса устанавливают 2-3 временные деревянные распорки, которые привязывают проволокой к стяжкам.
Бетонируют III ярус стены.
Снятие опалубки. Распалубку начинают с угловой точки. Сначала демонтируют по участкам фланцевые гайки и стержни. Неподпираемая сторона опалубки должна при этом фиксироваться от опрокидывания или сразу же удаляться.
2.5.3 Мероприятия, учитывающие специфику зимнего бетонирования
К зимнему бетонированию относятся работы, выполняемые при среднесуточной температуре наружного воздуха ниже 5°С и минимальной суточной температуре ниже 0°С. Считается, что зимнее бетонирование может производиться при температуре воздуха до минус 40°С. На практике зимнее бетонирование освоено до температуры минус 15-20°С.
Был принят наиболее экономичный метод выдерживания бетона при зимнем бетонировании – обогрев в греющей опалубке с дополнительным устройством электропрогрева.
Применение нагревательных проводов позволяет возводить здания и сооружения, не отличающиеся по своей прочности от возводимых в летний период.
Сущность элекропрогрева нагревательными проводами заключается в передаче выделенного проводами тепла в бетон контактным путем. Провода с металлической токонесущей изолированной жилой, подключаемые в электрическую сеть, работают как нагреватели сопротивления. Нагревательные провода закладываются непосредственно в массив монолитной конструкции.
В состав работ электропрогрева входят:
















