ПЗ ОБЩАЯ (1232381), страница 11
Текст из файла (страница 11)
- подготовка рабочей зоны и конструкции к бетонированию и электрообогреву бетона;
- укладка нагревательного провода в конструкцию;
- бетонирование конструкции;
- электротермообработка бетона;
- контроль качества бетона.
Работы выполняют в определенной последовательности:
- перед бетонированием размещают в конструкции нагревательные провода: в железобетонных конструкциях провод навивают на арматурные каркасы и сетки. Длину проволочных нагревателей в зависимости от рабочего напряжения принимают по номограмме (рис. 2.10).
Рисунок 2.10 Номограмма для определения длины проволочных нагревателей
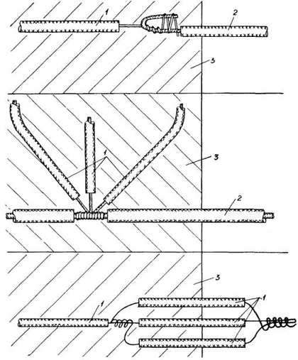
Нагревательный провод навивают в конструкции без сильного натяжения (с усилием до 30 - 50 Н). В углах с режущими кромками под проводом устанавливают дополнительную изоляцию из рубероида или битуминизированной бумаги. Крепят провода к арматуре вязальной проволокой, причем во избежание обгорания изоляции, замыкания на массу в густоармированных конструкциях и перегорания концов нагревательного провода из бетона наружу устраивают выводы из монтажного провода сечением 2,5 - 4 мм (рис. 2.11). Выводы располагают с одной стороны конструкции, а узлы соединений тщательно изолируют.
Рисунок 2.11 Выводы нагревательных проводов из бетона
1 - нагревательные провода; 2 - монтажные провода; 3 – бетон.
Опалубку монтируют частично не установленную, чтобы иметь возможность уложить нагревательные провода в конструкцию.
Нагревательные провода подключают к инвентарным секциям шинопроводов, подсоединенных с помощью кабеля к трансформаторной подстанции (рис. 2.12).
Рисунок 2.12 Схема электрообогрева ростверка
1 - инвентарная трехфазная секция шинопроводов;
2 - диэлектрический коврик;
3 - трансформаторная подстанция КТП-63-06;
4 - блок-приставка АРТ-2;
5 - инвентарное ограждение;
6 - сигнальные лампочки красного цвета;
7 - прожектор;
8 – ростверки.
После этого начинают бетонировать конструкцию, соблюдая при этом меры, предотвращающие повреждение изоляции и обрывы нагревательных проводов, в частности, не допускаются резкие удары и быстрое опускание рабочей части вибратора в опалубку, а также использование для уплотнения бетонной смеси штыкового и другого инвентаря с режущими кромками.
Горизонтальные поверхности готового изделия укрывают гидроизоляционными материалами (пленкой, битуминизированной бумагой и т.п.), а при большой площади открытых поверхностей укладывают также гибкие плоские электронагреватели (ГЭПы) и утеплитель. Для утепления обогреваемого бетона рекомендуется применять инвентарные гибкие теплоизоляционные покрытия (ТИГП), представляющие собой влагонепроницаемый чехол из прорезиненной ткани, внутри которого заключен утепляющий холстопрошивной стекломатериал марки ХПС.
Для регулирования температуры обогрева бетона в специальной скважине устанавливают выносной термодатчик системы автоматики и подают напряжение на проволочные электронагреватели (рисунок 2.13).
Рисунок 2.13 Схема электрообогрева ростверка
Продолжительность обогрева определяют в зависимости от температуры и требуемой конечной прочности бетона по графикам на рисунке 2.14.
Рисунок 2.14 Кривые набора прочности бетоном
при различных температурах его выдерживания для бетона М450
на портландцементе активностью 400 - 500
Скорость остывания бетона по окончании тепловой обработки для конструкций с модулем поверхности Мп = 5 - 10 и Мп > 10 - не более соответственно 5 °С и 10 °С в час. Температуру наружного воздуха замеряют один-два раза в сутки, результаты замеров фиксируются в журнале.
Не реже двух раз в смену, а в первые три часа с начала прогрева бетона через каждый час, измеряют силу тока и напряжение в питающей цепи. Визуально проверяют отсутствие искрения в местах электрических соединений.
Теплоизоляция и опалубка могут быть сняты не ранее того момента, когда температура бетона в наружных слоях конструкции достигает плюс 5 °С и не позже, чем слои остынут до 0. Не допускается примерзания опалубки гидро- и теплоизоляции к бетону.
Для предотвращения появления трещин в конструкциях перепад температур между открытой поверхностью бетона и наружным воздухом не должен превышать: а) 20 °С для монолитных конструкций с Мп < 5; б) 30 °С для монолитных конструкций с Мп > 5.
Электродный прогрев бетона фундаментов выполняет звено из 3-х человек (табл. 2.11).
Таблица 2.11 - Распределение операций по исполнителям
| № п/п | Состав звена по профессиям | Кол-во чел. | Перечень работ |
| 1. | Электромонтер V р. | 1 | Подсоединения КТП ТО-80/86 к питающей сети и к секциям шинопровода, расстановка и коммутация электродов |
| 2. | Электромонтер III р. | 1 | Расстановка шинопроводов, расстановка и коммутация электродов |
| 3. | Бетонщик III р. | 1 | Заготовка электродов, устройство гидро- и теплоизоляции |
Прогрев монолитных фундаментов осуществляется в следующей последовательности:
-
бетонщик заготавливает из стали диаметром 6 мм электроды необходимой длины и в нужном количестве;
-
электромонтер 5 разряда производит разделку концов жил кабеля, подсоединяет его к трансформаторной подстанции КТП ТО-80/86;
-
электромонтер 3 разряда расставляет инвентарные секции шинопроводов вдоль захватки, соединяет их между собой;
-
электромонтер 5 разряда подсоединяет секции шинопроводов к трансформаторной подстанции, производит заземление и опробывает работу на холостом ходу;
-
после укладки бетонной смеси в опалубку бетонщик укрывает верхние поверхности конструкции гидро- и теплоизоляцией;
-
электромонтеры 5 и 3 р. расставляют электроды в конструкцию согласно выбранной схемы, производят коммутацию электродов между собой и подключают их к секциям шинопровода. Подают напряжение на электроды.
Общий объем бетона для устройства фундамента составляет 301.7 м3. Работы по электропрогреву производить в 8 захваток по 8 фундаментов.
-
Требования к качеству работ
Требования к качеству поставляемых материалов и изделий, операционный контроль качества и технологические процессы, подлежащие контролю, приведены в таблице В.1 Приложения В.
Допускаемые отклонения:
- плоскостей от вертикали или проектного наклона на всю высоту фундаментов - 20 мм;
- отметок опорных поверхностей и закладных изделий - 5 мм;
- горизонтальных плоскостей на всю длину выверяемого участка - 20 мм;
- уклона опорных поверхностей фундаментов при опирании вышележащих конструкций - 0,0007;
- местных неровностей поверхности бетона при проверке двухметровой рейкой, кроме опорных поверхностей - 5 мм;
- длины элементов - ±20 мм;
- поперечного сечения элементов - +6 мм, -3 мм;
- расположения анкерных выпусков: в плане внутри контура опоры - 5 мм; в плане вне контура опоры - 10 мм; по высоте контура опоры - +20 мм;
- разницы отметок по высоте на стыке двух смежных поверхностей - 3 мм.
Приемку законченных бетонных и железобетонных конструкций или частей сооружений следует оформлять в установленном порядке актом освидетельствования скрытых работ или актом приемки ответственных конструкций.
-
Потребность в материально-технических ресурсах
2.5.6.1 Определение потребности в автобетоносмесителях.
Бетонную смесь транспортируют на объект в автобетоносмесителях СБ-92-1А, что предупреждает ее расслоение. Продолжительность транспортирования от места изготовления до места укладки не должна превышать 90 мин. Расслоившаяся растворная смесь должна быть перемешана на месте работ. Определение потребности в автобетоносмесителях отражено в расчете Г.1 Приложения Г. Определение продолжительности прогрева и прочности бетона отражено в расчетах Г.2 и Г.3 Приложения Г.
Машины и технологическое оборудование отражены в таблице Д.1 Приложения Д.
Технологическая оснастка, инструмент, инвентарь и приспособления отражены в таблице Д.2 Приложения Д.
Материалы и изделия отражены в таблице Д.3 Приложения Д.
-
Техника безопасности и охрана окружающей среды
При устройстве монолитных железобетонных конструкций «нулевого цикла» следует руководствоваться действующими нормативными документами. Безопасность производства работ должна быть обеспечена:
- выбором рациональной соответствующей технологической оснастки;
- подготовкой и организацией рабочих мест производства работ;
- применением средств защиты работающих;
- проведением медицинского осмотра лиц, допущенных к работе;
- своевременным обучением и проверкой знаний рабочего персонала и ИТР по технике безопасности при производстве строительно-монтажных работ.
Особое внимание необходимо обращать на следующее:
- способы строповки элементов конструкций должны обеспечивать их подачу к месту установки в положении, близком проектному;
- элементы монтируемых конструкций во время перемещения должны удерживаться от раскачивания и вращения гибкими оттяжками;
- не допускать нахождения людей под монтируемыми элементами конструкций до установки их в проектное положение и закрепление;
- при перемещении краном грузов расстояние между наружными габаритами проносимых грузов и выступающими частями конструкций и препятствий по ходу перемещения должно быть по горизонтали не менее 1 м, по вертикали не менее 0,5 м; монтаж и демонтаж опалубки может быть начат с разрешения технического руководителя строительства и должен производиться под непосредственным наблюдением специально назначенного лица технического персонала;
- не допускается касание вибратором арматуры и нахождение рабочего в зоне возможного падения груза;
Разборка опалубки допускается после набора бетоном распалубочной прочности и с разрешения производителя работ.
Отрыв опалубки от бетона производится с помощью домкратов и крана. В процессе отрыва бетонная поверхность не должна повреждаться.
Рабочие места электросварщиков должны быть ограждены специальными переносными ограждениями. Перед началом сварки необходимо проверить исправность изоляции сварочных проводов, а также плотность соединения всех контактов. При перерывах в работе электросварочные установки необходимо отключать от сети.
Погрузочно-разгрузочные работы, складирование и монтаж арматурных каркасов должны выполняться инвентарными грузозахватными устройствами и с соблюдением мер, исключающих возможность падения, скольжения и потери устойчивости грузов.
Строповку поднимаемых элементов производить только гибкими стальными стропами, тросами, имеющими бирку. Стропы должны легко надеваться и сниматься с крюка подъемного механизма, а также легко освобождаться от поднимаемых конструкций или элементов. Стропы не должны иметь узлов, петель или перекрутов.
Не оставлять на весу поднятые изделия.
-
Технико-экономические показатели
Калькуляция затрат труда и машинного времени. Калькуляция представлена в таблице Е.1 Приложения Е.
График производства работ по бетонированию конструкций «нулевого цикла» приведен на листе ТХ-1 технологической карты.
Технико-экономические показатели рассчитаны на 1 м3 железобетона в деле (общий объем работ – 335,10 м3) и отражены в таблице 2.12.
1. Трудоемкость на весь объем работ:
- нормативная трудоемкость (по табл. 2.11) Тн = 167,37 чел.-см.
- проектная трудоемкость (по графику производства работ, лист ТХ-1)
Тп = ∑Nр∙t, (2.19)
















