ПОЯСНИТЕЛЬНАЯ ЗАПИСКА (1231388), страница 2
Текст из файла (страница 2)
На участке, содержащем диод с обрывом внутренней цепи, вольтметра не покажет уменьшение напряжения.[2]
Проверить обратный ток вентилей без изъятия их из блока выпрямительной установки. Шунты отсоединить и проверить с помощью пробника, подключая его концы поочерёдно к каждой ветви вентилей. По миллиамперметру определяют суммарный обратный ток всех вентилей ветви. Если ток больше 3 мА при напряжении 50-100 В, то это указывает на наличие в ветви вентиля с повышенным обратным током. Дефектный вентиль определяют путём последовательной проверки каждого вентиля колонки. У неисправного вентиля обратный ток будет больше 1 мА при напряжении 50-100 В. Обратный ток вентилей в холодном состоянии измеряют пробником. Переключатель I7 устанавливают в положение II, а концы пробника Х1, Х2 подключают поочередно к каждому вентилю.
Вентиль с повышенным обратным током снимают с установки и ввертывают моментным ключом в гнездо нагревательной печи, где его нагревают до температуры (140±5) ° С. Затем вновь замеряют обратный ток. При номинальном напряжении для данного класса (800 В для 8-го класса) обратный ток не должен превышать 10 мА.
Проверку тиристоров на обратный ток при комнатной температуре корпуса можно произвести пробником. Обратный ток тиристоров Т2-320 и Т-500 не должен превышать 40-50 мА. Неисправный вентиль или тиристор заменяют. [3]
Перед снятием вентилей отсоединяют гибкие провода и специальным ключом отвертывают вентиль. Для этого надевают торцовую насадку на вентиль. В квадратное отверстие вставляют специальную головку без моментного приспособления и аккуратно поворачивают рычаг ключа против часовой стрелки. Если для отворачивания вентиля требуются большие усилия, - то ослабляют крепление контактной пластины (вывертывают винты). Если и это не помогает, то в исключительных случаях удлиняют рычаг ключа специальной трубой. При этом общая длина рычага не должна превышать 500 мм. В выпрямительных установках применяют вентили определенного класса. Не разрешается применять вентили пониженного класса. Падение напряжения на вентиле и его класс определяют по журналу или ведомости испытаний.
Перед установкой вентиля производят подготовку посадочного места в охладителе. Резьбовое отверстие охладителя, посадочное место токосъемной пластины, основание и резьбу вентиля тщательно протирают и покрывают тонким слоем смазке ЦИАТИМ-201. Вентиль вручную ввертывают в охладитель. Окончательную затяжку производят моментным ключом до тех пор, пока головка ключа не станет давать щелчки.
Закончив затяжку, удаляют лишнее масло, проверяют поверхность прилегания основания вентиля к контактной пластине и пластины к охладителю. Плотность прилегания проверяют щупом толщиной не более 0,03 мм. Проверку плотности затяжки диодов производят сразу после проверки их на обратный ток, пока отсоединены все гибкие выводы. Поверхность прилегания должна быть не менее 75% всей площади. Гибкий вывод не должен иметь поврежденных жил, а наконечник должен плотно прилегать к контактной поверхности. [3]
Для замены тиристоров таблеточной конструкции необходимо снять с установки ВИП блок тиристоров. Для снятия блока отсоединяют все гибкие вы воды от шин тиристора и подходящие к блоку провода. Отвертывают болты, крепящие блок тиристора к несущим панелям плеча ВИП. Ослабляют крепежные болты соседнего блока тиристоров, находящегося в этом же ряду па вертикали. Берут блок за ручку и вынимают его из плеча. Для снятия неисправного тиристора с этого блока отпаивают провода с анода диода в цепи управляющего вывода; снимают диод цепи управляющего вывода и резиновые уплотнения с силовых шинных выводов тиристора. Отвертывают гайки, крепящие тиристор к панели блока.
Перед постановкой тиристора с охладителем укладывают поверх охладителя тиристора тонкую стеклотекстолитовую прокладку. Устанавливают на тиристор стеклотекстолитовую панель блока. Закрепляют тиристор на панели четырьмя гайками с применением простых и пружинных шайб и надевают резиновые уплотнения на шинные силовые выводы тиристора. Таблеточный тиристор снимают с нормированным усилием. Большое усилие может привести к его повреждению, а меньшее к перегреву. Управляющий вывод тиристора крепят на втулке диода. Провод от резистора подсоединяют к аноду диода. Устанавливают блок тиристоров на свое место в плече ВИП и крепят к несущим панелям. Подсоединяют к тиристорам и вспомогательным элементам установленного блока сетевые гибкие выводы, провода цепи управляющего вывода и провода к резистором связи.
Для снятия поврежденного резистора паяльником мощностью не более 50 Вт отпаивают соединительные провода от контактных выводов. Отвинчивают шпильки крепления держателей резисторов. Снимают пружинные, изоляционные и контактные шайбы. Резистор снимают и в обратном порядке устанавливают исправный. Соединительные провода к контактным выводам припаивают припоем ПОССу 61-0,5. Места пайки покрывают лаком НЦ-62.
Для замены конденсатора отпаивают подводящие провода. Снимают крепящие скобы и изоляционные прокладки, а затем и конденсатор. Исправный конденсатор устанавливают в обратном порядке. Подводящие провода припаивают к контактным выводам припоем ПОССу 61-0,5. Если доступ к конденсаторам и резисторам затруднен, то снимают крепление панели и выдвигают ее. [3]
Поврежденный охладитель выпрямительно-инвентарного преобразователя заменяют. Отсоединяют монтажные провода, гибкие выводы тиристоров снимаемого блока и вентилей соседних блоком от заменяемого охладителя. Отгибают стопорные шайбы и отвертывают гайки с крепежных шпилек. Вынимают блок. Отвертывают гайки со шпилек блока, снимают поврежденный охладитель и устанавливают исправный. Если установке мешают резисторы, конденсаторы и другие детали, их отсоединяют. После установки блока охладителей вентили крепят моментным ключом.
Проверить и осмотреть состояние гибких выводов тиристоров. При обрыве жил более 15% площади сечения тиристор заменяют. Место постановки протирают ветошью, увлажненной в бензине, и покрывают тонким слоем смазки ЦИАТИМ-201. Резисторы, конденсаторы, диоды с надломленными контактными вы водами, поврежденными корпусами (трещины, вмятины и т. п.) заменяют.
Для проверки вспомогательных элементов выпрямительной установки (резисторов Rш, R, конденсаторов С) сначала визуально определяют состояние выводных проводов, выявляют наличие механических повреждений (вмятин, трещин и оплавлений). Затем отсоединяют провода, ведущие к вспомогательным элементам, и разделяют цепи Rш и RС. Проверку производят согласно схеме. Проверяя резисторы Rш, переключатель пробника устанавливают в положение I. Концы проводов Х1, Х2 подключают к выводам каждого резистора и наблюдают за показанием вольтметра. При исправном резисторе показание уменьшается. Если напряжение не уменьшается, то в резисторе обрыв. Резное падение напряжения указывает на короткое замыкание в цепи резистора.
При проверке цепочек 1С переключатель пробника устанавливают в положение II Концы проводов Х1, Х2 поочередно подключают к каждой цепочке. Кратковременное отклонение стрелки вольтметра в сторону уменьшения напряжения указывает на исправность цепочки RС (исправны резистор и конденсатор). Если стрелка вольтметра неподвижна, то имеется обрыв цепи или не снят заряд с конденсатора. Конденсатор следует разрядить и повторить замер. При пробое конденсатора стрелка вольтметра устанавливается на нуль и в первоначальное положение не возвращается.
Сопротивление изоляции выпрямительных установок проверяют мегаомметром напряжением 2500 В при закороченных вентилях. Сопротивление изоляции между токоведущими частями и корпусом должно быть не менее 30 МОм, между охладителями и стягивающими шпильками, между шпильками и корпусом для электровозов — не менее 10 МОм. Перед началом замеров все выводные шины следует соединить между собой перемычками накоротко и оградить испытуемый шкаф установки для безопасности работающих.
Обнаружив шпильку с пониженной изоляцией, разбирают элемент блока. Предварительно отсоединяют шунты вентилей и другие токоведущие части. Отгибают стопорные пластины, отвертывают гайки и снимают блок. Разобрав блок, снимают со шпилек охладители с вентилями, дистанционные прокладки, заменяют поврежденную изоляционную трубку. Собирают блок, устанавливают на место и вновь проверяют сопротивление изоляции.
Испытание электрической прочности изоляции токоведущих частей относительно корпуса производят при закороченных диодах и тиристорах. Соединяют перемычками входные и выходные сборные шины плеч установок. Напряжение, подаваемое от источника переменного тока частотой 50 Гц, плавно повышают от 1400 В в течение 10 с до испытательного напряжения. Это напряжение выдерживают в течение 1 мин, плавно снижают до 1400 В и отключают источник. Значения испытательного напряжения приведены паспортах и в зависимости от типа установка колеблются от 5 - 9 кВ. Ремонтируют каркасы шкафов выпрямительной установки. Восстанавливают поврежденную или утраченную окраску сборных лан, жгутов и проводов. Шины окрашивают в те же цвета, такими они были окрашены ранее. Жгуты окрашивают эмалью ГФ-92-ХС.
Отремонтированную и проверенную выпрямительную установку устанавливают на ЭПС. Закрепляют и затягивают все крепящие летали, устанавливают и крепят детали уплотнения и воздушного охлаждения. Подсоединяют силовые кабели и провода управления. Поверяют надежность крепления заземляющих шин или шунтов. [3]
1.3 Анализ КТП и ТИ тепловозов
1.3.1 Установка возбуждения тепловоза ТЭП 70
Выпрямитель типа В-ТППД-6,3к-1к-УХЛ2 (рисунок 1.2) предназначен для выпрямления переменного тока тягового генератора в постоянный, необходимый для питания тяговых электродвигателей постоянного тока.
Техническая характеристика выпрямителя приведена в таблице 1.1
Таблица 1.1 – Технические характеристики выпрямителя В-ТППД-6,3к-1к-УХЛ2
| Наименование | Значение |
| 1 | 2 |
| 1. Входные параметры | |
| Номинальное напряжение питания трехфазной сети (линейное), В | 770 |
| Частота напряжения питающей сети, Гц | 25 - 155 |
| 1 | 2 |
| 2. Выходные параметры | |
| Номинальный выходной ток, А (среднее значение) | 6300 |
| Максимальный ток в течение 2 мин при номинальном расходе воздуха, А | 10000 |
| Максимальный ток в течение 5 мин при номинальном расходе охлаждающего воздуха, А | 8100 |
| Максимальный ток в течение 2 мин при 70% расходе охлаждающего воздуха, А | 6500 |
| Номинальное выходное напряжение, В | 1000 |
| КПД, не менее, % | 99,6 |
| Габаритные размеры, мм | |
| Длина | 800 |
| Глубина | 700 |
| Высота | 1000 |
| Масса, кг | 420 20 |
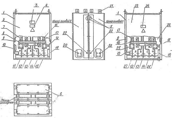
Конструктивно выпрямитель выполнен в виде двух шкафов, остовом которых служит каркас 1 из профильной и листовой стали (рисунок 1.3).
Обслуживание двустороннее. Для удобства обслуживания и ремонта передние щиты 2, 23 и панель 6 съемные.
В шкафу имеются диодные блоки и предохранители типа ППА-630-660-1-1 УХЛ3 (п.7.8.25.26),, расположение которых выполнено с учетом удобства монтажа и обслуживания при эксплуатации.
1-каркас; 2-щит; 3-щиток заводской; 4-табличка; 5-панель; 6-съемная панель; 7-блок диодов; 8-блок диодов; 9-плата сигнализации; 10-блое реле; 11-шина “+”; 12-шина “А”; 13-шина “В”; 14-шина “С”; 15-шина “-”; 16-шина; 17-предохранитель; 18-конечный выключатель; 19-клеммный блок; 20-болт М12х55; 21-грузовой уголок; 22-болт заземления; 23-щит; 24-табличка; 25-блок диодов; 26-блок диодов; 27-шина “+”; 28-“-”















