Диплом2 (1224649), страница 2
Текст из файла (страница 2)
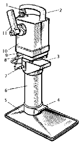
1 – пробка с отверстием (сапун); 2 – ручка для переноски домкрата; 3 – несъёмное приспособление для рихтовки; 4 – грузоподъёмная лапа; 5 – опорная плита; 6 – цилиндр; 7 – стопорный винт; 8 – спускной вентиль; 9 – клапанная коробка; 10 – резервуар для масла; 11 – рукоятка насоса (съёмный стержень не показан)
Рис. 1. Домкрат ПДР-8.
При работе домкрат устанавливают вертикально в шпальный ящик, грузоподъёмную лапу заводят под подошву рельса, спускной вентиль завёртывают до отказа в корпус и перемещают рукоятку со съёмным стержнем до подъёма пути на необходимую высоту. В исходное состояние домкрат приводится поворотом против часовой стрелки спускного вентиля на один – два оборота. Если усилие подъёмки превышает допускаемое, срабатывает предохранительный клапан и грузоподъёмная лапа опускается вниз. Заливают масло в резервуар через отверстие в корпусе, закрытое сапуном (пробкой с отверстием).
Гидравлический домкрат ДРН – 10/15
Более современный домкрат ДРН-10/15 грузоподъёмностью до 15 т применяется для подъёмки пути и стрелочных переводов как на деревянных, так и на железобетонных шпалах и брусьях. По конструкции домкрат ДРН-10/15 близок к ПДР-8.
Домкрат путевой гидравлический ПГ9-15Р
Домкрат путевой гидравлический ПГ9-15Р (рис.2) предназначен для подъёмки железнодорожного пути на деревянных и железобетонных шпалах, имеет встроенный ручной насос. Вся система объединена в общий корпус.
Рис. 2Путевой домкрат ПГ9-15Р
1.2 Гидравлические рихтовщики.
Рихтовочные приборы применяют для поперечной сдвижки (рихтовки) пути и стрелочных переводов. В одном комплекте используют от 3 до 9 рихтовочных приборов, в зависимости от типа верхнего строения пути. Приборы устанавливают через 2-3 шпальных ящика по обеим рельсовым нитям в шахматном порядке. Большее количество приборов устанавливают у той рельсовой нити, в сторону которой будет выполняться рихтовка.
1 – двухплунжерный насос; 2 – резервуар с маслом; 3 – шток; 4 – трёхступенчатый рельсовый захват; 5 – опорное устройство
Рис. 3. Гидравлический рихтовщик ГР-12Б
Ручной гидравлический рихтовщик ГР-12Б (рис. 3) устанавливается так, чтобы упор гидравлического толкателя упирался в подошву рельса. Отрывка балласта в шпальных ящиках или рыхление его у торцов шпал не требуется. Опорное устройство обеспечивает сцепление с балластом. При перемещении рукоятки сошник и передний конец стойки заглубляется в балласт, путь вывешивается на небольшую высоту и перемещается в поперечном направлении.
Аналогичную конструкцию имеет и гидравлический рихтовщик ГР-14 (рис.2.4) производства Калужского завода “Ремпутьмаш”, который развивает усилие на штоке 6 т (в том числе, передающееся горизонтально – 4 т).
Рис. 4. Гидравлический рихтовщик ГР-14
Моторные гидравлические рихтовщики РГУ1, РГУ2 (рис. 5) имеют моторно-насосную группу, состоящую из гидронасоса, редуктора и одноцилиндрового бензинового двигателя с воздушным охлаждением (РГУ1М) или трёхфазного электродвигателя (РГУ1МЕ), а также простую и надёжную гидросистему с четырьмя гидроцилиндрами.
Двигатель и гидронасос прикреплены к раме, которая перемещается по рельсу. Общее усилие, развиваемое четырьмя гидроцилиндрами, – 24 т. Масса рихтовщика – 80, 90 или 110 кг, в зависимости от типа двигателя.
1 – рама; 2 – изоляция рамы от цилиндров; 3 – регулятор давления; 4 – топливный бак; 5 – масляный бак; 6 – насос; 7 – двигатель; 8 – гидравлический цилиндр; 9 – ролик для перемещения по рельсу.
Рис. 5. Моторный гидравлический рихтовщик
1.2.2 Разгонщики зазоров, гидронатяжители и шпалоперегонщики.
Гидравлические разгонщики РН-01, РН-02, РН-03 и РН-04.
Гидравлические разгоночные приборы предназначены для разгонки зазоров в рельсовых стыках при укладке и текущем содержании пути.
С их помощью восстанавливают нормальные стыковые зазоры, нарушенные в процессе эксплуатации пути. От стыка к стыку прибор перемещают по головке рельса на роликах. Приборы устанавливают над стыком и закрепляют рычагами с помощью зажимных клиньев за головки рельсов (рис. 6).
1 – спускной вентиль; 2 – плунжерный насос; 3 – резервуар с маслом; 4 – рычаги;
5 – распорный цилиндр; 6 – пружина; 7 – ролик; 8 – зажимные клинья.
Рис. 6. Гидравлический разгоночный прибор РН-03
При перекачке масла из рабочего резервуара в цилиндр создаётся распорное усилие, в результате которого перемещаются рельсы незакреплённой плети. После достижения нормальной величины зазоров в перемещаемой плети открывают спускной вентиль, под действием пружин штоки возвращаются в исходное положение. Затем рычагами освобождают зажимные клинья, прибор переставляют к месту следующей установки.
Гидравлический разгоночный прибор РН-03 – улучшенная конструкция прибора РН-01. Он более надёжен в работе, удобен в обслуживании. В приборе снижена металлоёмкость, упрощена и улучшена конструкция привода насоса. Применяется также менее мощный прибор РН-02. В настоящее время Товарковским машиностроительным заводом “Ремпутьмаш” серийно выпускается прибор РН-04, а ОАО “КалугаТРАНСМАШ” выпускает разгонщик Р25, в котором применены современные уплотнения из полимерных и композиционных материалов, усовершенствованы клиновые захваты,
применён гидронасос с принудительным возвратом плунжеров, гидроцилиндры с ограничителем хода. Основные характеристики гидравлических разгоночных приборов приведены в табл.2.
Таблица 2.Основные характеристики гидравлических разгонщиков.
| Марка | Максимальное усилие, т | Рабочий ход штоков, мм | Усилие на рукоятке гидронасоса, кгс | Масса, кг |
| РН-01А РН-02 РН-03 РН-04 Р25 | 25 12 24,5 25,5 25 | 150 100 150 100 100 | 18 22 18 15 - | 78 37 58 - 60 |
Устройство гидравлическое натяжное УНГ75
Натяжное устройство УНГ75 (рис.7) предназначено для разрядки температурных напряжений в плетях бесстыкового пути. Кроме того, оно может применяться для подтягивания или раздвижки рельсов при их монтаже, сварке и резке. УНГ75 может применяться и для разгонки и регулировки зазоров.
Рис. 7. Гидронатяжитель УНГ75.
Давление в гидроцилиндрах создаётся ручным насосом ГР1 или насосом НГ-Э1 с электродвигателем. Обрабатываются рельсы типа Р50, Р65 и Р75. Характеристики устройства приведены в табл.3.
Таблица 3. Характеристики устройства гидравлического натяжного УНГ75
| Наименование характеристики | Значение |
| Усилие раздвижки на (одном рельсе), т Усилие сдвижки, т Рабочее давление, МПа Ход цилиндра, мм Габаритные размеры (без рукавов подсоединения), мм Масса (без насоса), кг Масса насоса (с электродвигателем), кг Масса самого тяжёлого элемента, кг | до 75 61.4 31.6 350 1480х870х350 380 50 66 |
Растяжитель гидравлический СПН-100-500
Гидравлическое натяжное устройство СПН-100-500 (рис. 8) предназначено для ввода плетей бесстыкового пути в расчётный интервал температур.
Рис 8. Гидравлическое натяжное устройство СПН-100-500.
На плети длиной 800 м обеспечивается продольное перемещение (растяжение) на 380 мм. Максимальное продольное усилие подтягивания рельса – 100 т. Насос приводится в действие электродвигателем. При установленном приборе пропуск поездов по пути невозможен.
Гидравлическое натяжное устройство ТН-70
Гидравлическое натяжное устройство ТН-70 предназначено для введения плетей бесстыкового пути в расчётный температурный интервал закрепления. Устройство состоит из двух гидравлических цилиндров, четырёх эксцентриковых зажимов рельсов, ручного насоса и двух удлинительных штанг. В собранном виде устройство обеспечивает габарит прохождения подвижного состава.
По утверждению производителя (ОАО "НИИТРАНСМАШ"), преимуществами ТН-70 по сравнению с аналогами являются мобильность, простота обслуживания, отсутствие расходных материалов (бензина, дизельного топлива) и экологическая чистота.
Вес устройства в сборе – 345 кг, усилие подтягивания рельса не более 70 т, усилие на рукоятке насоса до 450 Н (45 кг).
Шпалоперегонщик ШПГ-10
Шпалоперегонщик (рис. 9) предназначен для использования в работах по ремонту и текущему содержанию пути для перегонки и установки по эпюре деревянных или железобетонных шпал на рельсах Р50, Р65, Р75 без предварительного удаления балласта из соседних шпальных ящиков.
1 – шпала; 2 – рельс; 3 – два гидроцилиндра;
4 – клиновый зажим; 5 – спускной вентиль.
Рис.9 Схема гидравлического шпалоперегонщика ШПГ-10.
По данным производителя (Одесский механический завод, разработчик ПТКБ ЦП МПС), ШПГ-10 обеспечивает в 2.5 раза большее усилие сдвижки и более высокую производительность – по сравнению с аналогичными устройствами.
Шпалоперегонщик устанавливается на рельс над шпалой, фиксируется клиновым зажимом за головку рельса. Под подошву рельса заводится шСпускной вентиль закрывется и движением ручки прибора создаётся давление в гидроцилиндре. Распорным усилием шпала перемещается относительно рельса (рис.10).
Максимальное усилие, развиваемое шпалоперегонщиком – 10 т, рабочий ход упоров – не менее 100 мм, масса не более 30 кг.
Рис.10 Гидравлический шпалоперегонщик ШПГ-10.
Обслуживание гидравлических инструментов
Для обеспечения безотказной работы гидравлических приборов необходимо придерживаться указаний, приведённых в инструкциях:
· перед началом работы проверяют наличие масла в приборе. В домкраты заливают только чистое и профильтрованное через сетчатый фильтр веретённое масло №3. В домкратах ПДР-8 масло должно быть залито до верха резервуара, а в домкратах ДГ-9 – до оси вала привода насоса;
· проверяют состояние крепления роликов, поводков, рычагов, рукояток насосов, болтов, соединяющих резервуар с корпусом гидроцилиндров, крышек масляного резервуара, затяжку сальников вала и перепускного клапана. В случае необходимости подтягивают ослабшие крепления;
· проверяют насечку зажимных клиньев, заменяют негодные;
· проверяют исправность перепускного клапана и работу прибора без нагрузки, при закрытом перепускном вентиле;
· проверяют отсутствие воздуха в гидросистеме прибора, при наличии воздуха слегка выворачивают из корпуса сапуна пробку и производят несколько качаний
рукоятками насоса, при этом воздух из прибора выйдет через отверстие в корпусе сапуна.
После окончания работы гидравлические приборы очищают от грязи, пыли и попавшего на корпус масла, осматривают для выявления неисправностей, повреждений, ослаблений крепежа уплотнений.
Обнаруженные неисправности устраняются в мастерских, в закрытых помещениях с применением специальных приспособлений и инструментов (съёмников, оправок и др.).
2. Основные неисправности гидравлического путевого механизированного
инструмента и способы их устранения
Основные неисправности гидравлических путевых домкратов и способы их устранения
Таблица 4. Основные неисправности гидравлических путевых домкратов и способы их устранения
| Неисправности | Причина | Способ устранения |
| неисправности | неисправности | |
| Неплавное | Наличие воздуха в | Выпустить воздух из |
| перемещение цилиндра | системе | системы |
| домкрата | ||
| Неплотность | Проверить соединения | |
| Соединений | ||
| Утечка масла у бака | Разрушена резиновая | Заменить прокладку |
| прокладка бака | ||
| Утечка масла из | Износ манжеты | Заменить манжету |
| цилиндра домкрата | ||
| Утечки масла через | Излом или ослабление | Подтянуть пружины |
| клапаны | клапанных пружин | или заменить |
Основные неисправности гидравлических рихтовщиков и способы их устранения















