Расчеты - 2 (53стр.) (1220928), страница 4
Текст из файла (страница 4)
Продолжение таблицы 16
|
| 0,24 | 0,24 | 0,85 | 0,85 | 0,85 |
|
| 0,24 | 0,24 | 0,83 | 0,83 | 0,83 |
|
| 0,2 | 0,2 | 0,43 | 0,43 | 0,43 |
|
| 8,47 | 11,3 | 25,72 | 28,23 | 19,35 |
|
| 79,04 | 79,04 | 169,94 | 169,94 | 196,94 |
|
| 13,24 | 8,91 | 11,96 | 9,69 | 19,48 |
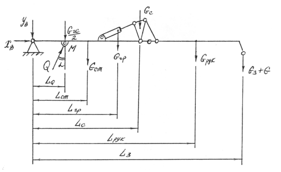
Таблица 17 – Параметры манипулятора относительно шарнира О
| Параметры | Положения манипулятора | ||||
| I | I' | II | II' | III | |
|
| 2,1 | 3,15 | 2,1 | 2,15 | 0 |
|
| 5,15 | 7,72 | 5,15 | 7,72 | 0 |
|
| 0,82 | 1,34 | 0,91 | 1,34 | 0 |
|
| 0,48 | 0,74 | 0,54 | 0,79 | 0 |
|
| 5,63 | 8,46 | 5,69 | 8,51 | 0 |
|
| 0,24 | 0,24 | 0,17 | 0,17 | - |
|
| 0,32 | 0,32 | 0,15 | 0,15 | - |
|
| 0,37 | 0,34 | 0,2 | 0,2 | - |
|
| 67,54 | 62,07 | 55,17 | 55,17 | - |
|
| 18,33 | 10,19 | 14,46 | 8,75 | - |
2.3.2 Расчет нагрузок манипулятора
2.3.2.1 Расчет реальных усилий гидроцилиндра рукояти и гидроцилиндра стрелы
Сравнивая последние строки таблиц 16 и 17, выбираются для каждого положения манипулятора наименьшие значения силы тяжести груза, определяются грузоподъемность манипулятора.
Усилие в гидроцилиндре рукояти определяется по формуле:
(52)
где
- сумма изгибающих моментов относительно шарнира О от сил тяжести элементов манипулятора;
- грузоподъемность манипулятора в данном положении.
Усилие в гидроцилиндре стрелы определяется по формуле:
(53)
где
- сумма изгибающих моментов относительно шарнира В от сил тяжести элементов манипулятора.
Исходные данные и результаты вычислений сведены в таблицу 18.
Таблица 18 – Реальные усилия в гидроцилиндрах манипулятора
| Параметры | Положения манипулятора | ||||
| I | I' | II | II' | III | |
|
| 13,24 | 8,91 | 11,69 | 8,75 | 19,48 |
|
| 27,8 | 28,07 | 24,55 | 27,56 | 0 |
|
| 5,63 | 8,46 | 5,69 | 8,51 | 0 |
|
| 0,24 | 0,24 | 0,17 | 0,17 | - |
|
| 0,32 | 0,32 | 0,15 | 0,15 | - |
|
| 0,37 | 0,34 | 0,2 | 0,2 | - |
|
| 184,33 | 219,16 | 204,12 | 243,48 | - |
|
| 37,2 | 34,39 | 72,47 | 63,44 | 78,89 |
|
| 8,47 | 11,3 | 25,72 | 28,23 | 19,35 |
|
| 0,2 | 0,2 | 0,43 | 0,43 | 0,43 |
|
| 395,08 | 395,24 | 395,08 | 368,8 | 395,26 |
2.3.2.2 Расчет усилий в механизме складывания рукояти
Механизм складывания рукояти рассчитывается для положений манипулятора (II') и (I'), как наиболее нагруженных. Расчетная схема для определения усилий в механизме складывания приведена на рисунке 34.
Положение II
Положение I
Рисунок 34 – Расчетная схема механизма складывания рукояти
Их масштабной расчетной схемы механизма складывания рукояти определяется:
1) угол между линией действия усилия
в шатуне СД (
) и горизонталью;
2) угол
между линией действия усилия
гидроцилиндра рукояти и вертикалью;
3) Плечо ОК – расстояние от шарнира О до линии действия усилия
в шатуне.
Рассматривая рукоять отдельно от стрелы, заменяя ее воздействие реакциями в шарнирах.
Рассматривая сумму моментов сил относительно шарнира О, получается формула для определения усилия
в шатуне:
(54)
где
, здесь
- количество шарниров, трение в которых мешает вращению.
Тогда
.
Рассматривая суммы сил по горизонтали и вертикали, получаем формулы для определения составляющих реакции в шарнире О:
(55)
(56)
Тогда
.
Рассматривая стрелу отдельно от рукояти, соответственно заменяя ее воздействие реакциями в шарнирах.
Рассматривая суммы сил по горизонтали и по вертикали, получаем формулы для определения составляющих реакции в шарнире О':
(57)
(58)
Тогда
.
Исходные данные и результаты расчетов сведены в таблице 19.
Таблица 19 – Расчет усилий в механизме складывания рукояти
| Расчетные параметры | Положение манипулятора | |
| I' | II' | |
| Сила тяжести рукояти, | 0,59 | 0,59 |
| Сила тяжести захвата, | 2,45 | 2,45 |
Продолжение таблицы 19
| Сила тяжести груза, | 8,91 | 8,75 |
| Плечо | 1,34 | 1,34 |
| Плечо | 3,15 | 3,15 |
| Плечо | 0,21 | 0,17 |
| Угол | 18 | 22 |
| Угол | 2 | 87 |
| КПД шарниров О и С | 0,81 | 0,81 |
| Усилие | 219,16 | 243,48 |
| Усилие | 315,24 | 384,05 |
| Реакция | 299,81 | 356,09 |
| Реакция | 109,37 | 132,08 |
| Реакция | 319,14 | 379,80 |
| Реакция | 292,16 | 112,94 |
| Реакция | 121,61 | 156,61 |
| Реакция | 316,46 | 193,09 |
2.3.2.3 Расчет реакций в шарнире В и в шарнирах гидроцилиндра стрелы
Расчетная схема для определения указанных реакций приведена на рисунке 35 для положения II'.
Рисунок 35 – Расчетная схема
Расчет производится для положения II', как наиболее нагруженного.
Реакции в шарнире М от усилия гидроцилиндра стрелы определяются по формулам:
, м
, кНм
, м
, кНм
, кН
,м
, кНм
, м
, кНм
,м
,м
,м
, кНм
, кН
, кНм
, кНм
, кН
, кН
, кН
, м
, кН
, кН
, кН
, кН
, кН
, кН















