Расчеты - 2 (53стр.) (1220928), страница 3
Текст из файла (страница 3)
(41)
В данном случае стабилизирующий момент будет равен:
(42)
Опрокидывающий момент будет равен:
(43)
где
- высота центра тяжести базового автомобиля, м;
- высота центра тяжести манипулятора, м;
- высота подъема груза при максимальном вылете КМУ, м.
Подставив данные выражения в формулу (33) и проведя необходимые математические преобразования, получаем формулу для определения максимального угла поперечного уклона при данном положении автомобиля:
(44)
Исходя из условия, что допустимый коэффициент устойчивости
, производиться расчет максимального угла поперечного уклона.
Исходные данные и результаты расчета максимального угла представлены в таблице 13.
Таблица 13 – Расчет продольной устойчивости при работе автомобиля на склоне
| Параметры | Значения |
|
| 1,1180 |
|
| 2,850 |
|
| 2,580 |
2.2.6 Расчет устойчивости при движении автомобиля с КМУ на повороте
Условие опрокидывания автомобиля при движении на повороте определяется по формуле:
(45)
где
- ширина колеи автомобиля, м;
- радиус поворота автомобиля, м;
- высота центра тяжести груза, м;
- ускорение свободного падения;
- скорости движения при опрокидывании.
При движении автомобиля с КМУ на повороте возможен случай заноса. Условие заноса автомобиля укладывается в формулу:
(46)
где
= 0,6 – коэффициент скольжения для грунтовой дороги с щебеночным покрытием.
Желательно, чтобы выполнялось условие
.
Необходимые исходные данные и результаты расчетов представлены в таблице 14.
Таблица 14 – Расчет устойчивости автомобиля при движении на повороте
| Параметры | КамАЗ с КМУ |
|
| 23,84 |
|
| 1,47 |
|
| 1,895 |
|
| 1,85 |
|
| 96,6 |
|
| 118,7 |
|
| 0,45 |
|
| 0,36 |
2.2.7 Тяговый расчет автомобиля с КМУ
По данным технических характеристик автомобилей КамАЗ (таблица 6) производиться расчет тяговой характеристики для данного автомобиля. Тяговое усилие определяется по формуле (33). Скорость движения, км/ч, на различных передачах определяется по формуле:
(47)
где
- крутящий момент на валу электродвигателя, об/мин;
- передаточное число трансмиссии.
Результаты расчета для автомобиля КамАЗ-6510 представлены в таблице 15.
Таблица 15 – Тяговая характеристика автомобиля КамАЗ-6510
| Передача | Параметры | Обороты двигателя, об/мин | |||||
| 1200 | 1400 | 1600 | 1800 | 2000 | 2200 | ||
| 1 |
| 6928 | 7000 | 7045 | 6980 | 6786 | 6463 |
|
| 5,27 | 6,15 | 7,03 | 7,91 | 8,79 | 9,67 | |
| 2 |
| 5041 | 5092 | 5125 | 5078 | 4937 | 4702 |
|
| 7,25 | 8,46 | 9,66 | 10,87 | 12,08 | 13,29 | |
| 3 |
| 3723 | 3761 | 3785 | 3750 | 3646 | 3473 |
|
| 9,81 | 11,45 | 13,09 | 14,72 | 16,36 | 17,99 | |
| 4 |
| 2752 | 2781 | 2799 | 2773 | 2696 | 2568 |
|
| 13,27 | 15,49 | 17,70 | 19,91 | 22,12 | 24,33 | |
| 5 |
| 1961 | 1982 | 1994 | 1976 | 1921 | 1830 |
|
| 18,63 | 21,73 | 24,83 | 27,94 | 31,04 | 34,15 | |
| 6 |
| 1424 | 1438 | 1448 | 1434 | 1394 | 1328 |
|
| 25,66 | 29,94 | 34,22 | 38,49 | 42,77 | 47,05 | |
Продолжение таблицы 15
| 7 |
| 1055 | 1065 | 1072 | 1062 | 1033 | 984 |
|
| 34,64 | 40,42 | 46,19 | 51,96 | 57,74 | 63,51 | |
| 8 |
| 780 | 788 | 793 | 786 | 764 | 728 |
|
| 49,81 | 54,62 | 62,42 | 70,22 | 78,02 | 85,83 |
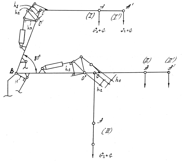
2.3 Проектирование и расчет манипулятора
2.3.1 Расчет проектных параметров манипулятора
2.3.1.1 Данные для расчета
- сила тяжести клещевого захвата;
- сила тяжести рукояти с удлинителем и гидроцилиндром удлинителя;
- сила тяжести стрелы;
- сила тяжести механизмов складывания стрелы;
- сила тяжести гидроцилидра рукояти;
- сила тяжести гидроцилиндра стрелы;
,
,
,
,
,
- плечи указанных выше сил для трех положений манипулятора (приведенных в таблице 16, относительно шарнира и в таблице 17 – относительно шарнира С);
,
,
- плечи усилий в механизме складывания относительно шарниров С и С' (рисунок 33). Значения для трех положений манипулятора приведены в таблице 17;
- плечо действия усилия
, развиваемого гидроцилиндрами стрелы, относительно шарнира В (рисунок 33).
Указанные плечи сил для трех положений манипулятора рассчитываются аналитически, исходя из экспериментально найденных расстояний между осями различных шарниров манипулятора.
2.3.1.2 Расчетная схема и расчет параметров
Расчетная схема манипулятора представлена на рисунке 33.
Рисунок 33 – Расчетная схема манипулятора для трех положений
Максимальное усилие, развиваемое поршневой полостью гидроцилиндра стрелы, определяется по формуле:
(48)
где
мм – диаметр поршня гидроцилиндра стрелы;
МПа – давление рабочей жидкости;
- КПД гидроцилиндра.
Таким образом:
Максимальное усилие
, развиваемое штоковой полостью гидроцилиндра рукояти манипулятора определяется по формуле:
(49)
где
м – диаметр поршня гидроцилиндра рукояти;
м – диаметр штока гидроцилиндра рукояти.
Следовательно:
Рассматривая сумму моментов относительно шарнира В, и учитывая потерю мощности в шарнирах при трении выводится формула для определения грузоподъемности манипулятора, которую позволяет каждый из гидроцилиндров.
Для гидроцилиндра стрелы:
(50)
где
, здесь
- количество шарниров, трение которых необходимо преодолевать гидроцилиндру стрелы.
Тогда
.
Для гидроцилиндра рукояти:
(51)
где
, здесь
. Тогда
.
Результаты расчетов сведены в таблицу 16 и таблицу 17.
Таблица 16 – Параметры манипулятора относительно шарнира В
| Параметры | Положения манипулятора | ||||
| I | I' | II | II' | III | |
|
| 2,81 | 3,86 | 6,2 | 7,23 | 7,05 |
|
| 6,89 | 2,46 | 15,19 | 17,76 | 9,82 |
|
| 1,53 | 1,97 | 5,01 | 5,54 | 4,16 |
|
| 0,04 | 0,04 | 1,07 | 1,67 | 1,07 |
|
| 0,07 | 0,07 | 2,94 | 2,94 | 2,94 |
|
| 0,71 | 0,71 | 3,85 | 3,85 | 7,08 |
|
| 0,21 | 0,21 | 1,12 | 1,12 | 1,18 |
|
| 0,21 | 0,21 | 3,04 | 3,04 | 2,6 |
|
| 0,16 | 0,16 | 2,37 | 2,37 | 2,03 |
, м/с
, м/с
, м
, м
, м
, м
, кгс
, км/ч
,м
, кНм
, кНм
, кНм
, м















