Пояснительная записка (1220304), страница 3
Текст из файла (страница 3)
Эксплуатационные испытания проводили по специальной программе от момента установки подшипников при заводском ремонте до подъемочного ремонта в депо. В процессе испытаний согласно правилам эксплуатации периодически измеряли зазоры «на масло» и «разбег», которые позволяют устанавливать износ МОП и шеек осей. При осмотрах МОП оценивался характер повреждения баббита и стали. За время наблюдения было два случая замены МОП во время профилактических осмотров по причине местного разрушения баббитового слоя из-за некачественной заливки баббита. Зазоры «на масло» за все время испытаний у опытных МОП несколько меньше, чем у серийных (рисунок 2.2). Наблюдения показали, что МОП со стальными корпусами работают более надежно, чем МОП с латунными корпусами. Такой дефект, как «отлом» бурта, отсутствовал. Пробег электровозов с опытными МОП на конец 1998 г. составлял 300–420 тыс. км.
Рисунок 2.2 - Изменение зазора «на масло» в МОП электровозов: 1 - МОП с латунными корпусами; 2 - МОП со стальными корпусами
Ростовский ЭРЗ в настоящее время выпускает серийно МОП со стальными корпусами и баббитовой заливкой, устанавливая их на электровозы при капитальном ремонте.
2.2 Способ ультразвуковой дефектоскопии.
Наиболее часто происходит задир моторно-осевых подшипников (рисунок 2.3). При этом причиной задиров могут быть различные факторы - от недостатка и загрязненности смазки, установки на ось не подогнанных по размеру подшипников, а иногда даже необработанных заготовок до несоответствия бронзы по химическому составу.
Рисунок 2.3 – Задиры в бронзовом слое моторно-осевых подшипников локомотивов
Относительно реже встречаются случаи разрушения МОП. Как правило, разрушаются половинки МОП, имеющие польстерные окна, и трещины идут от польстерного окна к торцу МОП, особенно если в этих зонах находятся концентраторы напряжений в виде пор или других литейных дефектов либо грубой механической обработки. Так в депо Агрыз характерно огромное количество литейных пор (рисунок 2.4), в том числе и сквозных, при наличии которых данный подшипник по всем нормативным документам нельзя было устанавливать.
Рисунок 2.4 - Излом МОП из-за большого количества крупных газовых пор
Причиной образования такого количества литейных пор явилось захолаживание бронзы при отливке и нераскисление ее фосфором.
Предлагается оснастить литейные цеха ультразвуковым дефектоскопом для проверки новых вкладышей МОП после их отливки. В качестве ультразвукового прибора использовать прибор марки TUD300 представленный на рисунке 2.5
Рисунок 2.5 - Ультразвуковой прибор марки TUD300.
Ультразвуковой дефектоскоп TUD300 обладает следующими особенностями:
- два способа отображения измерений на дисплее: тип А и тип В;
- три режима обнаружения: совмещенный, раздельно-совмещенный и трансмиссия;
- 10 каналов обнаружения доступны с отдельными параметрами обнаружения и кривыми DAC;
- функция автоусиления;
- контроль и отображение значений эквивалента эха с учетом различных кривых DAC;
- горизонтальные координаты на дисплее изменяются между отрезками звукового пути;
- функция памяти пика;
- во время построения кривой DAC, точки кривой могут повторно редактироваться.
2.3. Способ восстановления моторно-осевого подшипника.
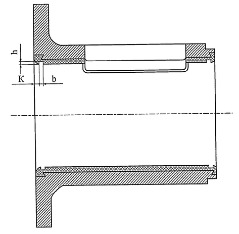
Предлагаемый способ заключается в том, что дополнительно при механической обработке внутри моторно-осевого подшипника, после его расточки под диаметр шейки оси колесной пары, изготавливать кольцевые канавки по краям МОП на расстоянии К от торцов, шириной канавки b и глубиной h (рисунок 2.6)
Рисунок 2.6 - МОП с кольцевыми канавками по краям
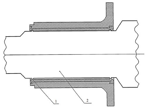
Величины размеров зависят от типа МОП. При работе моторно-осевого подшипника трения участки шейки оси колесной пары 2, лежащие в плоскостях канавок, практически изнашиваться не будут, и на шейке образуются кольцевые выступы 1 (рисунок 2.7).
Рисунок 2.7 - Схема размещения МОП относительно оси колесной пары: 1 - выступы на шейках колесной пары; 2 - ось колесной пары
В результате формируется лабиринтное уплотнение. Расход масла через сопряжение становится меньше. С увеличением естественного износа рабочей зоны шейки оси колесной пары (2), образовавшиеся выступы на шейках становятся выше (1). И, как следствие этого, расход смазочных материалов еще больше уменьшается, что снижает негативное воздействие на окружающую среду, лабиринтное уплотнение повышает несущую способность масляного клина вкладыша, снижает износ МОП, повышая его ресурс, снижает вероятность попадания моторно-осевой смазки в кожуха зубчатой передачи тяговых двигателей, снижает вероятность попадания влаги и пыли в МОП.
3.МЕТОД НАНЕСЕНИЯ БАББИТА.
Заливка баббитом является наиболее простым способом восстановления МОП. Баббиты являются антифрикционными сплавами с низким коэффициентом трения, с хорошей прирабатываемостью, малой температурой плавления и обеспечивают многократную ремонтопригодность конструкции. Но в современных условиях эксплуатации большинство высокооловянистых баббитов не удовлетворяют требованиям по усталостной прочности и относительно дороги по стоимости из-за высокого содержания олова.
Существует технологический процесс заливки МОП новой маркой баббита БК2Ц (ГОСТ 1209-90), обладающего повышенной усталостной прочностью и за счет малого содержания олова (всего 2%) более дешевого. Однако баббит БК2Ц требует более сложной технологии заливки: выше температура плавления, строгие ограничения по времени плавки и времени заливки.
В настоящее время для восстановления МОП и продления их срока службы в локомотивных депо применяется нижеописанный способ (согласно технологической карте, утвержденной главным инженером локомотивного депо).
Способ включает в себя следующие этапы:
а) Перед лужением поверхность МОП очищается от прежнего баббитового слоя в печи при температуре 500-520°С. На очищенных корпусах выявляются трещины, отколы и другие дефекты. Такие корпуса бракуются. На остальных удаляются следы грязи, масел, жира, эмульсии, ржавчины. После обезжиривания подшипника промывается холодной, а затем горячей (не менее 80°С) водой. К подготовленной таким образом поверхности нельзя прикасаться руками, чтобы не оставить следов жира.
б) Поверхность, предназначенная для заливки баббитом, а также пазы для крепления баббита механическим способом очищаются от нагара и других посторонних частиц. Для этого можно применять дисковые щетки из стальной проволоки с электро или пневмоприводом.
в) Нагретый в электропечи до 400-420°С корпус подшипника покрывается флюсом при помощи войлочной, паклевой или волосяной щеток. В качестве флюса применяется смесь, состоящая из хлористого цинка (40%), двухлористого олова (2%), хлористого калия (1%), хлористого аммония (1%), соляной кислоты (2%) и воды. На тщательно обезжиренной поверхности флюса растекается ровным слоем. Если этого не происходит, нужно заново обезжиривать поверхность.
г) Не подлежащая заливке поверхность покрывается краской (1 кг порошка мела, 1 кг воды, 45 см3 водного раствора жидкого стекла с удельным весом 1,2-1,3 г/см3 ) или раствором огнеупорной глины в соотношении с водой 1:1. Подготовленный таким образом подшипник подогревается в электропечи до 400-420°С, после чего приступают к лужению оловянно-свинцовистым припоем ПОС-20.
д) Проверка качества лужения. Блестящий вид луженой поверхности свидетельствует о доброкачественности процесса. Если видны цвета побежалости, значит был допущен перегрев, и лужение следует провести заново.
е) Подшипники заливаются кальциевым баббитом. В залитых подшипниках в баббите должно быть не менее: 0,70% кальция, 0,55% натрия и 0,25% цинка (сплав баббита может быть любой, применяемый при ремонтах моторно-осевого подшипника). Очищенный от нагара и шлаков тигель размещается в электропечи так, чтобы находящийся в нем баббит нагревался равномерно по всей высоте. Для уменьшения угара легирующих элементов в новом баббите необходимо сначала положить в тигель добавку старого баббита в виде чушек переплава, а новый баббит загрузить в расплавленный металл. Сухие и чистые чушки нового баббита подогреваются до 80-100°С. При более высокой температуре выгорают кальций и натрий. Чтобы обеспечить однородность состава сплава до начала заливки, баббит в тигле интенсивно перемешивается, а с поверхности удаляется шлак.
Подшипники заливаются центробежным способом. Подогретый до
400-420°С облуженный корпус подшипника устанавливается в кокиль. Сплав заливается в кокиль из тигля емкостью, равной полной заливке одного подшипника, для завершения процесса в один прием. Струя металла должна быть короткой с минимальным сечением. Подшипник извлекается из кокиля или центробежного стакана не раньше, чем через 10 мин, для дальнейшего остывания. Тускло-серебристый цвет, а также чистая, гладкая, без усадочных раковин, посторонних включений и других дефектов поверхность свидетельствует о соблюдении качества процесса.
Проверка плотности прилегания залитого металла к корпусу подшипника проверяется отстукиванием. Дребезжащий звук требует переплавки. Кроме этого, качество заливки проверяется на твердость образцов из каждой плавки.
Изготовленные по всем требованиям техпроцесса подшипники поступают в механическую обработку, где их растачивают под диаметр шейки оси колесной пары по всей внутренней поверхности, после которой идут на сборку колесно-моторных блоков.
Недостатками типовой технологии при работе МОП является:
- низкая несущая способность масляного клина вкладыша (повышенный износ и задиры баббита, нагрев);
- попадание смазки через зазор МОП вдоль оси колесной пары в кожух зубчатой передачи (смешивание смазочных композиций);
- интенсивный расход смазочных композиций;
- попадание влаги в МОП (стимулирование коррозионной агрессивности нефтяных кислот, которые разрушительно воздействуют на цветные металлы);
- попадание пыли в МОП (снижение качества смазки, повышение вероятности нагрева);
- негативное воздействие на окружающую среду.
Целью предлагаемого изобретения является:
- повышение безопасности движения поездов;
- снижение негативного воздействия на окружающую среду;
- снижение расхода смазочных материалов при работе МОП;
- повышение несущей способности масляного клина вкладыша;
- снижение износа МОП, повышение его ресурса;
- снижение вероятности попадания моторно-осевой смазки в кожуха зубчатой передачи тяговых двигателей;
- снижение вероятности попадания пыли и влаги в МОП;
- уменьшение трудоемкости при обслуживании букс МОП.
3.1 Перезаливка баббита вкладышей подшипников
Заливка вкладышей и сегментов баббитом очень ответственная операция, требующая строгого соблюдения технологического процесса.
В настоящее время применяются два метода презаливки подшипников баббитом:
а) заливка вручную по шаблону в специальном приспособлении;















