Пояснительная записка_1 - копия (1219945), страница 2
Текст из файла (страница 2)
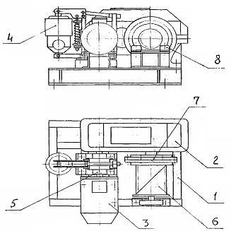
Полуавтоматическая звеносборочная поточная линия ЗЛХ-500 конструкции ПКТБ ХабИИЖТа состоит из двух конвейеров, размещаемых на двух параллельных путях. Конвейер подготовки шпал предназначен для приема, накапливания и комплектования шпал элементами скреплений и подачи на сборочный конвейер.
Транспортная система этого конвейера выполнена в виде рельсов, перемещающихся по роликам с помощью силового привода. Шпалы раскладываются на рельсах в один ряд и перемещаются вместе с ними вдоль технологических позиций, оснащенных бункерными устройствами, несущими элементы скреплений.
В поперечном направлении на сборочный конвейер шпалы сдвигаются специальным транспортером. Сборочный конвейер имеет транспортную систему для перемещения элементов собираемых звеньев, накопители клеммных соединений бункерного типа, устройства для укладки рельсов, полуавтоматические гайковерты.
Транспортная система включает в себя раму с эпюрными рейками для набора шпал, совершающую возвратно-поступательное движение,
грузовую тележку для приема собираемого звена, домкраты для подъема грузовой тележки при освобождении эпюрных реек от шпал, перегружатель для снятия собранного звена с грузовой тележки, тяговую лебедку для перемещения грузовой тележки. Линия может размещаться как на открытом воздухе, так и в цехе.
Устройства поперечной подачи рельсов 7 (см. рисунок 1.2) обеспечивали подачу рельсов на роликовую эстакаду.
Также известна звеноразборочная линия ЗРР -75 предназначенная для разборки рельсовых звеньев с железобетонными шпалами и скреплением КБ (рисунок 1.3).
Рисунок 1.3. Звеноразборочная линия ЗРР-75
Обслуживается линия двумя козловыми кранами и работает следующим образом. На звеньевую тележку 2 козловыми кранами 3 укладываются два звена длиной 12,5 м или одной звено 25 м.
Лебедкой 1 звеньевая тележка со звеном перемещается в отделения шпал 4, где откручиваются гайки закладных болтов. Затем тележка 2 продвигается в перегружатель 5 и, оставив на нем частично разобранное звено, возвращается в первоначальное положение под погрузку
следующего звена. В это время в перегружатель 5 лебедкой 10 подается шпальная тележка 8, которая принимает на себя частично разобранное звено. Рельсоперекладчик 6 снимает рельсы вместе с подкладками и укладывает их на рельсовый конвейер 14, по которому они направляются в агрегат отделения подкладок 13, где откручиваются гайки клеммных болтов. Подкладки и клеммные сборки ссыпаются в бункера, а рельсы продвигаются в агрегат приема и накопления 12 и далее козловым краном убираются в штабель 11. Шпальная тележка направляется в агрегат пакетирования шпал 9, откуда они пакетами козловым краном убираются в штабель 7. Если нужно заменить на старогодных звеньях только рельсы, в агрегате отделения шпал 4 откручивают гайки клеммных болтов специальными гайковертами. Тогда подкладки остаются прикрепленными к шпалам.
Известно также устройство подачи рельсов в составе участка подачи рельсов в действующей линии ЗЛХ-800 и в ее модернизированном проекте ЗСЛ-100. Участок подачи рельсов линии ЗСЛ кроме рельсового конвейера включает еще и рельсоперекладчик - устройство для установки рельсов на ролики рельсового конвейера.
Рельсоперекладчик состоит из двух консольных кранов имеющих объединенную электрическую схему, которая позволяет осуществлять как раздельное управление каждым краном, так и их совместное синхронное управление.
Консольный кран (рисунок 1.4), состоит из стойки 1, закрепленной к двум башмакам 2 с помощью которых кран прикрепляется к рельсам, на которых монтируются агрегаты и устройства конвейера сборки звена. На стойку одним концом опирается консольная балка 3, удерживаемая в горизонтальном положении растяжками 4 и закрепляемая двумя растяжками 5 для увеличения ее жесткости в горизонтальной плоскости.
1
-стойка; 2-башмаки; 3-консольная балка; 4, 5-растяжки; 6-тележка; 7-канат; 8-привод перемещения; 9-канат; 10-крюк; 11-привод подъема; 12-сменные захваты
Рисунок 1.4. Кран консольный
Тележка 6 перемещается по балке с помощью каната 7 приводом перемещения 8. На проходящий через блоки тележки канат 9 подвешен крюк 10, вертикальное перемещение которого обеспечивается приводом подъема 11. На крюк 10 навешиваются сменные захваты 12.
На рисунке 1.5 показана схема запасовки грузового и тележечного канатов.
На рисунке 1.6 показана конструкция привода подъема груза.
На рисунке 1.7 показано устройство привода перемещения тележки.
Техническая характеристика крана представлена в таблице 1.2.
Р
исунок 1.5. Схема запасовки грузового и тележечного канатов
.
1-рама; 2-редуктор; 3-эл.двигатель; 4-тормоз с гидротолкателем; 5-муфта пальцевая; 6-барабан; 7-муфта зубчатая; 8- подшипниковые опоры
Рисунок 1.6. Схема привода подъема груза
1-рама; 2-редуктор; 3-электродвигатель; 4-муфта пальцевая; 5-зубчатая муфта; 6-барабан; 7-подшипниковые опоры
Рисунок 1.7. Привод перемещения
Таблица 1.2 - Техническая характеристика крана
| Грузоподъемность, т | 2 |
| Высота подъема рельса, м | 2,6 |
| Вылет стрелы, м | 6,83 |
| Скорость подъема, м/мин | 8 |
| Скорость перемещения тележки, м/мин | 20 |
| Мощность электродвигателей, кВт механизма подъема | 3 |
| механизма перемещения | 0,5 |
Известны также перегружатели рельсов в рельсосварочном предприятии (РСП).
Рельсы, прибывшие для ремонта на рельсосварочное предприятие, должны быть выгружены на площадку, где производят их сортировку и укладывают в штабели.
Прибывшие рельсы выгружают на площадке для сортировки рельсов, где они подбираются по износу и маркируются по группам годности. Выгрузку рельсов производят двумя козловыми кранами.
Далее рельсы должны быть поданы двумя перегружателями на рольганговую нить, по которой рельс перемещается в правильный цех, где производится их правка, далее перегружателем рельс опять подается на рольганговую нить и подается в цех очистки, где с рельсов удаляется грязь и мазут, а затем по рольганговой нити рельс подается в дефектоскопную.
Перегружатели предназначены для манипуляций с рельсами при их складировании, для подачи рельсов со склада на рольганг или с рольганга на склад.
Перегружатели РСП представляют собой пространственную конструкцию, включающую в себя подвешиваемую к плоской и пространственной опорам ездовую балку для перемещения по ней электрической тали (рисунок 1.8). На ездовой балке расположены два кронштейна, между которыми натянут канат для подвески питающего кабеля тали. Техническая характеристика перегружателей представлена в таблице 1.3.
Таблица 1.3 - Техническая характеристика перегружателя РСП
| 1. Таль электрическая, тип | ТЭ 200П-511 |
| - грузоподъемность, т | 2 |
| - высота подъема, м | 6 |
| - скорость, м/с: подъема | 0,066 |
| передвижения | 0,4 |
| - нагрузка на колесо, кН | 9,9 |
| - установленная мощность, кВт | 1,9 |
| - масса, кг | 220 |
| 2. Пролет, м | 13, 16, 18 |
Одна из опор перегружателей плоская и представляет собой сваренную из швеллеров раму трапециевидной формы, усиленную четырьмя горизонтальными и четырьмя диагональными связками из уголка, приваренными к раме с использованием косынок. К верхней балке коробчатого сечения приварена пластина, усиленная ребрами, с четырьмя отверстиями диаметра 22 мм, для монтажа к ней ездовой балки.
Отверстия в пластине сверлятся совместно с соответствующей пластиной ездовой балки, которая будет монтироваться только на данный перегружатель.
В основании опоры приварены две пластины с четырьмя отверстиями диаметром 22 мм в каждой для крепления перегружателя к фундаменту.
Другая опора пространственная - представляет собой сваренную из швеллеров конструкцию, состоящую из двух плоских рам трапециевидной формы, каждая из которых усилена двумя горизонтальными и двумя диагональными связками из уголка. В направлении от основания к верхнему поясу рамы, в поперечном направлении образован треугольник с вершиной у основания, соединенный связкой и усиленный квадратной косынкой.
Верхний пояс опоры включает две балки коробчатого сечения, к которым приварена усиленная ребрами пластина с шестью отверстиями диаметром 22 мм для крепления к ней ездовой балки.
Отверстия в пластине изготавливаются совместно с соответствующей пластиной ездовой балки, которая монтируется только на данный перегружатель.
В основании опоры приварены две пластины с четырьмя отверстиями диаметром 22 мм в каждой для крепления перегружателя к фундаменту.
Ездовая балка перегружателей представляет собой сварную конструкцию, составленную из двух кусков двутавра, сваренных встык и усиленных пластиной на нижнем поясе. По верхнему поясу двутавры усилены ребром с полосой. По бокам приварены ребра. Ребро и полосу допускается изготавливать из частей, длиной не менее 1,5 метра.
К верхнему поясу балки приварены пластины с 4-мя и 6-ю отверстиями диаметром 22 мм для крепления балки к опорам. Эти пластины изготавливаются совместно с соответствующими пластинами опор и используются попарно.














