ДИПЛОМ (Крохин М.В) (1218515), страница 2
Текст из файла (страница 2)
Двери эвакуационных выходов и другие двери на путях эвакуации должны открываться по направлению выходов из здания. Наружные двери и двери в квартиру должны иметь упругие уплотняющие прокладки в притворах. Также наружные двери должны быть оборудованы доводчиками.
В I климатическом районе при всех наружных входах в жилье здания следует предусматривать тамбуры глубиной не менее 1,8 м.
1.6 Определение состава помещений зданий квартирного типа
В квартирах, предоставляемых гражданам с учетом социальной нормы площади жилья в зданиях государственного и муниципального жилищных фондов, следует предусматривать жилые помещения (комнаты) и подсобные: кухню (или кухню-нишу), переднюю, ванную комнату (или душевую) и уборную (или совмещенный санузел), кладовую (или хозяйственный встроенный шкаф). Помещения квартир должны быть оборудованы: кухня - мойкой или раковиной, а также плитой для приготовления пищи; ванная комната - ванной (или душем) и умывальником; уборная - унитазом со смывным бачком; совмещенный санузел - ванной (или душем), умывальником и унитазом.
Все сведения о площадях и размерах помещений в квартирах сведены в приложение А таблица А1.5
1.7 Конструктивные элементы здания
1.7.1 Фундаменты
Основание – насыпной глинистый грунт. В это случае наиболее целесообразно использовать монолитную фундаментную плиту.
1.7.2 Стены
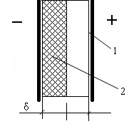
Стены здания выполняют несущие и ограждающие функции. Они должны быть прочными, устойчивыми, обладать достаточными теплозащитными и звукоизоляционными свойствами, быть долговечными и безопасными в пожарном отношении. Наружные стены монолитные железобетонные толщиной 190 мм. Для определения теплотехнических характеристик элементов, учитывающие влажностный режим помещений и зону влажности района строительства. Толщина слоя утеплителя проверяется теплотехническим расчетом:
Рисунок 1.3 Расчетная конструкция стены
1 – железобетонный слой (
); 2 – утеплитель (
);
Сведения о конструкции, ее составе, толщине слоев, теплотехнических характеристиках материалов слоев ограждения сведены в таблице 1.5.
Таблица 1.7 – Теплотехнические характеристики элементов стены
| Наименование материала слоя | Толщина слоя (м) | Средний объемный вес (плотность) (кг/м3) | Коэффициент теплопроводности Вт/моС |
| железобетонный слой | 2500 | 1.69 | |
| утеплитель | 40 | 0,046 | |
| цементно-песчаный р-р | 1700 | 0,87 | |
| цементно-песчаный р-р | 1700 | 0,87 |
1.8 Теплотехнический расчет ограждающих конструкций
Ограждающие конструкции по своим теплотехническим качествам должны обеспечивать в помещениях необходимый температурно – влажностный режим и ограничивать теплопотери зданий в отопительный период года. Для этого сопротивление ограждения теплопередаче Ro должно быть не менее Rотр, (Rо
Rотр).
Из условия энергосбережения требуемое сопротивление теплопередач – Rотр, ограждающих конструкций, следует определять по формуле (1.1) [2].
Rотр = a· ГСОП + b, (1.1)
где ГСОП - градусо-сутки отопительного периода, °С×сут, для конкретного пункта;
а, b - коэффициенты, значения которых следует принимать по [2, табл.3].
Градусо-сутки отопительного периода определяют по формуле
ГСОП = (tв – tот) Zот, (1.2)
где Zот средняя продолжительность относительного периода, со среднесуточной температурой воздуха ниже или равной +8°С,
Zот = 233 сут.;
оптимальная температура внутреннего воздуха tв – 20-220С;
tот средняя температура отопительного периода, 0С, tht.= минус 4,3С.
ГСОП (20 – (– 4,3))∙233 5662 С-сут.
Rотр = 0,00035∙5662+1,4 = 3,08 (м2·С)/Вт.
Составляем уравнение для расчета R0 по формуле (1.3):
= Rотр , (1.3)
где αн – коэффициент теплоотдачи наружной поверхности ограждающей конструкции равный 23 Вт/(м2·0С) по [2, табл.6]
αв – коэффициент теплоотдачи внутренней поверхности ограждающей конструкции, Вт/(м2·0С), равный 8,7;
- толщина слоя ограждения, м;
– коэффициент теплопроводности материала, Вт/(м0С);
отсюда определяется толщина утепляющего слоя:
R0 = 0,114943+0,1302+0,043478+0,0229+0,0459 = 0,354 Вт/ м2оС
утепл = (Rотр- Rо)· λутепл. = (3.08 - 0,354)·0,046 = 0,125м
Принимаем толщину утеплителя 130 мм
1.9 Характеристика земельного участка
Для строительства с обоснованием необходимости использования для строительства земельных участков вне предоставляемого земельного участка
Строительствo oосуществляется в пределах отведённого участка под данное строительство. Объемно-планировочные решения разработаны в соответствии с планировкой территории, на основании утвержденного «Градостроительного плана участка» без отступлений от предельных параметров разрешенного строительства объекта.
Площадь отвода земельного участка – 0,635 га.
Есть необходимость использования для строительства земельного участка вне участка, предоставляемого для строительства объекта капитального строительства.
Выполнить запрос на дополнительный отвод участка на период работы башенного крана сроком на 10 месяцев, площадью 1300 м2.
Проектом предусматривается благоустройство прилегающей к зданию территории.
1.10 Технико-экономические показатели планировки проектируемого здания.
Оценку экономичности планировки здания производят по основным показателям: площади застройки, жилой, вспомогательной и общей площади, строительному объёму.
где ПЗ – площадь застройки, площадь сечения по внешнему обводу на уровне цоколя.
ПЖ – жилая площадь как сумма площадей всех жилых комнат.
ПВ – вспомогательная площадь, подсобная площадь равная сумме площадей кухни, передней ванной, уборной, хозяйственных кладовых, встроенных шкафов.
QН – строительный объём надземной части, равный произведению площади горизонтального сечения на уровне первого этажа, выше цоколя, на полную высоту здания от уровня чистого пола первого этажа до верхней плоскости чердачного утеплителя.
QП – строительный объём подземной части здания как произведение площади сечения на уровне первого этажа выше цоколя на высоту от чистого пола первого этажа до пола подвала и цокольного этажа. При отсутствии подвала объём подземной части не учитывать.
Полный объём здания равен сумме QН+QП.
2.1 Введение
В организационно-технологической части дипломного проекта разработан проект производства работ на строительство монолитного 10-ти этажного жилого дома, расположенного в г. Южно-Сахалинске.
В составе ППР разработаны документы, приведенные ниже:
-
календарный план производства работ (КППР);
-
график движения рабочих кадров по объекту;
-
график поступления на объект строительных конструкций, изделий, материалов и оборудования;
-
график движения основных строительных машин по объекту;
-
график движения основных рабочих кадров по профессиям;
-
технологическая карта на устройство полов из керамического гранита;
-
технологическая карта на устройство монолитного каркаса здания (колонн, стен и перекрытия) типового этажа;
-
строительный генеральный план на возведение надземной части здания.
Исходными материалами для разработки проекта производства работ явились:
-
задание на ВКР;
-
проектная документация;
-
условия поставки конструкций, готовых изделий и материалов;
-
нормативная и справочная литература.
2 .1 .1 Подсчет объемов и трудоемкостей работ
Объемы основных строительно-монтажных работ определены на основании исходных данных, а так же по проектной документации. Нормативные затраты труда рабочих и потребность в машино-сменах для основных строительных машин на общестроительные работы рассчитаны согласно норм ГЭСН-2001. Минимальный состав звена определен по ЕНиР. Результаты расчетов представлены в приложении Б.
2. 2 Выбор способов производства работ и средств механизации
2. 2. 1 Выбор способов производства работ и средств механизации для работ «нулевого цикла»
Срезка растительного слоя производится бульдозером ДЗ – 29 на основе трактора марки Т-74. Срезанный растительный слой складируется в специально отведённом месте для дальнейшего благоустройства территории.
Котлован следует разрабатывать одноковшовым экскаватором Э-505А, оборудованием «обратная лопата» с вместимостью ковша 0,5 м3. Разработка ведётся на глубину 3 м с вывозом в отвал. Недобор грунта толщиной 0,1 м ведётся вручную при помощи штыковых и подборных лопат.
Ручная доработка осуществляется совместно с отсыпкой основания щебнем с послойным уплотнением вибротрамбовками и катком самоходным CAT CS-56Д.
Арматура и щиты опалубки подаются к месту производства работ автомобильным краном LIEBHERR LTM 1090. Бетонная подготовка устраивается с применением бетонной смеси Б15 толщиной слоя 200мм по щебеночной подготовке. Толщиной щебеночной подготовки 200мм. После демонтажа опалубки бетонной подготовки перед устройством фундаментной плиты бетонная подготовка гидроизолируется ПВХ мембраной на клеевой основе. Фундаментная плита запроектирована двойным армированием с защитным слоем 40мм с выпусками анкерных групп на колонны и монолитные стены. Подача бетонной смеси осуществляется автобетононасосом марки АБН-75/33. Устройство опалубки, армирование стен и колонн подвального помещения производится после набором бетона прочности 70 процентов конструкции фундаментной плиты. Колонны, стены и ригели бетонируют. Бетонная смесь в стены укладывается послойно, равномерно по всему периметру. При этом необходимо избегать продолжительных перерывов между укладкой слоев бетона. Уплотнение бетонной смеси производят глубинными вибраторами ИВ-66. Продолжительность вибрирования, устанавливаемая на каждой позиции опытным путем, должна обеспечивать достаточное уплотнение бетонной смеси, основными признаками которого являются: прекращение ее оседания, появление цементного молока на поверхности и отсутствие выделения пузырьков воздуха.
После набора прочности бетона и демонтажа опалубки стен, колонн и ригелей, выполняются работы по устройству армированной стяжки пола подвального помещения из цементно-песчаного раствора (марки ЦПР М150) с устройством теплоизоляционного слоя. Основание предварительно очищают от мусора, выявляют самую высокую точку пола, путем нивелирования с нанесением рисок на стены. Далее укладывают теплоизоляционный слой утеплителем "Пенополистерол" толщиной 30мм с креплением к основанию плиты. Сетку I-ВР-5 укладывают одновременно с утеплителем с защитным слоем (отсечкой) 30мм. Разбивку "маячкового" профиля производят от самой высокой точки основания, раствор укладывают толщиной 50-70мм. Раствор подается автобетононасосом АБН-75/33, выравнивание поверхности цементно-песчанным раствором производят виброрейками ЭВ-270.
До начала работ по устройству монолитного перекрытия должна быть демонтирована опалубка стен, колонн, ригелей и выполнена подготовка полов подвального помещения, установлена опалубка перекрытия.
После установки опалубки приступают к монтажу арматурного каркаса. Арматуру укладывают с учетом защитного слоя бетона толщиной 15 мм. Стыкование отдельных стержней выполняют внахлестку с помощью сварки или вязальной проволоки.
















