Metelyova Elena Sergeevna 2016 (1217712), страница 7
Текст из файла (страница 7)
По аналогии с [22] микроскопическое представление системы ВСМТС и его элементов может быть основано на понимании его как множества взаимосвязанных элементов (припортовые станции, терминалы, подъездные пути и т. п. ) Элементы обладают связями, которые объединяют их в целостную систему.
Р
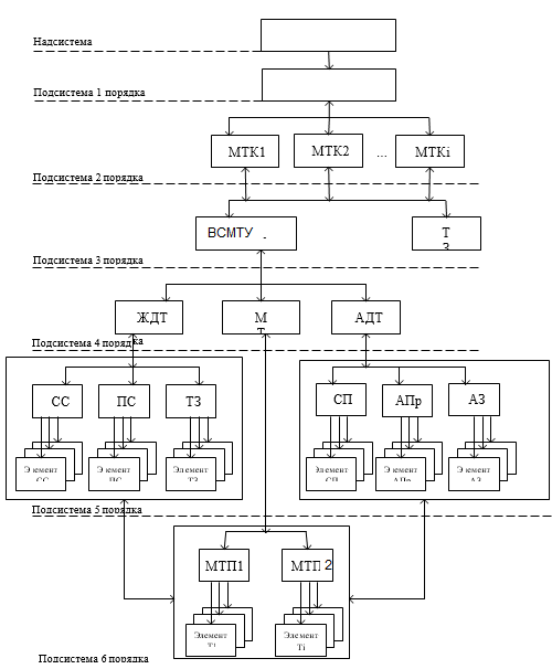
ис. 1.2.1 Макроскопическое представление ВСМТУ припортового региона
Дальневосточного приморья для пропуска контейнерного транзита по МТК «АТР-Европа»
ЕТС
МТС
CC
М
еждународное торговое пространство
Рис. 1.2.2. Микроскопическое представление ВСМТУ припортового региона Дальневосточного приморья для пропуска контейнерного транзита:
ЕТС – Единая транспортная система;
МТС – мультимодальная транспортная сеть;
МТК – мультимодальный транспортный коридор;
ВСМТУ –Ванинско-Совгаванский мультимодальный транспортный узел;
ЖДТ – железнодорожный транспорт;
МТ – морской транспорт;
АДТ – автодорожный транспорт;
СС – сортировочная станция;
ПС – припортовая станция;
ТЗ – транспортные звенья;
АПр – автодорожное предприятие;
АЗ – автодорожные звенья;
МТП – морской торговый порт
Следует отметить основные источники, позволяющие сформировать базу знаний в области системного подхода к решению сложных задач развития транспортных систем, к ним можно отнести работы: Н.Н. Моисеева [23], А.Д. Кондакова [24], П.Н. Орловского [25], С.А. Саркисян [26], В.Н. Образцова [27], В.Н. Лившица [28] и др.
Использование системотехнических понятий и принципов позволило на высоком научно-теоретическом и практическом уровне решать сложные задачи формирования региональной железнодорожной транспортной сети на основе применения современных информационных технологий.
Опыт системного подхода к решению сетевых задач, накопленный отечественными ученными и показанный в работах [29, 30, 31 и др.] позволил перейти к решению задач на многовидовой (мультимодальной) транспортной сети с учетом взаимодействия разных видов транспорта.
Проведение исследований по проблеме изменения облика и мощности мультимодальной транспортной сети (МТС) и ее элементов – мультимодальных транспортных коридоров и узлов (МТК и МТУ), рассмотренных в работе [1] показал трудоемкость и многовариантность решаемых задач при работе с такими сложными социо – технико - экономическими системами.
Особое место среди элементов МТС занимают МТУ, в которых, помимо взаимодействия разных видов транспорта, следует учесть эффективное перераспределение перевозок между их элементами: морскими торговыми портами, сортировочными и припортовыми станциями и предприятиями автомобильного транспорта.
Как показали предварительные исследования автора, объект исследования настоящей ВКР ВСМТУ припортового региона Дальневосточного Приморья, включает в себя морские торговые порты (МТП), сортировочные и припортовые станции, автопредприятия и соединяющие все это железнодорожные и автодорожные транспортные звенья (ТЗ) имеет сложный облик и, как следствие, необходим его системотехнический анализ и синтез.
В работах [15, 22, 29, 30, 31] решению сетевых задач на сложных технико-экономических системах, при формировании их облика и мощности, к которым можно отнести исследуемый ВСМТУ, выделяемый автором настоящей ВКР из МТС Дальневосточного региона указано, что построению расчетной схемы и математической модели, выбору методов и созданию методики поиска из множества возможных экономически эффективных вариантов этапного развития узла на близкую, среднюю и дальнюю перспективу должно предшествовать описание объекта исследования на основе системных представлений.
Поскольку МТУ, как отмечено в [22] являясь начально - конечным элементом МТК «АТР-Европа» для входа-выхода контейнерного транзита из ЕТС, обеспечивает взаимодействие морского и железнодорожного транспорта и представляет собой социо-технико-экономическую систему со сложными взаимосвязями, зависящими от большого количества факторов, необходимо по аналогии с работами [29, 31], с соответствующей заявленной цели модификацией, уточнить понятия и определения, применяемые в настоящем исследовании.
Под обликом социо-технико-экономической системы ВСМТУ предложено понимать структурно-параметрическое представление объекта исследования, характеризующееся расположением его элементов в пространстве и времени и их параметры, а под внешней средой следует понимать окружение, с которым взаимодействует исследуемая система.
«Социо-» следует понимать с позиций влияния исследуемой системы ВСМТУ на улучшение социальных условий жизни населения Дальневосточного Приморья, увеличение количества рабочих мест, развитие инфраструктуры региона за счет налоговых отчислений от дохода ВСМТУ.
Опираясь на особенности и принципы системотехники, изложенные в работах [22, 24, 32] и по аналогии с ними рассмотрим основные понятия, применительно к объекту исследования.
Система – объект ВCМТУ (или совокупность объектов его составляющих) любой природы, обладающий выраженным «системным» свойством (контейнерный транзит), т.е. свойством, которого не имеет ни одна из его частей при любом способе членения.
Надсистема (система более высокого порядка) – объединение нескольких систем, обладающих системными свойствами.
Надсистемами ВМТУ являются: ЕТС (надсистема 2-го порядка); народное хозяйство (надсистема 1-го порядка).
Природная среда, определяемая топографическими, геологическими, климатическими и другими природными условиями, также является надсистемой ВCМТУ.
Подсистема (система более низкого порядка) – часть системы ВCМТУ, выполняющая определенные функции (ТЗ; сортировочные; припортовые станции; МТП; терминалы; причалы и т. п.).
Элемент (подсистема более низкого порядка) – часть системы, деление которой в рамках поставленной проблемы нецелесообразно.
В настоящем исследовании под элементами ВCМТУ будем понимать МТП, ТУ, ТЗ, причалы, складские площади, погрузочно-разгрузочные комплексы, парки и подъездные пути, ТЗ железных дорог, соединяющие сортировочные, припортовые станции и терминалы и т.д.
Воздействие (взаимодействие) – обмен грузами, пассажирами, энергией, информацией и т.д. между ВCМТУ и окружающей средой, а также между подсистемами ВCМТУ и их элементами.
Состояние системы МТУ – совокупность значений параметров элементов системы (внутренних и внешних), определяющих ход процессов, с учетом возможного множества отказов, происходящих в системе.
Эволюция (развитие) – развернутая во времени последовательность состояния структуры системы МТУ.
Функционирование системы – безопасный бесперебойный пропуск и обслуживание подвижного состава различных видов транспорта (судов, поездов, автомобилей).
Цель системы ВCМТУ – обеспечение эффективного транспортного обслуживания исследуемого региона и взаимодействия разных видов транспорта.
Эффективность системы – интегральная характеристика ВCМТУ, учитывающая систему показателей (критериев), по которым он оценивается (экономическая эффективность, техническая эффективность и т.д.).
Внешняя среда – это надсистемы всех порядков, в том числе природная среда, влияющие на развитие и работу ВCМТУ.
Вход системы – множество контактов, через которые воздействия внешней среды передаются через ВCМТУ и/или его элементы (ТУ, ТЗ, МТП). Например, через припортовую станцию МТП получает грузы и обеспечивает их погрузку на суда.
Выход системы – множество контактов, через которые ВCМТУ и/или его элементы (МТП, ТУ, ТЗ) воздействуют на внешнюю среду. Например, через ту же припортовую станцию МТУ передает грузы на сеть железных и/или автомобильных дорог. При рассмотрении контактов с природной средой входами и выходами являются все элементы ВCМТУ.
Связь – контакт (соединение) между входами и выходами внутри системы подсистем и элементов.
Инвестиционный проект ВCМТУ – комплекс мероприятий по достижению единой цели – создания ВCМТУ, работающего с максимальной эффективностью в пределах принятого и/или заданного горизонта расчета (Т).
В работах [33, 24] отмечено, что особенностью концептуального аппарата системотехники является относительность многих понятий. Например, один и тот же реальный объект может рассматриваться как надсистема, система, подсистема, элемент или связь по отношению к своей среде [22].
Как отмечено в работах [24, 32] условием применимости системотехнической методологии к исследованию и созданию сложных систем являются три принципа – физичности, моделируемости и целенаправленности, которые подробно рассмотрены в работе [22] и имеют тот же смысл и аналогичную трактовку для ВСМТУ. На основе принятых понятий и определений рассмотрим системное представление ВCМТУ.
По аналогии с макроскопическим представлением МТС, сформированном в [6], и используя концептуальные положения системотехники, покажем макроскопическое представление системы ВCМТУ припортового региона ДФО с учетом понимания его как целого по отношению к внешней среде
В работе А.Д. Кондакова [24] фиксируется пять типов системных представлений: макроскопическое, микроскопическое, функциональное, иерархическое и процессуальное.
По аналогии с [22, 24], в процессуальном представлении ВCМТУ, как элемент МТК и МТС, рассматривается динамически, остальные системные представления отражают статический аспект его работы. В макроскопическом представлении описываются внешние связи системы, в функциональном, иерархическом и микроскопическом – внутренние. Функциональное и микроскопическое представления фиксируют функциональный и структурный аспекты ВСМТУ соответственно, а иерархическое – способ разбиения ее в том и другом аспекте.
Функциональное представление транспортных систем железнодорожного транспорта, приведенное в [22], можно использовать для аналитического представления ВСМТУ, связанного с пониманием его как совокупности действий (функций), направленных на достижение определенных целей. Каждый элемент (подсистема) ВCМТУ выполняет определенную функцию.
Основное функциональное назначение ВСМТУ – выполнение операций, необходимых для реализации контейнерного транзита. Соответственно, организация ВСМТУ представляет собой взаимодействие элементов, составляющих различного рода устройства, сооружения и технические средства ВСМТУ с участием в реализации перевозочного процесса персонала, обслуживающего элементы ВСМТУ [22].
Иерархическое представление соответствует пониманию системы ВCМТУ как иерархии подсистем (единиц) [22, 29, 31]. Системная иерархия замыкается снизу предельной единицей, которая еще сохраняет основные черты данной системы, но не может быть разложена на подсистемы, а только на элементы. Совокупность единиц, принадлежащих одному горизонтальному ряду системной иерархии, называется уровнем иерархии. Глубину системной иерархии, от системы как целого до элементов, выражающую предел делимости данной системы, называют уровнем анализа. При этом, по аналогии с [29, 33] можно выделить два типа связей между единицами системной иерархии ВСМТУ– горизонтальные и вертикальные. Подсистемы каждого уровня описываются через набор вертикальных и горизонтальных связей.
Процессуальное представление ВСМТУ, как и других транспортных систем [22,28,33] предполагает его понимание как совокупности, характеризуемой последовательностью состояний во времени.
Основным понятием здесь является понятие «периода жизнедеятельности» системы – временного интервала, в течение которого она существует. Транспортные системы, к которым относится ВСМТУ, не имеют ограничений во времени.
Период жизнедеятельности ВСМТУ включает в себя ряд этапов: разработку концепции проекта, проектирование, строительство и последующую эксплуатацию [22,28].
По аналогии с другими транспортными системами [22,28,33], на каждом из этапов развития ВСМТУ находится в определенном состоянии. Анализируя процессы, протекающие в системе в различные периоды жизни, можно перейти к функциональному описанию ВСМТУ как динамической системы. Иерархическая упорядоченность состояний ВСМТУ образует процессуальную иерархию (дерево состояний). Процессы, протекающие в ВСМТУ, могут быть разделены на две группы: основные и вспомогательные. К основным относятся развитие и функционирование ВСМТУ. Развитие относится к внешним процессам ВСМТУ в целом, т.е. речь идет о возможных путях увеличения в перспективе его пропускной способности.
Процессы функционирования выделяются в настоящем исследовании с точки зрения выполнения ВСМТУ основной цели – обеспечения контейнерного транзита.
Предлагаемый подход к описанию ВСМТУ и/или его элементов (МТП, ТУ, ТЗ) по аналогии с [22,28,33] устанавливает следующий порядок рассмотрения системных представлений: процессуальное, макроскопическое, иерархическое, функциональное, микроскопическое – и применяется в дальнейшем для создании методологии формирования множеств альтернатив облика и внешней среды ВCМТУ при разработке концепции его инвестиционного проекта. [22].
Системное представление объекта исследования ВCМТУ и/или его основных элементов (МТП, ТУ, ТЗ) позволяет производить декомпозицию этих сложных технико-экономических систем для формирования эффективных стратегий их этапного развития с последующим агрегированием решения по системе в целом.














