DIPLOM-Shishlenin (1210972), страница 6
Текст из файла (страница 6)
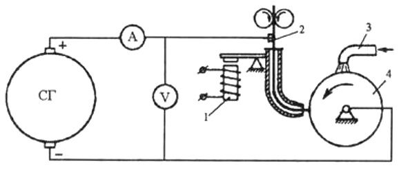
Рисунок 3.6 - Схема вибродуговой наплавки: 1 – источник питания дуги; 2 – вибратор; 3 – электродная проволока; 4 – наконечник; 5 – охлаждающая жидкость; 6 – деталь
Стабильность процесса наплавки контролируют по показаниям амперметра и по равномерности издаваемого звука. При нормальном ходе процесса стрелка амперметра почти не колеблется и слышен равномерный характерный звук плавящейся проволоки. При неправильно выбранных режимах наплавки процесс идет при непрерывном резком потрескивании, стрелка амперметра резко колеблется, шов получается прерывистым.
Большая пористость наплавленного металла указывает на загрязненность охлаждающей жидкости либо недостаточно хорошую очистку поверхностей основного металла и проволоки. При слишком большой окружной скорости детали в наплавленном металле образуется большое количество раковин.
После длительной работы наплавочной головки изнашиваются направляющая трубка мундштука, рифления подающего ролика в механизме подачи проволоки, ослабевает затяжка конусного болта шатуна наплавочной головки и пр. Все эти неисправности приводят к нарушению стабильности процесса и образованию дефектов наплавки. Поэтому необходимо своевременно производить обслуживание установки.
3.7 Плазменная сварка
Плазменная сварка и наплавка (рисунок 3.7) являются перспективным методом ремонта деталей. Высокая температура плазмы и нейтральная среда позволяют получать сварные швы и наплавочные слои мало-окисленные, обладающие высокими механическими свойствами и износостойкостью. В качестве источника тепловой энергии при плазменной наплавке используется струя плазмы. [11]
Плазма - это ионизированный газ, содержащий электрически заряженные частицы и способный проводить ток.
Ионизация газа происходит при его нагреве. Степень ионизации тем выше, чем выше температура газа. В центральной части сварочной дуги газ нагрет до температур 5000-30000° С, имеет высокую электропроводность, ярко светится и представляет собой типичную плазму. Плазменную струю, используемую для сварки и резки, получают в специальных плазматронах, в которых нагревание газа и его ионизация осуществляются дуговым разрядом в специальных камерах. Вдуваемый в камеру газ, сжимая столб дуги в канале сопла плазматрона и охлаждая его поверхностные слои, повышает температуру столба. В результате струя проходящего газа, нагреваясь до высоких температур, ионизируется и приобретает свойства плазмы. Увеличение при нагреве объема газа в 50-100 и более раз приводит к истечению плазмы со сверхзвуковыми скоростями. Плазменная струя легко расплавляет любой металл.
Дуговую плазменную струю для сварки и резки получают по двум основным схемам. При плазменной струе прямого действия изделие включено в сварочную цепь дуги, активные пятна которой располагаются на вольфрамовом электроде и изделии. При плазменной струе косвенного действия активные пятна дуги находятся на вольфрамовом электроде и внутренней или боковой поверхности сопла. Плазмообразующий газ может служить также и защитой расплавленного металла от воздуха. В некоторых случаях для защиты расплавленного металла используют подачу отдельной струи специального, более дешевого защитного газа. Газ, перемещающийся вдоль стенок сопла, менее ионизирован и имеет пониженную температуру. Благодаря этому предупреждается расплавление сопла. Однако большинство плазменных горелок имеет дополнительное водяное охлаждение.
Дуговая плазменная струя - интенсивный источник теплоты с широким диапазоном технологических свойств.
Ее можно использовать для нагрева, сварки или резки как электропроводных металлов, так и неэлектропроводных материалов, таких как стекло, керамика и др. (плазменная струя косвенного действия). Тепловая эффективность дуговой плазменной струи зависит от величины сварочного тока и напряжения, состава, расхода и скорости истечения плазмообразующего газа, расстояния от сопла до поверхности изделия, скорости перемещения горелки (скорости сварки или резки) и т. д. Геометрическая форма струи может быть также различной (квадратной, круглой и т. д.) и определяться формой выходного отверстий сопла. Питание дуги, как правило, осуществляется переменным или постоянным током прямой полярности (минуя на электроде). Возбуждают дугу с помощью осциллятора. Для облегчения возбуждения дуги прямого действия используют дежурную дугу, горящую между электродом и соплом горелки.. Для питания плазмообразующей дуги требуются источники сварочного тока с рабочим напряжением до 120 В, а в некоторый случаях и более высоким; для питания плазматрона, используемого для резки, оптимально напряжение холостого хода источника питания до 300 В.
Плазменной струей можно сваривать практически все металлы в нижнем и вертикальном положениях, В качестве плазмообразующего газа используют аргон или гелий, которые также могут быть и защитными. К преимуществам плазменной сварки относятся высокая производительность, малая чувствительность к ко-лебаниям длины дуги, устранение включений вольфрама в металле шва. Без скоса кромок можно сваривать металл толщиной до 15 мм с образованием провара специфической формы. Это объясняется образованием сквозного отверстия в основном металле, через которое плазменная струя выходит на обратную сторону изделия. Расплавляемый в передней части сварочной ванны металл давлением плазмы перемещается вдоль стенок сварочной ванны в ее хвостовую часть, где кристаллизуется, образуя шов. По существу процесс представляет собой прорезание изделия с заваркой места резки.
Плазменной струей можно сваривать стыковые и угловые швы. Стыковые соединения на металле толщиной до 2 мм можно сваривать с отбортовкой кромок, при толщине свыше 10 мм рекомендуется делать скос кромок. В случае необходимости используют дополнительный металл. Для сварки металла толщиной до 1 мм успешно используют микроплазменную сварку струей косвенного действия, в которой сила сварочного тока равна 0,1-10 А.
Рисунок 3.7 - Схема плазменной сварки: а – плазменная дуга; б – плазменная струя; 1 – подача газа; 2 – дуга; 3 – струя плазмы; 4 – обрабатываемый металл; 5 – наконечник; 6 – катод; 7 – изолятор; 8 –катодный узел
Резка плазменной струей основана на расплавлении металла в месте реза и его выдувании потоком плазмы. Плазменную струю используют для резки металла толщиной от долей до десятков миллиметров. Для резки металла малой толщины используют плазменную струю косвенного действия. При повышенной толщине металла лучшие результаты достигаются при плазменной струе прямого действия. При резке даже углеродистых сталей во многих случаях она более экономична, чем газокислородная, ввиду высокой скорости и лучшего качества реза.
В зависимости от металла в качестве плазмообразующих газов можно использовать азот, водород, аргоно-водородные, аргоно-азотные, азото-водородные смеси. Использование для резки смесей газов, содержащих двухатомные газы, энергетически более эффективно. Диссоциируя, двухатомный газ поглощает много теплоты, которая выделяется на холодной поверхности реза при объединении свободных атомов в молекулу. В последнее время, когда появилась возможность использовать водоохлаждаемые циркониевые и гафниевые электроды, в качестве режущего газа стали использовать и воздух. Сварку и резку можно выполнять вручную и автоматически.
3.8 Индукционно-металлургический способ наплавки
Индукционно-металлургический способ (рисунок 3.8) является наиболее эффективным, сущность его заключается в нагреве детали токами высокой частоты и расплавлении на поверхности детали специальных присадок (порошков) , создающих после сплавления с основным металлом износостойкую поверхность. Такой метод применяется для изготовления автосцепок пассажирских вагонов. [7]
Данный способ восстановления и упрочнения трущихся поверхностей деталей и узлов подвижного состава основан на использовании высокочастотного концентрированного поверхностного нагрева деталей под наплавку порошковыми материалами с заданными физическими свойствами. Температура нагрева 1200-1500 ° С регулируется изменением мощности, отбираемой нагревателем ( индуктором) от высокочастотной установки, и зависит от состава наплавочной шихты.
Для раскисления окиси железа и удаления загрязнений с обрабатываемых поверхностей применяют борсодержащие флюсы, способствующие улучшению процесса наплавки порошковых материалов и прочности наплавленного металла.
Для индукционного нагрева поверхностей восстанавливаемых деталей применяются высокочастотные промышленные установки типов ВЧИ2 100/0,66; ВЧЗ 160/0,66; ВНГ6 60/0,44. Площадь для оснастки и необходимых приспособлений должна быть не менее 75
. Механизация подачи крупногабаритных деталей в зону нагрева и манипулирование с ними осуществляются в строгом соответствии с требованиями эксплуатации, изложенными в паспорте высокочастотной установки.
В качестве флюсов используются составы марок П-1, П-2, НП-2. Рекомендуемое прцентное содержание флюса составляет 25 весовых норм от массы шихты. Толщину наплавленного слоя можно изменять в пределах 0,5-5,0 мм. Для деталей автосцепного оборудования толщина наплавки 1,5-2,5 мм. Приготовленную шихту предварительно смешивают с флюсом механическим способом и сушат при температуре 100-200 ° С в течении 30-40 мин. При дозировке шихты необходимо учитывать, что усадка расплава составляет 1/3 часть исходной высоты шихты. После наплавки детали складируют для естественного остывания до шлакоотделения. Мелкие изъяны и отдельные крупные неровности зачищают шлифовальным кругом. Незаплавленные места, прожоги и другие изъяны исправляют электродуговой наплавкой. Внешний вид качества наплавленной поверхности детали оценивают визуально.
Рисунок 3.8 - Схема индукционной наплавки: а – начало процесса; б – окончание процесса; 1 – индуктор ТВЧ; 2 – частицы наплавляемого сплава; 3 – частицы флюса; 4 – деталь; 5 – слой жидкого флюса; 6 – жидкий присадочный сплав
Внешний вид наплавленной поверхности по классу частоты должен соответствовать литейной поверхности, иметь чистый серебристый цвет при отсутствии явных изъянов; готовые детали необходимо сравнить с эталоном. Выборочным контролем в лабораторных условиях определяют твердость наплавленной поверхности и толщину наплавленного слоя методами неразрушающего контроля.
Все работы по наладке, настройке и установке режимов высокочастотной установки, а также по наплавке деталей проводит специально обученный и прошедший рабочий инструктаж персонал в составе бригады не менее 2 человек. С помощью данного способа сокращаются эксплутационные затраты на содержание ПС, возможно исключить браковку деталей ударно-тяговых приборов при производстве плановых видов ремонта по причине сверхнормативного износа, что ведет к снижению потребности в закупке новых деталей, увеличить межремонтный ресурс пробега узлов ( автосцепок, тяговых хомутов и т.д.) железнодорожного подвижного состава до 1 миллиона вагоно-километров и более, снизить количество отцепок вагонов и локомотив во внеплановые виды ремонта, уменьшить время простоя подвижного состава в ремонте, сэкономить материально- технические ресурсы, необходимые для ремонта детали ввиду незначительного износа упрочненного слоя в процесс эксплуатации.
4 РАЗРАБОТКА УЧАСТКА ВОСТАНОВЛЕНИЯ ДЕТАЛЕЙ
ВАГОНОВ МЕТОДОМ ИНДУКЦИОННО-МЕТАЛЛУРГИЧЕСКОЙ
НАПЛАВКИ В ЛВЧД-3 ВЛАДИВОСТОК
Участок восстановления и упрочнения деталей предназначен для производства работ по восстановлению и упрочнению деталей с использованием специальных материалов в результате чего в соответствии приказа МПС № 2 от 17 января 2002 года увеличиваются сроки межремонтного пробега пассажирских вагонов и сокращение материальных затрат на их последующие ремонты. [8]
На участке выполняются следующие виды работ:
- частичная подготовка поверхностей деталей к восстановлению и упрочнению;
- восстановление и упрочнение деталей пассажирских вагонов;
- упрочнение деталей индукционно-металлургическим способом (ИМС);
- ремонт деталей, ранее подвергавшихся упрочнению в соответствии с типовым технологическим процессом ремонта деталей пассажирских вагонов, ранее подвергавшихся упрочнению;
4.1 Организация работы участка















