РАЗРАБОТКА ТЕХНОЛОГИИ КОМПЛЕКСНОГО УПРОЧНЕНИЯ ДЕТАЛЕЙ ВАГОНА (1210803), страница 8
Текст из файла (страница 8)
Плазменные напыления причиняют как правило в атмосфере в особом помещении с пылевытяжной вентиляцией либо в воздухонепроницаемой камере с регулируемой атмосферой Больше лишь с промежуточной. С целью нанесения плазменных покрытий используются подобные конструкции, равно как УПУ-ЗД, УМП-6, «Киев-7» и др. Данные конструкции специализированы с целью извлечения плазменным напылением теплозащитных, жаростойких, электроизоляционных, абразивостойких и противокоррозионных покрытий с металических порошков и керамики в внутренние и внешние плоскости верчения, а кроме того в плоскости прямых продуктов.
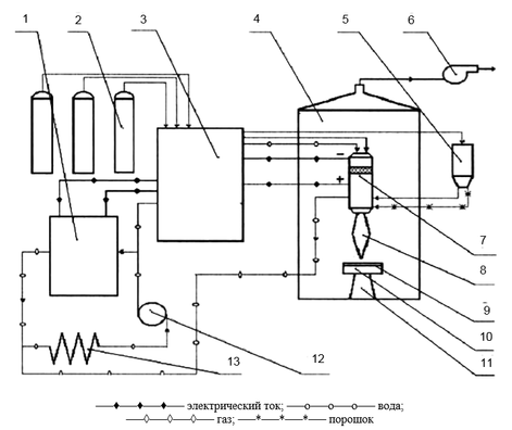
Установка для плазменного напыления включает: плазмотрон, источник питания, газораспределительную систему, механизм подачи материала, систему охлаждения, пульт управления и различные элементы оснастки. На рисунке 3.4.1 представлена принципиальная схема универсальной плазменной установки УМП-6.
Рисунок 3.4.1 - Принципиальная схема плазменной установки УМП-6: 1 – источник питания; 2 – баллоны с газом; 3 – пульт управления; 4 – камера напыления; 5 – порошковый дозатор; 6 – вытяжной вентилятор; 7 – плазмотрон; 8 – плазменная струя; 9 – напыленное покрытие; 10 – изделие; 11 – устройство для перемещения изделия; 12 – водяной насос; 13 – холодильник.
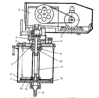
В качестве источника питания установки УМП-6 применяется полупроводниковый выпрямитель ИПН-160/600-Ш, состоящий из трехфазного силового трансформатора с плавным регулированием рабочего тока (до 600 А), выпрямительного блока, пускорегулирующей аппаратуры. В источнике предусмотрен переключатель для получения напряжения холостого хода: 80, 120, 160 В. На рисунке 3.4.2 представлен пульт управления УМП-6.
Рисунок 3.4.2 - Пульт управления установкой УМП-6: 1 – пульт управления; 2 – механизм подъема порошкового дозатора; 3 – регулятор подачи порошка; 4 – вентили; 5, 6 – кнопки «пуск»-«стоп»; 7 – тумблеры; 8 и 9 – вольтметры; 10 – амперметр; 11 – термометр манометрический; 12 – манометр водяной; 13 – манометры газовые; 14 – лампы сигнальные; 15 – дозатор порошка.
Вместо выпрямителя ИПН-160/600-Ш могут использоваться и обычные сварочные генераторы, соединенные последовательно для увеличения напряжения холостого хода, а также сварочные выпрямители, применяемые для сварки. Источники питания плазменной дуги должны иметь крутопадающую внешнюю вольтамперную характеристику. Плазмотрон – газоразрядное устройство, служащее для нанесения плазменных покрытий. Наиболее важным элементом плазмотрона является сопло, от конструкции которого зависит длина дуги, стабильность ее горения, а также скорость и характер истечения струи. Сопловой (анодный) узел через электроизоляционный блок стыкуется с катодным узлом, представляющим собой стержневой электрод, изготовленный из вольфрама с добавкой иттрия или лантана.
Отрицательный вывод источника постоянного тока присоединяется к вольфрамовому стержню-катоду, а положительный к соплу-аноду. Плазмообразующий газ подается во внутреннюю межэлектродную камеру, образованную медным соплом-анодом и вольфрамовым электродом.
Рисунок 3.4.3 - Электродуговой плазмотрон для напыления: K – дистанция ввода порошка в плазменную струю; L – дистанция напыления; α – угол ввода порошка в плазменную струю; 1 – водяное охлаждение; 2 – вход плазмообразующего газа; 3 – электроизоляционный блок; 4 – катод плазмотрона; 5 – сопло – анод плазмотрона; 6 – плазменная струя; 7 – ввод напыляемого порошка; 8 – плазменная струя с нагретым порошком; 9 – напыленное покрытие; 10 – напыляемое изделие.
Использование в качестве плазмообразующего газа аргона или азота, а также их смесей осуществляется совместно с вольфрамовым или медным водоохлаждаемым электрод. Если в качестве охладителя применяется воздух, то гафниевый или циркониевый электрод, установленный в медную обойму. Актуальность использования гафния или циркония сводится к тому что вольфрам при большой температуре начинает интенсивно окисляться.
С целью повышения силы плазмы из-за расчет возвышения усилия промежуток среди катодом и анодом повышают из-за расчет переходных вставок, отделенных равно как с катода, таким (образом и с анода. На рисунке 3.4.4 представлен воздушно-плазменый плазматрон с промежными красновато-желтыми вставками. С целью возбужденности дуговальный плазмы усилия, прикладываемого к электродам, мало. В следствии этого с целью возбужденности дуги прибегают к вспомогательным событиям, обеспечивающим возникновение ионизованных Элементов в межэлектродном месте. С целью возбужденности плазменной потока как правило применяют индукционную искру, какую приобретают с осциллятора, интегрированного в ресурс кормления. Источник высочайшей частоты предоставляет исходный толчок, с коего атомы газа взбудораживаются и ионизируются. Среди полюсами воспламеняется сгиб, поддерживающая степень ионизации.
Рисунок 3.4.4 – Плазматрон с промежуточными вставками.
Плазменная струя оформляется медным соплом. Благодаря охлаждающему действию стенок сопла наружные слои столба деионизируются и объем ионизированной части столба уменьшается. Это приводит к повышению напряжения дуги и значительному увеличению плотности тока в столбе. Плазменная струя обжимается еще и магнитным полем, создаваемым потоком заряженных частиц в плазме. Обжатие плазменной струи способствует росту ее температуры. Нагретый ионизированный поток газа выносится с высокой скоростью из сопла в виде яркосветящейся плазменной струи высокой температуры (5 000–15 000 ºС). Как уже отмечалось, мощность плазмотрона зависит от размеров межэлектродного пространства. Коэффициент полезного действия плазмотрона 60–80 %, примерно 0,8 всей мощности плазмотрона расходуется на нагрев плазмообразующего газа. Наибольшему разрушению подвергается сопло плазмотрона, поэтому оно изготавливается из меди и делается сменным. Срок службы сопла зависит от режима работы плазмотрона, вида плазмообразующего газа, его чистоты по содержанию кислорода и влаги, системы охлаждения и составляет от 15 до 1000 ч.
Напыляемый материал может вводиться в столб плазмы через анодный сопловой узел и за срез плазмотрона (рис. 3.4.3). Выбор места находится в зависимости от теплофизических качеств материала, его сыпучести. Дистанционный пульт управления дает возможность плавно и достаточно точно регулировать ключевые энерго характеристики плазменной обработки (электрические характеристики, расход плазмообразующего и транспортирующего газов). Независимо от вида плазмотрона, верная работа установок для плазменного напыления находится в зависимости от ряда причин, одним из которых считается эффективность системы остывания. Более действенное замораживание вполне возможно обеспечить, используя системы закрытого вида с применением. Верная работа плазменных установок быть может достигнута подготовительным понижением температуры остужающей среды морозильного аппарата до +2 ºС, электромагнитной обработкой остужающей воды, внедрением дистиллированной воды в контуре хладагента.
В качестве плазмообразующих газов при нанесении покрытий могут использовать аргон, азот, смеси аргона с азотом либо водородом либо, при конкретных условиях, воздух. Все данные газы поставляются в баллонах. Баллоны с редукторами инсталлируются вне помещения, в Нарочно оснащенных шкафах. Аргоновая плазма (ионизированный газ) имеет повышенную температуру 15 000–30 000 К. Температура азотной плазмы ниже (10 000–15 000 К), но имеет высочайшее теплосодержание с помощью поглощенной энергии диссоциации и ионизации, выделяемой при рекомбинации (при замораживании газа в независимой плазменной струе). Аргон по более высокой цене азота. Исходя из вышеизложенного, более обширно в роли плазмообразующего газа используется азот либо воздух. При применении воздуха он сервируется от невесомого компрессора через осушители. При плазменном нанесении покрытий в роли начального материала может употребляться проволока или же порошок. Порошковое плазменное напыление более экономично, чем проволочное, позволяя получать покрытия более высочайшего качества. При порошковом напылении употребляются питатели (дозаторы) разных систем. В шаблонной установке УМП-6 используется порошковый питатель, система которого дана на рисунке 3.4.5.
Дозатор состоит из следующих основных узлов: бачка, механизма перемещения порошка, системы транспортирующего газа, привода с кулачковой муфтой. Количество порошка, подаваемого в плазмотрон несущим газом, определяется скоростью вращения ротора с лопатками. Широко распространены и роторные дозаторы, где подача порошка из бункера осуществляется колесом-крыльчаткой, частота вращения которого определяет количество расходуемого порошка и регулируется электрической схемой. Плазменный пост для напыления с порошковым дозатором представлен на рисунке 3.4.6 и чертеже графического материала ДП 190302.65.6В6.05.
Рисунок 3.4.5. Порошковый дозатор установки УМП-6: 1 – бачок дозатора; 2 – днище съемное; 3 – лопатки верхние; 4 – крышка; 5 – муфта; 6 – редуктор; 7 – электродвигатель; 8 – клапан предохранительный; 9 – валик ротора; 10 – подвеска; 11 – труба центральная; 12 – упор; 13 – воронка с ниппелем; 14 – шнек; 15 – лопатки нижние.
Рисунок 3.4.6 - Плазменный пост для напыления.
3.4.2 Технология нанесения покрытий
Технологический процесс нанесения покрытий включает следующие операции: предварительную подготовку поверхности изделия для обеспечения прочного сцепления напыляемого материала с подложкой; подготовку напыляемых материалов; нанесение покрытия; механическую обработку покрытия после напыления. Структура технологического прцесса плазменного напыления представлена рисунок 2.4.7 и чертеже графического материала ДП 190302.65.6В6.06.
Рисунок 2.4.7 - Структура технологического процесса плазменного напыления поверхности.
3.4.3 Подготовка напыляемых материалов
Перед использованием напыляемые порошковые материалы необходимо просушить или прокалить. Эту операцию следует проводить в сушильном шкафу или печи в течение 2–5 часов при температуре 200–600 ºС. Порошки рассыпают на противнях тонким слоем (20–25 мм) и периодически перемешивают. Просушка позволяет удалить из порошка гидратную и гигроскопическую влагу, являющуюся источником диффузионного водорода, который вызывает повышенную пористость покрытия и появление трещин в покрытии.
3.4.4 Предварительная обработка поверхностей
Предварительной механической обработке подвергаются бывшие в эксплуатации детали, подлежащие восстановлению. Для этого применяют грубую обдирку на наждачном камне, удаляя раковины, трещины, поры. Для придания правильной геометрической формы изношенным участкам применяют точение. Глубина проточки регламентируется условиями эксплуатации. Если допустимый износ составляет 0,5 мм на радиус, глубина проточки должна составлять соответственно 0,65 мм. Проточка должна заканчиваться фаской с наклоном 40–450º к оси детали и выполняться концентрично. В противном случае толщина покрытия окажется различной. При нанесении покрытий толщиной более 1,0 мм для нагруженных деталей используют и специальную механическую обработку. К видам такой обработки относятся накатка роликом, насечка, фрезерование канавок, нарезание рваной резьбы. Не следует применять крупные резьбы или канавки. Это приводит к чрезмерной пористости и появлению газовых пузырьков в оплавленных покрытиях.
Накатку делают накатным роликом, закрепленным в резцедержателе токарного станка. Насечки наносятся методом фрезерования (в несколько рядов при наклонном положении вращающейся фрезы), вручную или с помощью пневматического зубила. Канавки клиновидной формы прорезают дисковой фрезой или соответствующим строгальным резцом.
Травление (ГОСТ 9.402–80) производят для нанесения тонких покрытий при подготовке тонкостенных деталей. Травление протекает с разной скоростью у кристаллов и межкристаллитных включений обрабатываемого материала, что обусловливает появление шероховатости поверхности. После травления поверхность должна быть тщательно нейтрализована. Перерыв между травлением и нанесением покрытий не должен превышать трех часов. Шероховатость в виде мелкой винтовой нарезки, канавок и накатки можно обеспечить методами механической обработки. Максимальной адгезии можно достичь при Rzmax = 150–170 мкм. Электроискровую подготовку поверхности проводят в том случае, когда поверхность имеет высокую твердость (более 50 НRСэ) и в связи с этим не может быть обработана дробеструйным или механическим способами. Детали, подготовленные к нанесению покрытий, не должны долго храниться, так как это также снижает прочность сцепления. Желательно, чтобы разрыв во времени не превышал 1–4 часов в условиях комнатной температуры (около 20 ºС) и влажности (меньше 75 %). Как часть процесса подготовки поверхности следует рассматривать предварительный нагрев, который выполняется непосредственно перед нанесением покрытий. При соприкосновении плазменной струи с холодной поверхностью на ней конденсируются пары воды, поверхность моментально увлажняется. При ударе об увлажненную поверхность разогретых металлических частиц влага испаряется под ними, препятствуя прочному сцеплению.
















