диплом Ю. Шипиловой (1203156)
Текст из файла
Министерство транспорта Российской Федерации
Федеральное агентство железнодорожного транспорта
ФЕДЕРАЛЬНОЕ ГОСУДАРСТВЕННОЕ БЮДЖЕТНОЕ ОБРАЗОВАТЕЛЬНОЕ УЧРЕЖДЕНИЕ ВЫСШЕГО ОБРАЗОВАНИЯ
«ДАЛЬНЕВОСТОЧНЫЙ ГОСУДАРСТВЕННЫЙ УНИВЕРСИТЕТ
ПУТЕЙ СООБЩЕНИЯ»
Кафедра «Техносферная безопасность»
К ЗАЩИТЕ ДОПУСТИТЬ
Заведующий кафедрой
профессор, д.б.н.
_________ М.Х. Ахтямов
«____» ________ 2016 г.
ОЦЕНКА УСЛОВИЙ ТРУДА И РАЗРАБОТКА МЕРОПРИЯТИЙ
ПО УЛУЧШЕНИЮ УСЛОВИЙ ТРУДА (НА ПРИМЕРЕ ООО «МИРС»)
Пояснительная записка к выпускной квалификационной работе
ВКР 20.03.01.ТБ.948 – 2016
Студент 948 гр. ______________ Ю.А.Шипилова
подпись, дата
Руководитель
доцент, к.т.н. _______________ К.В. Пупатенко подпись, дата
Нормоконтроль
доцент, к.т.н. _______________ К.В. Пупатенко
подпись, дата
Хабаровск – 2016
Содержание
| Введение………………………………………………………………………...... | 3 | ||
| 1 Характеристика объекта исследования…...………………………………….. | 6 | ||
| 2 Оценка микроклиматических условий на рабочих местах……………..…... | 10 | ||
| 2.1 Нормативные требования к микроклимату в книжных магазинах…. | 10 | ||
| 2.2 Влияние микроклимата на организм человека……………………….. | 13 | ||
| 3 Оценка искусственной освещенности в книжном магазине ….……………. | 20 | ||
| 4 Оценка тяжести трудового процесса продавца – консультанта…………… | 30 | ||
| 5 Проверка обеспечения требований пожарной безопасности…………..…… | 37 | ||
| 5.1 Нормативно – законодательная база пожарной безопасности……..... | 37 | ||
| 5.2 Классификация пожаров………………………………………………. | 45 | ||
| 5.3 Определение расчетного времени эвакуации людей из помещений и зданий по расчету движения нескольких людских потоков…………... | 49 | ||
| 6 Анализ режима труда и отдыха работников книжного магазина…………... | 57 | ||
| 7 Мероприятия по улучшению условий труда……………………………..…. | 62 | ||
| 7.1 Мероприятия по защите от неблагоприятного воздействия микроклимата………………………………..……………………………… | 63 | ||
| 7.1.1 Определение мест проникновения холодного воздуха в помещение магазина………………………………………………….. | 63 | ||
| 7.1.2 Теплоизоляция помещения……………………………………... | 64 | ||
| 7.1.3 Установка тепловой завесы в тамбур………………………….. | 68 | ||
| 7.1.4 Установка тепловентиляторов…………………………………. | 69 | ||
| 7.1.5 Установка инфракрасного обогревателя………………………. | 70 | ||
| 7.2 Мероприятия по улучшению условий труда, обусловленных тяжестью трудового процесса……………………………………………. | 71 | ||
| Заключение…………………………………………………………………….... | 73 | ||
| Список использованных источников…………………...……………………… | 74 | ||
Введение
Условия труда – это совокупность факторов производственной среды и трудового процесса, которые оказывают влияние на работоспособность и здоровье человека и подразделяются на вредные и опасные.
Вредные условия труда – это условия, в результате которых вредные производственные факторы превышают установленные санитарно-гигиенические нормативы и оказывают негативное воздействие на здоровье работника.
Вредный производственный фактор – это фактор среды и трудового процесса, воздействие которого на работника проводит к профессиональным заболеваниям, а также к снижению самочувствия и работоспособности, подразделяется на:
-
физические (вибрация, шум, инфразвук, ультразвук, климатические условия, неправильное освещение, запыленность, излучения, радиация, повышенные уровни электромагнитных полей);
-
химические (загазованность воздуха);
-
биологические (воздействие микроорганизмов);
-
тяжесть труда (поднятие грузов вручную, перемещение в пространстве более 8 км, неудобная поза);
-
напряженность (воздействие на центральную нервную систему, органы чувств, неблагоприятный режим).
Опасные условия труда – это условия труда, воздействие которых в течение рабочей смены (или ее части) создает угрозу для жизни работающего, а также возможен высокий риск возникновения тяжелых форм острых профессиональных поражений.
Опасный производственный фактор – это фактор среды, воздействие которого на работника может привести к травме или др. внезапному резкому ухудшению здоровья и подразделяется на:
-
физические (движущиеся механизмы и машины, части оборудования, работа на высоте, падающие предметы, электрический ток, нагретые поверхности (свыше 450С));
-
химические (работа с агрессивными химическими жидкостями);
-
биологические (воздействие макроорганизмов).
Каждый человек проводит на работе большую часть своего времени и ему хочется, чтобы условия его работы были комфортными или, как минимум, не создавали неудобств при осуществлении трудовой деятельности, поэтому каждый работодатель обязан обеспечить нормальные и безопасные условия труда. От соблюдения определенных норм и правил, установленных Российской Федерацией, зависит состояние здоровья сотрудников, производительность труда, эмоциональный микроклимат коллектива, а так же процветание предприятия.
Обеспечение безопасных условий труда, сохранение здоровья и работоспособности работников является весьма важной и актуальной задачей каждого работодателя.
В выпускной квалификационной работе объектом для исследования выбран магазин «Большой книжный – 1», находящийся по адресу: г. Хабаровск, ул. Серышева 31а. Целью данной работы является оценка условий труда работников книжных магазинов, а также разработка мероприятий по обеспечению комфортных условий труда.
При выполнении выпускной квалификационной работы следует решить следующие задачи:
-
оценить параметры микроклимата;
-
оценить достаточность освещения помещений книжного магазина;
-
определить и оценить тяжесть трудового процесса;
-
проверить соответствует ли книжный магазин нормативным требованиям пожарной безопасности;
-
рассмотреть режим труда и отдыха сотрудников магазина;
-
проанализировать выявленные несоответствия условий труда нормативным требованиям, установить их причину и разработать мероприятия по улучшению условий труда.
Пояснительная записка выпускной квалификационной работы состоит из:
-
7 разделов;
-
28 рисунков;
-
18 таблиц;
-
9 формул.
-
При написании выпускной квалификационной работы использовалось 16 источников, из которых 9 – нормативно – правовые акты.
1 Характеристика объекта исследования
Общество с ограниченной ответственностью «Мирс» - это книготорговая компания, которая присутствует на рынке оптово-розничной торговли с 1992 года.
Компания ООО «Мирс» является лидером по продаже канцелярской, книжной, открыточной продукции, а также предлагает широкий выбор детских игрушек.
В компании трудоустроено более 1500 человек.
Магазины и филиалы компании располагаются в 12-ти городах, представленных на рисунке 1.1.
Рисунок 1.1 Магазины и филиалы компании ООО «Мирс»
В г. Хабаровске находится 29 книготорговых магазинов компании, представленные на рисунке 1.2.
Рисунок 1.2 Сеть магазинов фирмы ООО «Мирс» в г. Хабаровск
В выпускной квалификационной работе объектом для исследования выбран магазин «Большой Книжный-1», находящийся по адресу: г. Хабаровск, ул. Серышева 31а, представленный на рисунке 1.3.
Рисунок 1.3 Магазин «Большой Книжный»
Магазин расположен в отдельно стоящем четырехэтажном здании, в котором имеется цокольное помещение. Здание построено из кирпича, перекрытия – железобетонные.
До 2005 года здание принадлежало типографии, помещение использовалось как складское.
Книжный магазин располагается на первом этаже, работает с 9:00 до 21:00 часа, без перерыва и выходных.
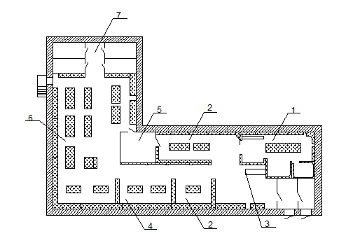
На рисунке 1.4 представлен план помещения магазина.
Рисунок 1.4 План помещения магазина
1- канцелярский отдел; 2- детский отдел; 3-касса;
4, 6-отдел научной и художественной литературы;
5-складское помещение; 7- служебное помещение
Количество сотрудников – 10 человек:
-
директор – 1 человек;
-
заместитель директора – 2 человека;
-
старший продавец – 1 человек;
-
товаровед – 1 человек;
-
продавец – консультант – 5 человек.
В таблице 1.1 представлена характеристика выполняемой работы сотрудниками магазина.
Таблица 1.1
Характеристика выполняемых работ сотрудниками магазина
| Выполняемая работа (исполнители) | Обязанности |
| Консультирование покупателей (все сотрудники магазина) |
|
| Прием товара (товаровед) |
|
2 Оценка микроклиматических условий на рабочих местах
Состояние здоровья человека и его работоспособность в значительной степени зависят от микроклимата на рабочем месте.
Характеристики
Тип файла документ
Документы такого типа открываются такими программами, как Microsoft Office Word на компьютерах Windows, Apple Pages на компьютерах Mac, Open Office - бесплатная альтернатива на различных платформах, в том числе Linux. Наиболее простым и современным решением будут Google документы, так как открываются онлайн без скачивания прямо в браузере на любой платформе. Существуют российские качественные аналоги, например от Яндекса.
Будьте внимательны на мобильных устройствах, так как там используются упрощённый функционал даже в официальном приложении от Microsoft, поэтому для просмотра скачивайте PDF-версию. А если нужно редактировать файл, то используйте оригинальный файл.
Файлы такого типа обычно разбиты на страницы, а текст может быть форматированным (жирный, курсив, выбор шрифта, таблицы и т.п.), а также в него можно добавлять изображения. Формат идеально подходит для рефератов, докладов и РПЗ курсовых проектов, которые необходимо распечатать. Кстати перед печатью также сохраняйте файл в PDF, так как принтер может начудить со шрифтами.















