ПЗ-Зенченко (1192152), страница 3
Текст из файла (страница 3)
12 - раздаточная коробка; 14 — нагребающие лапы; 15 — диски для привода лап
Рисунок 1.13 – Снегопогрузчик Д-566
а — раздаточная коробка; б — нагребающие лапы и скребковый транспортёр
Рисунок 1.14 – Кинематические схемы привода оборудования снегопогрузчика Д-566
1.6 Конструктивное исполнение привода погрузчиков
Электропогрузчики могут быть с жестким передним мостом, с выдвижным передним мостом и поворотно-выдвижным мостом.
У серийно выпускаемых погрузчиков обычно передний мост крепится к корпусу неподвижно. В ряде погрузчиков имеет место устройство подвижного переднего моста относительно корпуса погрузчика. При выдвижении переднего моста грузоподъемник погрузчика наклоняется назад, увеличивается колесная база и, следовательно, продольная устойчивость машины, увеличивается нагрузка на заднее ведущее колесо, улучшается сцепление колеса с опорной поверхностью. При уменьшении колесной базы погрузчика повышается его маневренность. Все это имеет важное значение для погрузчиков повышенной маневренности. Погрузчики с поворотно-выдвижным передним мостом имеют ограниченное маневрирование при захвате грузов и штабелировании.
Таким образом, конструкция погрузчика с поворотным мостом имеет ряд преимуществ перед конструкцией с жестким мостом, так, например, погрузчику с поворотным мостом требуется меньшая ширина проходов для проезда по складу, что позволяет увеличить полезную площадь склада за счет уменьшения ширины проездов. Также у погрузчика с поворотным мостом уменьшается время цикла штабелирования груза за счет упрощения процесса погрузки груза в штабель. Поэтому целесообразно в разрабатываемом погрузчике использовать поворотный передний мост. Поворотное устройство для поворота моста по принципу действия схоже с поворотным устройством погрузчика ЭП-1008 (зубчатая рейка на гидроцилиндре обкатывает зубчатое колесо.).
Для передачи движения на ходовые колеса вилочных погрузчиков применяют устройства с механическим дифференциалом, с гидростатической трансмиссией, с электрическим дифференциалом и без дифференциала.
Почти во всех четырехколесных и, реже, в трехколесных вилочных погрузчиках с приводным передним мостом применяется механический дифференциал. Обычно передние колеса у электропогрузчиков приводятся в движение от одного двигателя через редуктор и механический дифференциал, а у автопогрузчиков — через карданный вал, коробку передач и специальный механизм обратного хода, который соединен при помощи карданного вала с ведущим мостом. Применение карданного вала позволяет располагать двигатель в задней части погрузчика, что дает возможность уменьшить массу противовеса, а, следовательно, и всей машины. В отдельных случаях механический дифференциал применяется в трехколесных погрузчиках с приводным передним мостом.
Погрузчики, в приводных мостах которых применяется механический дифференциал, имеют относительно плохую проходимость в случае недостаточного сцепления с опорной поверхностью одного из ведущих колес, а также сравнительно низкий к.п.д. (особенно при поворотах), что увеличивает непроизводительный расход электроэнергии. Широкое применение передние приводные мосты с механическим дифференциалом получили благодаря возможности использовать серийно выпускаемые узлы автомобилей и тракторов, что снижает себестоимость изготовления погрузчиков.
Повышение проходимости и маневренности вилочных погрузчиков достигается применением ведущего моста с раздельным приводом передних колес и использованием электрического дифференциала. При прямолинейном движении погрузчика оба приводных двигателя работают синхронно, а при проходе по кривой в момент поворота один из двигателей отключается. В электрических схемах привода предусматривается последовательное соединение электродвигателей при значительных радиусах поворота погрузчика и отключение одного из двигателей или изменение стороны его вращения при малых радиусах поворота (до 1,5 м), которые имеют место при работе погрузчика в закрытых помещениях и вагонах [19].
2. ПРОЕКТ КОНСТРУКЦИИ ПОГРУЗЧИКА
2.1. Техническая характеристика
Тип привода передвижения - электрический
Грузоподъемность 1,5 т.
Высота подъема груза 3 м.
Скорость подъема вил:
с грузом 0,18 м/с,
без груза 0,24 м/с.
Скорость опускания вил:
с грузом 0,40 м/с,
без груза 0,16 м/с.
Наибольшая скорость передвижения:
с грузом 10 км/ч,
без груза 12 км/ч.
Дорожный просвет 100 мм.
Внешний радиус поворота 1340 мм.
Наименьшая ширина проездов под углом 900 1750 мм.
2.2. Описание конструкции машины
Общий вид конструкции электропогрузчика представлен на рисунке 2.1. Электропогрузчик имеет три опорных колеса и относится к погрузчикам повышенной маневренности.
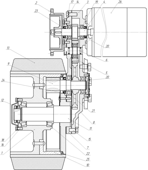
У электропогрузчиков повышенной маневренности раздельный привод передних колес. Узел каждого из ведущих колес состоит из электродвигателя 13, двухступенчатого цилиндрического редуктора 11и массивной бандажной шины 9. Корпус редуктора прикреплен болтами к щекам корпуса погрузчика.
1 — аккумуляторная батарея; 2 — корпус; 3 — колесо управляемое; 4 — сигнал звуковой; 5 — привод тормоза; 6 — вал шарнирный; 7—грузоподъемник;
8 — панель контакторная; 9 — массивная шина; 10 — контроллер;
11—редуктор; 12 — шкив тормозной; 13 — электродвигатель передвижения;
14 — бак масляный; 15 — сопротивление пусковое; 16 — шкворень; 17 — крышка; 18 — противовес; 19 —насос; 20—электродвигатель насоса;
21 — цилиндр наклона; 22 — редуктор одноступенчатый цилиндрический;
23 — маслоуказатель
Рисунок 2.1 - Общий вид конструкции электропогрузчика
Заднее управляемое колесо 3 состоит из собственно колеса на массивной шине, свободно сидящего на оси, и шарикового поворотного круга. Оно может поворачиваться на 90° в обе стороны, при этом центр поворота находится в точке пересечения оси передних колес с продольной осью погрузчика, т. е. радиус поворота минимально возможный.
Рулевое управление состоит из шарнирного вала 6, одноступенчатого цилиндрического редуктора 22 и цепной передачи. Погрузчик оборудован механическим ножным тормозом. Тормозные шкивы 12 расположены на ведущих валах редукторов передвижения 11. Для торможения погрузчика на стоянке служит тормоз 5.
На погрузчике можно устанавливать грузоподъемники двухрамной конструкции с высотой подъема 2,0 и 3,0 м. Последние — в двух исполнениях с высотой подъема вил на 200 и 1300 мм без увеличения габаритной высоты погрузчика. Основные узлы грузоподъемника 7 — телескопическая рама, каретка, цилиндры подъема и наклона. На каретку грузоподъемника навешиваются сменные грузозахватные устройства.
Гидропривод погрузчика состоит из электродвигателя 20 с шестеренчатым насосом 19, масляного бака 14, гидрораспределителя, арматуры. Гидрораспределитель управляет цилиндрами подъема, наклона и навесных грузозахватных приспособлений. Электроаппаратура управления смонтирована на панели 8 и связана с аккумуляторной батареей силовым штепсельным разъемом. Приборы управления собраны на панели, расположенной под рулевым колесом. Для управления скоростью передвижения предназначен контроллер 10 с приводом от ножной педали. Устойчивость погрузчика обеспечивают аккумуляторная батарея 1, расположенная в задней части корпуса, и противовес 18.
Корпус погрузчика выполнен в виде сварной рамы с двумя бортами, днищем, поперечными, продольными связями и другими элементами, предназначенными для крепления узлов и деталей.
Сиденье установлено на крышке аккумуляторного ящика. Конструкция сиденья позволяет регулировать его положение в продольном направлении и угол наклона спинки. Оператор и механизмы сверху защищены предохранительной решеткой от возможного падения поднимаемого груза в процессе штабелирования.
Электроаппаратура управления смонтирована на отдельной панели в задней части машины и связана с батареей силовым штепсельным разъемом.
Электрооборудование погрузчика может быть выполнено в контакторном или импульсном варианте. Импульсный вариант дает возможность бесступенчато регулировать скорость вращения электродвигателей передвижения от нуля до максимальной.
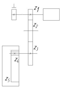
Кинематическая схема всех погрузчиков одинаковая (рисунок 2.2) и включает следующие группы механизмов: корпус 3; два колеса ведущих 2; колесо управляемое 4; рулевое управление 1; тормозное устройство 5.
Рисунок 2.2 - Кинематическая схема электропогрузчика
Хорошая устойчивость погрузчика обеспечивается расположением аккумуляторной батареи в задней части шасси. Передний ведущий мост включает в себя, тяговый электродвигатель и двухступенчатый цилиндрический редуктор на каждое переднее колесо с массивной литой шиной. Двигатель прикреплен к корпусу редуктора четырьмя шпильками. В отверстие вала двигателя входит шлицевый конец ведущего вала-шестерни, который вращается на двух шариковых подшипниках. На конусном его выходном конце установлен тормозной шкив. Манжеты уплотняют выходные концы ведущего вала-шестерни. Подшипники установлены в распор. Зазор для нормальной работы подшипников регулируют необходимым числом прокладок.
Промежуточная шестерня установлена на шариковом подшипнике на оси, неподвижно закрепленной в крышке редуктора. Ось уплотнена с помощью резиновых колец.
Первая ступень редуктора — ведомая цилиндрическая шестерня насажана на шлицевый конец вала-шестерни, установленного на двух подшипниках. Зазор в зацеплении шестерен в заданных пределах регулируется прокладками. На шейке вала-шестерни установлена манжета, уплотняющая редуктор.
Вторая ступень редуктора — внутреннее зацепление шестерен — выполнена в колесе и состоит из ведущей вала-шестерни и зубчатого венца, прикрепленного к ступице. Ось колеса заварена во фланце и неподвижно соединена с крышкой редуктора болтами. Ступица посажена на ось на подшипниках, осевое перемещение которых регулируется гайкой. В качестве уплотнителя внутреннего зацепления использовано войлочное кольцо. Корпус тормозного устройства закреплен на крышке редуктора винтами и служит для установки на нем тормозных колодок. Шина ведущего колеса массивная.
Колеса ведущего моста оборудованы колодочными тормозами установленные на ведущих валах редукторов и выполняют функции рабочего и стояночного тормозов.
Механизм передвижения погрузчика (рисунок 2.3) состоит из тягового электродвигателя 26 и двухступенчатого цилиндрического редуктора 3. В отверстие вала двигателя входит шлицевый конец ведущего вала-шестерни 4, который вращается на двух шариковых подшипниках 20 и 21. На шейке вала-шестерни установлена манжета 24, уплотняющая редуктор.
Рисунок 2.3 - Механизм передвижения
Промежуточная шестерня 5 установлена на шариковом подшипнике 16 на оси 6, неподвижно закрепленной в крышке 7 редуктора. Ось 6 уплотнена с помощью резиновых колец 15.
Первая ступень редуктора — ведомая цилиндрическая шестерня 8 насажена на шлицевый конец вала-шестерни 9, установленного на двух подшипниках 19. Зазор в зацеплении шестерен в заданных пределах регулируется прокладками 18. На шейке вала-шестерни установлена манжета 23, уплотняющая редуктор.
Вторая ступень редуктора — внутреннее зацепление шестерен — выполнена в колесе и состоит из ведущей вала-шестерни 9 и зубчатого венца 10, прикрепленного к ступице 1. Ось 11 колеса заварена во фланце и неподвижно соединена с крышкой 7 редуктора болтами. Ступица 1 посажена на ось 11 на подшипниках 22, осевое перемещение которых регулируется гайкой 12. В качестве уплотнителя внутреннего зацепления использовано войлочное кольцо 25. Корпус тормозного устройства 2 закреплен на крышке 7 редуктора болтами и служит для установки на нем тормозных колодок. Шина 13 ведущего колеса массивная.
Кинематическая схема механизма передвижения представлена на рисунке 2.4.
Рисунок 2.4 - Кинематическая схема механизма передвижения
2.3. Грузоподъемник
Грузоподъемный механизм предназначен для вертикального перемещения груза. Для удобства взятия и укладки груза, а также для устойчивости груза при его транспортировке грузоподъемник имеет наклон вперед и назад из вертикально положения. Грузоподъемный механизм должен обеспечивать:
-
принудительную остановку вил в крайнем верхнем положении грузоподъемника и в крайних положениях при наклоне вперед и назад грузоподъемника;
-
прочность элементов грузоподъемника при поднятии на максимальную высоту груза массой равной 1,33Q (Q — номинальная грузоподъемность);
-
подъем на высоту не более 0,3-0,5 м груза массой 1,2Q;
-
скорость опускания груза при обрыве трубопровода не более 0,6 м/с при температуре масла 40±10°С;
-
самовольное опускание груза со скоростью не более 10 мм за 10 минут при температуре масла от 25 до 40°С;
-
достаточную видимость водителю при движении и взятии груза.
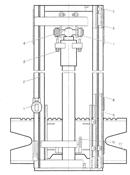
Грузоподъемный механизм включает: вилы, каретку для крепления вил, неподвижную раму (наружную), гидроцилиндр, цепи, балансир с роликами для цепей (рисунок 2.5). Гидроцилиндр через сферический подшипник крепится к нижнему основанию наружной рамы. На штоке гидроцилиндра закреплен балансир с двумя роликами для направления движения цепей. Каретка имеет четыре ролика для перемещения ее по направляющим грузоподъемника и восприятия нагрузок, действующих перпендикулярно плоскости рамы, и четыре ролика для восприятия нагрузок, действующих в плоскости рамы. При подаче масла в полость гидроцилиндра начинает движение шток, который, действуя на балансир через цепи, приводит в движение каретку. Скорость движения каретки вдвое быстрее скорости движения штока.
1- цилиндр наклона; 2-цилиндр подъема; 3-тяга; 4-каток; 5-ролик боковой;
6-ролик; 7-звездочка; 8-внутренняя рама; 9- наружная рама; 10-балансир;
11-каретка
Рисунок 2.5 - Конструкция двухрамного грузоподъемника















