ПЗ-Зенченко (1192152), страница 4
Текст из файла (страница 4)
Максимальная высота подъема вил определяется расстоянием от уровня пола до нижней поверхности вил, поднятых на максимальную высоту при вертикальном грузоподъемнике. Строительная высота грузоподъемника определяется расстоянием от уровня пола до верхней точки вертикально установленного грузоподъемника при полностью опущенных вилах.
Большинство конструкций грузоподъемников обеспечивают подъем вил до транспортного положения (на 300 мм) или на высоту 1200-1300 мм без увеличения строительной высоты грузоподъемника.
В зависимости от количества рам и высоты подъема вил без увеличения строительной высоты грузоподъемника различают следующие типы грузоподъемников:
а) однорамный без свободной высоты подъема вил;
б) двухрамный без свободной и со свободной высотой подъема вил;
в) трехрамный без свободной и со свободной высотой подъема вил.
В проектируемом погрузчике применяем двухрамный грузоподъемник с высотой подъема груза 3 м.
У двухрамного грузоподъемника наружная рама 9 неподвижная, а внутренняя 8 подвижная, цилиндр подъема 2 одностороннего действия и две цепи каретки. Внутренняя рама перемещается по роликам 5 и 6 вдоль наружной.Эксцентриковая ось боковых роликов 5 позволяет регулировать боковые зазоры между роликами и рамами. Натяжение цепей регулируют тяги 3, разницу в натяжении компенсирует балансир 10, закрепленный на оси каретки 11.
Двухрамные грузоподъемники крепят шарнирно на кожухах полуосей ведущего моста. К корпусу электропогрузчика они присоединены цилиндрами наклона.
Каретка, и рамы грузоподъемников перемещаются на катках по направляющим грузоподъемников. В качестве направляющих используют швеллерный, двутавровый и другие профили. Катки могут быть установлены как на наружной раме, так и на внутренней подвижной раме. Сочетание профилей для внутренней и наружной рам должно иметь минимальное поперечное сечение для обеспечения лучшей видимости водителю.
2.4. Гидравлическая система
Гидравличесий привод электропогрузчика обеспечивает подъем подвижных элементов грузоподъемного механизма, поворот и наклон грузоподъемника, работу усилителя рулевого управления. Гидравлическая схема электропогрузчика представлена на рисунке 2.6.
Рисунок 2.6 - Гидравлическая схема электропогрузчика
Основные узлы гидропривода (см. рисунок 2.6): бак масляный, шестеренный насос Н1, гидрораспределитель P1, фильтр Ф1, дроссели, клапаны предохранительные КП1, цилиндры Ц1, Ц2, Ц3, трубопроводы, рукава высокого давления. Наибольшее давление рабочей жидкости в гидросистеме 18 МПа. Рабочие жидкости в гидросистеме - масло Дп-11 (в интервале температур окружающей среды от +10 до +400 С), Всесоюзное масло гидравлическое (ВМГЗ) (от -100 до +400 С), допускается масло веретенное АУ (до -300 С).
Гидропривод работает следующим образом. При переключении любого из 2-х распределителей в рабочее положение, соответствующее указаниям, приведенным в табличке на капоте корпуса погрузчика, срабатывает микровыключатель и включается электродвигатель насоса Н1. Масло из бака нагнетается через распределитель в соответствующую полость одного из цилиндров. Одновременно рабочая жидкость из другой полости цилиндров возвращается в масляный бак Б1.
При снятии усилия с джойстика управления распределителем электродвигатель насоса выключается, золотник устанавливается в нейтральное положение, запирая обе полосы цилиндра.
При опускании грузоподъемника электродвигатель не включается. Дроссель постоянного расхода ДР1 в линии подъема каретки обеспечивает одинаковые скорости опускания каретки с грузом и без груза.
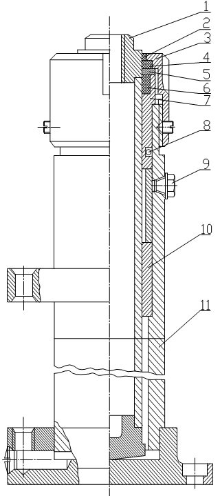
Цилиндр подъема в сборе одностороннего действия плунжерного типа (рисунок 2.7) состоит из собственно цилиндра 11, плунжера 1 и направляющей — корпуса уплотнения 7 и втулки 10. Плунжер уплотнен шевронными манжетами 6. Для выпуска воздуха из гидросистемы в цилиндре предусмотрено отверстие, закрываемое пробкой 9. От попадания грязи он защищен грязесъемником 2. Рабочая жидкость подводится к цилиндру через отверстие, расположенное в его дне. В собранном грузоподъемнике цилиндр подъема нижним фланцем опирается на шаровую пяту, обеспечивающую его самоустановку в нужное положение при работе погрузчика.
1 - плунжер; 2 - грязесъемник; 3 - гайка; 4 - кольцо; 5 - кольцо нажимное;
6 - манжета; 7 - корпус уплотнения; 8 - кольцо уплотнительное; 9 - пробка;
10 -втулка; 11- цилиндр
Рисунок 2.7 - Гидроцилиндр подъема
Цилиндр наклона (рисунок 2.8) поршневого типа двустороннего действия. Корпус 15 его крепится к корпусу электропогрузчика, а головка 1 штока - к кронштейну наружной рамы грузоподъемника посредством шарнирных подшипников 2. Поршень 13 уплотнен У-образными 11, а шток 17 — шевронными резиновыми манжетами 6.
1-головка; 2-подшипник; 3-грязесъемник; 4 - крышка; 5, 6, 7, 11-манжеты;
8, 12, 16-уплотнительные кольца; 9, 15-корпуса; 10-втулка; 13-поршень;
14-корпус уплотнения; 17-шток; 18-гайка
Рисунок 2.8 - Гидроцилиндр наклона
2.5.Электрооборудование погрузчика
Электрооборудование включает в себя элементы, представленные на рисунке 2.9. Аккумуляторная батарея состоит из 34 аккумуляторов, установленных в металлический сварной ящик. Плотная установка аккумуляторов в ящике достигается клиньями и прокладками из листового полиэтилена. В днище имеются желоба для сбора электролита в случае выплескивания его из аккумуляторов. Из желобов электролит можно слить через сливные пробки.
1, 11, 13 - микропереключатели; 2 - звуковой сигнал; 3 - выключатель;
4 - вольтметр; 5 - реверсивный переключатель; 6 -выключатель; 7 - панель управления; 8, 18 - штепсельные соединения; 9 - педаль контроллера;
10 - контроллер; 12, 19- электродвигатели; 14 - панель; 15 - сопротивления;
16 - аккумулятор; 17 - аккумуляторный ящик
Рисунок 2.9 – Электрооборудование погрузчика
Аккумуляторы соединены последовательно при помощи стальных шин. Батарея имеет три вывода: два силовых и один для питания цепи сигнализации. Техническая характеристика аккумуляторной батареи приведена в таблице 2.1.
Таблица 2.1 - Техническая характеристика аккумуляторной батареи
| Тип | Число аккумуляторов | Номинальная емкость, А·ч | Номинальное Напряжение, В |
| 34ТНЖ-350-II | 34 | 350 | 40 |
Для электропогрузчиков грузоподъемностью 1500 кг аккумуляторную батарею заряжают, не снимая с электропогрузчика, на зарядном устройстве типа УЗА1-80-42У2.
Электродвигатели механизма передвижения ЗДТ31 пли ЗДТ32 постоянного тока, четырехполюсные, закрытого исполнения. Крепление фланцевое. Техническая характеристика электродвигателей механизма передвижения приведена в таблице 2.2.
Таблица 2.2 - Техническая характеристика электродвигателей механизма
передвижения
| Тип электродвигателей | ДТ32 |
| Напряжение, В | 40 |
| Мощность, кВт | 1,5 |
| Режим работы, ПВ % | 40 |
| Ток, А | 50 |
| Частота вращения, об/мин | 2750 |
| Масса, кг | 27 |
Электродвигатели гидронасоса ЗДН31 или ЗДН32 постоянного тока, четырехполюсные, закрытого исполнения (таблица 2.3).
Таблица 2.3 - Техническая характеристика электродвигателей гидронасоса
| Показатель | ДН32 |
| Напряжение, В | 40 |
| Мощность, кВт | 2,2 |
| Режим работы, ПВ %. | 25 |
| Ток, А | 75 |
| Частота вращения, об/мин. | 3500 |
| Масса, кг | 25 |
Выключатели путевые 6 контактные мгновенного действия типа ВПК3112 предназначены для коммутации электрических цепей управления под действием рулевого механизма:
- при повороте управляемого колеса на угол 30° двигатели передвижения переключаются с параллельного соединения на последовательное;
- при повороте колеса на угол 50° двигатель колеса, идущего по внутренней кривой, отключается.
Микропереключатели. В электрической схеме погрузчика имеется несколько микропереключателей 11, 13, использующихся для отключения двигателя передвижения при нажатии на тормозную педаль. Номинальное напряжение 24 В, максимальный ток 4,8 А.
Реверсивный переключатель 5 изменяет направление движения электропогрузчика. Он изготовлен на основе переключателя ПКУ-3. У его рукоятки три фиксированных положения: одно — «Выключено» (среднее) и два — «Включено» («Вперед» и «Назад»). Номинальное напряжение 40 В, максимальный ток 2 А.
Вольтметр щитовой ударостойкий установлен на панели приборов управления для контроля за напряжением аккумуляторной батареи.
3. РАСЧЕТ ТЕХНИЧЕСКИХ ПАРАМЕТРОВ ПОГРУЗЧИКА
3.1. Расчет производительности погрузчика
Техническая производительность машин, используемых при переработке тарно-штучных грузов, находится по формуле:
где
- грузоподъемность машины, т;
-продолжительность времени цикла, с.
Для погрузчика время цикла:
где
- время, затрачиваемое погрузчиком на продольные и поперечные передвижения по складу с грузом и без груза, с;
- время, затрачиваемое на подъем каретки погрузчика с грузом и без груза, с;
-время, затрачиваемое на опускание каретки с грузом и без груза, с;
-время, затрачиваемое на повороты погрузчика,
c;
-время, затрачиваемое на вспомогательные операции,
c.















