ПЗ-Зенченко (1192152), страница 6
Текст из файла (страница 6)
1) Н=300 мм без груза
2) Н=300 мм с грузом
3) Н=3000 мм с грузом
3.3.3 Расчет продольной устойчивости
Продольная устойчивость погрузчика должна удовлетворять следующим условиям:
1) Устойчивость при штабелировании – груз на максимальной высоте, грузоподъемник перпендикулярен платформе, которая наклонена на угол φ=2о16/ (4%).
Условие устойчивости:
Удерживающий момент:
где G1-вес всех узлов первой группы, кг.
Опрокидывающий момент:
где G2-вес всех узлов второй группы, кг.
.Коэффициент запаса устойчивости:
Условие устойчивости выполняется.
2) Устойчивость при движении с грузом – груз на высоте 300 мм, грузоподъемник наклонен назад, платформа наклонена на угол φ=10о13/ (18%)
Удерживающий момент:
Опрокидывающий момент:
Коэффициент запаса устойчивости:
3) Допустимое ускорение при передвижении.
где x и z – координаты центра тяжести погрузчика с грузом в транспортном положении
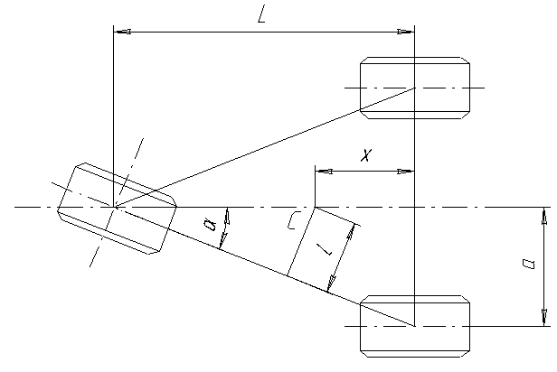
3.3.4 Расчет поперечной устойчивости
Поперечная устойчивость погрузчика должна удовлетворять следующим условиям:
1) Устойчивость при штабелировании – груз на максимальной высоте, грузоподъемник наклонен назад, платформа наклонена на угол φ=3о26/ (6%).
Находим координаты центра тяжести погрузчика для рассматриваемого положения
Рисунок 3.2 - Расчетная схема для определения боковой устойчивости погрузчика
Рисунок 3.3 -Расчетная схема для определения угла опрокидывания погрузчика на платформе
Найдем угол опрокидывания погрузчика на платформе
2) Устойчивость при движении – грузоподъемник без груза наклонен назад, вилы подняты на 300 мм, платформа наклонена на
Находим координаты центра тяжести для одного положения:
Найдем угол опрокидывания погрузчика на платформе
3) Критическая скорость центра тяжести погрузчика без груза на повороте
3.4. Тяговый расчет электропогрузчика
Тяговые качества являются важной характеристикой электропогрузчика. Они показывают, какую силу тяги можно развить на ведущих колесах машины при движении на дорогах с различным покрытием, при меняющейся весовой нагрузке, различных скоростях движения и величинах преодолеваемых уклонов. Чем больше сила тяги машины, тем выше ее проходимость. Поэтому для обеспечения требуемой эксплуатационной характеристики электропогрузчика при его проектировании необходим тяговый расчет, при котором производится подбор мощности двигателя, определения момента на валу ведущих колес и расчет потребного тягового усилия.
Грамотное использование тяговых способностей погрузчиков позволяет повысить производительность последних и определить рациональные сферы их эксплуатации в различных условиях.
Для определения тяговых качеств проектируемого электропогрузчика, помимо предусмотренных техническим заданием веса машины с грузом и без груза, величины преодолеваемого уклона и скорости передвижения, должны быть известны характеристики выбранного двигателя.
3.4.1. Расчет тягового усилия
Потребное тяговое усилие при разгоне погрузчика при движении на подъем с углом наклона пути α составит:
Где G-вес погрузчика, G=2385 кг;
Q-вес груза, Q=1500 кг;
- коэффициент сопротивления движения,
=0,016;
α- угол наклона пути, α =10о;
-ускорение погрузчика,
=0,3 м/с2.
3.4.2. Расчет момента на валу ведущих колес
Момент на валу ведущих колес диаметром Dk.
где Dk-диаметр ведущих колес, Dk=0,32 м.
3.4.3. Определение мощности двигателя передвижения
Мощность двигателя для передвижения погрузчика определяется по формуле:
где V - скорость передвижения погрузчика, V=2,8 м/с;
η- к.п.д. привода, η=0,98.
На погрузчике установлены два двигателя с мощностью N1=N2=1,5кВт. Суммарная мощность двух двигателей N1+N2=3кВт эта мощность больше расчетной значит, её будет достаточно для передвижения электропогрузчика.
4. ТЕХНОЛОГИЯ ИЗГОТОВЛЕНИЯ ОСИ ПРИВОДНОГО КОЛЕСА
4.1. Анализ технологических требований к конструкции детали
Ось редуктора приводного колеса 5-ти ступенчатая, длиной 170 мм. Ось запрессовывается в редуктор и заваривается, на ось надевают приводное колесо. Компоновочная схема оси изображена на рисунке 4.1.
1 - ступень оси под резьбу; 2 - ступень оси под подшипник; 3 - нерабочая ступень; 4 - ступень под подшипник; 5 - ступень под запрессовку в редуктор;
I - круглая шлицевая гайка; II - прокладка; III - роликовый подшипник;
IV - корпус редуктора
Рисунок 4.1 - Компоновочная схема оси приводного колеса
Первая ступень длинной 18 мм и диаметром Ø36 мм имеет резьбу М36 с шагом витка 1,5 мм для навинчивания круглой шлицевой гайки, для удержания подшипника. Согласно [6, c. 123] выбираем поле допуска 6g (предельные отклонения наружного диаметра резьбы для 6g составляют
[6, c. 124], что соответствует квалитету вала 12. Также на данной ступени имеется канавка под резьбу, фаска 1,6х45º.
Ось имеет две опоры в виде конических роликовых подшипников, которые располагаются на 2 и 4 ступенях. Длины 2 и 4 ступени равны 22 мм, а их диаметры Ø40 мм. Эти поверхности обрабатываются с допуском k6 и шероховатостью Ra=0,8 мкм. Имеются фаски для запрессовки подшипника 2х45º.
Третья ступень длиной 52 мм и диаметром Ø36 мм, не рабочая. Специально не обрабатывается.
Пятая ступень длиной 56 мм и диаметром Ø48 мм служит для упора подшипника и для запрессовки в редуктор. Эта поверхность обрабатывается с допуском n6 и шероховатостью Ra=0,8. Имеет фаску 2х45º.
Материал заготовки сталь 40Х ГОСТ 1050-88. Твердость HB 260…285, термообработка - улучшение.
В качестве конструкционной базы выбираем поверхности 2 и 4, так как эти поверхности детали соприкасается с подшипником и определяет своё положение в сборочной единице.
4.2. Выбор вида обработки конструктивных элементов
Деталь ступенчатая ось, ℓ= 164 мм, max
- посадочные места под подшипники качения из требований к шероховатости
и получения точности размера по квалитету 6, применяется шлифование чистовое;
Торцы вала подрезаются «начисто», а обработка нерабочих поверхностей вала – обтачивание черновое.
Таким образом назначаем:
Под резьбу M36x1,5-6g
, Rz 20 финишная обработка - получистовое точение.
, Ra 0,8 финишная обработка - чистовое круглое шлифование.
, Rz 80 финишной обработки - черновое точение
, Ra 0,8 финишная обработка – чистовое круглое шлифование.
Выточить канавки под шлифовальный круг и резьбу с помощью канавочного резца, резьбу нарезать резьбовым резцом.
4.3. Выбор вида и размеров заготовки для детали
В качестве заготовки для условия единичного производства наиболее рациональным является сортовой прокат круглого сечения обычной степени точности. Для максимального диаметра равного 48 мм, диаметр заготовки составляет 52 мм. Из сортамента выпускаемого круглого проката выбираем в качестве заготовки сталь горячекатаную круглую (ГОСТ 2590-71) обычной точности прокатки (В)
.
Длина заготовки:
где lд – длина детали. lд=170 мм;
z – припуск на торцевую обработку детали.
Согласно [5, стр. 586, табл.6] принимаем z = 2 мм.
4.4. Составление маршрута изготовления детали
005 Заготовительная
Отрезать от прутка приводной ножовкой штучную заготовку длиной 168 мм:
010 Термическая
Заготовку (сталь 40Х) подвергнуть термообработке – улучшению до HB 260…285.
015 Токарная
Для формирования профиля вала применяем токарный станок 16К20.
Последовательно торцевать и сверлить центровые отверстия. За несколько установов выполнить токарную обработку заготовки, точить фаски, канавки на участках 1 и 4. Центровка производится свёрлами центровочными комбинированными диаметром 4 мм из быстрорежущей стали Р18.
При токарной обработке применяем проходные и отрезные резцы.
020 Шлифовальная
За несколько установов выполнить обработку шеек оси диаметром Ø40мм и Ø48мм с шероховатостью указанной на чертеже.
015 Токарная.
Нарезание резьбы.
045 Контрольная
Произвести контроль размеров по чертежу.
Выполним расчет числа стадий обработки по каждому конструкторскому элементу. Результаты сведены в таблице 4.1.
Таблица 4.1 - Расчет числа стадий обработки
| № ступени | Заготовка | Допуск заготовки | Допуск детали | Квалитет заготовки | Квалитет детали | Коэффициент ужесточения точности | Расчётное значение количества переходов | Принятое значение количества переходов |
| - | - | КВз | КВд | nр | nпр | |||
| 1,4 | 0,236 | 16 | 12 | 5,9 | 1,7 | 2 | ||
| 0,62 | 14 | 87,5 | 4,2 | 4 | ||||
| 0,62 | 9 | 2,3 | 0,79 | 1 | ||||
| 0,016 | 6 | 87,5 | 4,2 | 4 | ||||
| 0,016 | 6 | 87,5 | 4,2 | 4 |
4.5. Расчёт промежуточных размеров заготовки
Промежуточные размеры находим по формуле:















