ПЗ-Зенченко (1192152), страница 2
Текст из файла (страница 2)
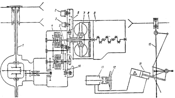
Рисунок 1.6 – Кинематическая схема автопогрузчика
Рисунок 1.7 – Кинематическая схема малогабаритных автопогрузчиков с гидромеханической трансмиссией
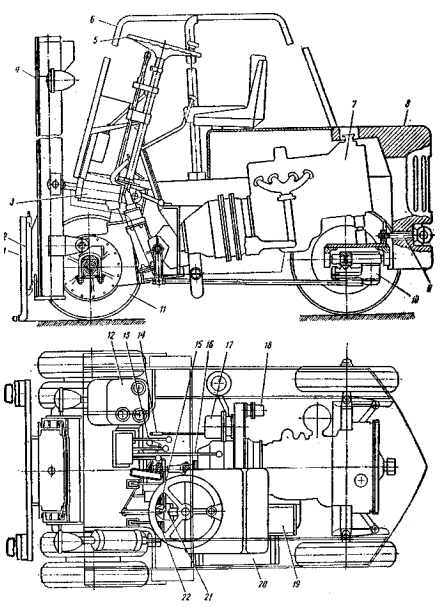
1 - грузовые вилы; 2 — подъемная каретка; 3 - цилиндры наклона грузоподъемника; 4 - грузоподъемник; 5 — рулевое колесо; 6 — навес; 7 — двигатель; 8 — противовес; 9 - буксирное устройство; 10 — задняя подвеска;
11 — передний мост; 12 — масляный бак; 13,14, 16, 21 — рычаги управления гидрораспределителем, стояночным тормозом, коробкой передач и механизмом обратного хода; 15, 22 — педали сцепления и тормоза;
17, 18 - насосы; 19 — аккумуляторная батарея; 20 — топливный бак
Рисунок 1.8 – Фронтальный автопогрузчик грузоподъемностью 1 т
При эксплуатации автопогрузчиков применяют сменное оборудование.
Ковши на автопогрузчиках бывают обычные и двухчелюстные. Их применяют для зачерпывания сравнительно легких насыпных грузов: гранулированного шлака, сухих песка и перелопаченного грунта, а главным образом, каменного угля при обслуживании котельных. Форма обычных ковшей для автопогрузчиков довольно многообразна. Учитывая, что работа ковшей у автопогрузчиков примерно такая же, как у одноковшовых погрузчиков, целесообразно воспользоваться для них формой ковшей, хорошо отработанной у последних.
Двухчелюстные ковши изготовляют только для автопогрузчиков грузоподъемностью 3,2 и 5 т соответственно с ковшами грузоподъемностью 2300 и 3500 кг и объемом 1,4 и 1,8 м3.
Стрелу укосину применяют вместо вил на автопогрузчиках для погрузочно-разгрузочных работ с разными штучными грузами фасонной конфигурации, которые трудно перегружать с помощью грузовых вил. Кроме того, ее применяют при ремонтных работах и монтаже разного оборудования.
Клещевой захват применяют на автопогрузчиках грузоподъемностью 3,2 и 5 т для погрузочно-разгрузочных работ и штабелирования лесных материалов – дров и пакетов досок.
Универсальный захват для цилиндрических грузов применяют для транспортирования и штабелирования автопогрузчиков цилиндрических по форме грузов: рулонов бумаги, бочек, машинного оборудования в виде барабанов и т.п. С его помощью изделие защемляются между лапами и может кантоваться в вертикальной плоскости для штабелирования груза вертикально или горизонтально.
Поворотная каретка в вертикальной плоскости или кантователь предназначена для транспортирования металлической стружки, скрапа, битого стекла и других отходов производства, собранных в металлические короба и ящики. Иногда ее применяют также для перевозки жидких грузов с опрокидыванием тары в нужном месте. В этом случае к дну емкостей прикрепляют скобы, в которые входят грузовые вилы.
Штыревой захват предназначен для транспортирования и складирования кольцеобразных по форме грузов. Стержень штыре выполняют из трубы, которую приваривают к плите и устанавливают на подъемной каретке.
Многоштыревой захват предназначен для захвата и транспортирования в горизонтальном положении бочек, рулонов мешков и т.п. Такой же примерно конструкции применяют многоштыревой захват для группового транспортирования и укладки в штабель коротки трубчатых изделий: керамических, бетонных и асбоцементных труб и т.п. В отверстия их просовывают штыри.
Специализированные захваты для бочек применяют для транспортирования и штабелирования их в горизонтальном или вертикальном положениях. Бочки защемляют между лапами захвата и, если нужно, кантуют в вертикальной плоскости на угол более 90
1.3 Одноковшовые погрузчики
Одноковшовыми погрузчиками называют самоходные подъемно-транспортные машины, у которых основным рабочим органом служит ковш, установленный на конце подъемной стрелы. Зачерпывают насыпной груз ковшом, опущенным вниз, при движении погрузчика вперед в сторону штабеля. Разгружают погрузчик после перемещения его к загружаемому транспортному средству и подъема ковша вверх.
Одноковшовые погрузчики в основном предназначены для погрузки на транспортные средства (автомобили-самосвалы и полувагоны) сыпучих и кусковых грузов и прежде всего заполнителей (песка, гравия, щебня), а также грунта, строительного мусора, каменного угля, кокса и др.
При установке специальных ковшей (на погрузчиках грузоподъемностью свыше 1,5 т) их также применяют для перегрузки скальных пород, разработки и погрузки гравийно-песчаных материалов в карьерах, а при больших грузоподъемностях — и материковых грунтов I—II категории.
Когда вместо ковша устанавливают разное сменное оборудование, погрузчики выполняют ряд вспомогательных работ: монтажных, зачистных, планировочных, снегоуборочных и др.
Одноковшовые погрузчики можно классифицировать по следующим основным признакам.
По грузоподъемности погрузчики разделяют на четыре класса: легкие (грузоподъемностью 0,5—2 т), средние (2—4 т), тяжелые (4—10 т) и большегрузные (свыше 10 т). Небольшие погрузчики (грузоподъемностью до 0,5 т) относят иногда к малогабаритным. По виду базового шасси погрузчики изготовляют на специальном шасси или тракторах и тягачах. По виду ходового оборудования они бывают на колесном или гусеничном ходах. По направлению разгрузчики ковша относительно стороны разрабатываемого штабеля погрузчики бывают с передней (фронтальные погрузчики), боковой (полуповоротные погрузчики) и задней (перекидные) разгрузчики.
По виду применяемого оборудования погрузчики разделяют на универсальные и специализированные; в первом случае кроме ковша применяют сменное оборудование других видов; во втором случае вместо ковша применяют оборудование определенного вида.
Погрузчики, предназначенные для перегрузки ковшом строительных насыпных грузов, относят к строительным.
Одноковшовые погрузчики являются машинами периодического действия; наполнение ковша насыпным грузом, перемещение погрузчика с грузом и без груза, а также разгрузку ковша выполняют раздельно.
В мировой практике наиболее распространены фронтальные погрузчики на специальном шасси. Они отличаются наибольшей простотой конструкции, универсальностью применения сменного оборудования, унификацией конструктивного исполнения независимо от типоразмера машины, уменьшенной трудоемкостью изготовления и др. К недостаткам их относится обязательный поворот погрузчика с ковшом для загрузки транспортного средства.
Основным погрузочным оборудованием погрузчика является ковш. У погрузчиков грузоподъемностью свыше 1—1,5 т применяют три одинаковых по форме, но разных по объему ковша для зачерпывания насыпных грузов: легких (с объемной массой до 1,4 т/м3), средних (1,5—1,8 т/м2) и тяжелых (1,9—2,5 т/м3). Основным является ковш для зачерпывания средних по плотности насыпных грузов.
На рисунке 1.9 представлена конструкция фронтального ковшового автопогрузчика с жесткой рамой.
На рисунке 1.10 представлена кинематическая схема фронтального погрузчика с жесткой рамой.
Рисунок 1.9 – Фронтальный погрузчик с жесткой рамой
1 — двигатель; 2 — редуктор; 3 — гидротрансформатор; 4 — коробка передач; 5—фрикционные дисковые муфты; 6 — шлицевая муфта; 7, 9 — мосты передний и задний (управляемый); 8 — раздаточная коробка
Рисунок 1.10 – Кинематическая схема фронтального погрузчика
с жесткой рамой
Для того чтобы расширить область применения погрузчиков в зависимости от их типоразмера и вида ходового оборудования, взамен основных ковшей применяют сменное оборудование. По назначению его можно разделить на четыре основные группы: землеройно-погрузочиое, грузоподъемное, снегоуборочные и вспомогательное. Погрузчики с таким оборудованием не заменяют специализированные машины, а позволяют механизировать различные работы, когда при малых объемах их применение специализированных машин сложно и нерентабельно.
1.4 Многоковшовые погрузчики
Многоковшовые погрузчики предназначены для зачерпывания насыпного груза ковшовым элеватором, установленным спереди самоходного шасси.
На рисунке 1.11 представлена конструкция фронтального ковшового автопогрузчика с жесткой рамой.
На рисунке 1.12 представлена кинематическая схема самоходного шасси многоковшового погрузчика.
1 — ленточный транспортер; 2 — ковшовый элеватор; 3 — опорная стойка для элеватора; 4 — кабина; 5 — гидроцилиндры для подъема элеватора;
6, 7 — ведущие мосты; 8 — шасси; 9 — цилиндры для подъема транспортера; 10 — канаты для подвески транспортера; 11 - уравнительный блок; 12 - масляный бак; 13 — винтовые питатели; 14 — топливный бак
Рисунок 1.11 – Многоковшовый погрузчик
Рисунок 1.12 – Кинематическая схема самоходного шасси
многоковшового погрузчика
Многоковшовые погрузчики применяют на базисных складах для перегрузки в основном песка, гравия, щебня, каменного угля и других грузов из штабеля в транспортные средства, а также на ленточные транспортеры на заводах железобетонных изделий. Кроме того, их используют для штабелирования насыпного груза из куч, отсыпаемых автомобилями-самосвалами; разгрузки железнодорожных платформ с насыпным грузом, когда погрузчик передвигается по верху платформы (с установкой специальных переходных мостиков между соседними платформами); в дорожном строительстве, когда погрузчик тянет за собой асфальтобетонный смеситель, загружая его песком и щебнем, подбираемыми ковшами с дороги; для погрузки снега из валов на автомобили-самосвалы.
По условиям более легкого зачерпывания и обеспечения необходимой прочности ковшового элеватора они более приспособлены для перегрузки зернистых и мелкокусковых грузов с включениями отдельных кусков размером не более 70 мм.
В последнее время многоковшовые погрузчики на небольших складах стали вытесняться одноковшовыми как более дешевыми и мобильными, но на базисных складах они с успехом заменяют одноковшовые экскаваторы.
1.5 Погрузчики с нагребающими лапами
Погрузчики с нагребающими лапами являются самоходными машинами, которые работают способом бокового захвата насыпного груза. В качестве рабочего захватного органа они оборудованы парой нагребающих лап, совершающих сложное вращательное движение около своих вертикальных осей, расположенных на конце клиновидной приемной рамы, называемой лопатой. При движении погрузчика вперед конец лопаты врезается в насыпной груз, лапы нагребают его на лопату и перемещают вверх на скребковый транспортер для загрузки в транспортные средства.
Пожалуй, ни в какой другой машине кроме одноковшового экскаватора не повторена так хорошо кинематика движений рук человека, как в погрузчиках с нагребающими лапами.
Поскольку работа погрузчиков с нагребающими лапами связана с большим износом трущихся поверхностей у рабочих органов из-за больших сил трения при перемещении груза способом волочения, то эти погрузчики предпочтительнее применять для перегрузки малоабразивных грузов, например, снега.
При очень малой рабочей высоте их применяют также в горном деле для погрузки каменного угля под землей, а также на земле для погрузки угля, кокса, а иногда щебня из штабелей и при подборе их с железнодорожных путей после разгрузки полувагонов прямо на пути.
На рисунке 1.13 представлена конструкция снегопогрузчика Д-566.
На рисунке 1.14 представлена кинематическая схемы привода оборудования снегопогрузчика Д-566.
1 — скребковый транспортер; 2, 5 — гидроцилиндры; 3 —желоб транспортера; 4- стойки; 5 — полозки; 7 — лопата; 8 — нож лопаты;
9 - трансмиссия привода нагребающих лап и транспортера;
10, 13 — передний и задний ведущие мосты; 11 - коробка передач;















