ПЗ-Зенченко (1192152), страница 9
Текст из файла (страница 9)
Параметры средств доступа, мм:
высота расположения нижней ступени относительно опорной поверхности колес машин (пола) — не более 450;
ширина ступени — не менее 130;
глубина ступени — не менее 100;
высота ступени — не менее 80;
интервал между ступенями — 200—300;
длина охватываемой части поручня или ручки — не менее 120;
диаметр поручня или ручки — 15—20;
расстояние от поверхности захвата поручня или ручки до любого элемента конструкции машины — не менее 50.
5.2.2 Требования к сидению водителя
Параметры сиденья и его элементов должны быть увязаны с положением точки отсчета, сиденья (ТОС).
Требования к обивочному материалу сиденья — по ГОСТ 23367.
Конструкция сиденья должна обеспечивать регулирование его положения в горизонтальном (продольном) направлении относительно среднего положения не менее чем на 50 мм в каждую сторону.
Конструктивные элементы машины, расположенные под сиденьем, не должны выступать за передний край подушки сиденья, находящегося в крайнем переднем положении, более чем на 50 мм в верхней части и более чем на 80 мм в нижней части.
Параметры сиденья, находящегося в среднем положении (рисунок 5.1) должны соответствовать значениям:
глубина сиденья l — (400±20) мм;
ширина сиденья (измеренная на расстоянии 150—200 мм от ТОС) b — не менее 430 мм;
высота спинки сиденья h — (400±20) мм;
ширина спинки сиденья (измеренная на расстоянии 150—200 мм от ТОС) b1 — не менее 430 мм;
угол наклона подушки сиденья α— 0—5°;
угол наклона спинки сиденья β— 5—20°;
расстояние от сиденья до наружного контура машины — не менее 50 мм.
β
Рисунок 5.1 - Параметры сиденья находящегося в среднем положении
5.2.3 Требования к рычагам управления
Общие эргономические требования к рычагам управления — по ГОСТ 21753;
Минимальная длина свободной части рычага управления (вместе с рукояткой) в любом его положении должна быть не менее 50 мм — для захвата пальцами и 150 мм — для захвата всей кистью.
Форма и размеры рукояток рычагов должны обеспечивать максимальное удобство их захвата и надежного удержания в процессе управления. При этом предпочитают рукоятки с плавными округлыми формами, близкими к шаровидной и удлиненной — цилиндрической, тщательно обработанной гладкой или рифленой поверхностью без острых углов и заусенцев.
Рукоятки рычагов, используемых в условиях низкой температуры окружающей среды, должны изготовляться из материалов или покрываться материалами, которые обладают низкой теплопроводностью.
Рычаги управления необходимо устанавливать на рабочем месте так чтобы их рукоятки при любом положении рычага находились «пределах зоны досягаемости моторного поля оператора.
Рукоятки рычагов, перемещаемых одной рукой, необходимо размещать на стороне, соответственно действующей правой или левой руки в пределах досягаемости при сгибе ее в локтевом суставе под углом 90-135° и приложении усилия по направлению прямо «на себя — от себя».
Кодирование рукояток рычагов управления, в том числе и рычагов специального назначения (аварийных, противопожарных и др.), а также рычагов, объединенных в функциональные группы, необходимо проводить выбором соответствующей формы, размера и цвета, а также расположением.
Рычаги управления должны иметь хорошо видимые надписи, означающие их назначение, а также указатели положения, направления перемещения и его следствия, помещаемые как непосредственно на рычагах, так и рядом с ними.
Рычаги, применяемые для дискретных (ступенчатых) переключений должны иметь надежную фиксацию промежуточных и конечных положений.
Рычаги управления должны быть установлены так, чтобы при их перемещении исключалась возможность случайного включения (выключения) смежного рычага.
5.2.4 Требования к выключателям и переключателям
Требования выключателям и переключателям типа «Тумблер» — по ГОСТ 22615.
Выключатели и переключатели типа «Тумблер» должны применяться для осуществления операций быстрого включения—выключения и переключения электрических цепей при необходимости зрительного контроля положения переключателей.
Форма и размеры приводного элемента (ПЭ) выключателей и переключателей типа «Тумблер» должны соответствовать антропометрическим данным пальцев человека и обеспечивать максимальное удобство захвата приводного элемента в процессе управления с учетом спецснаряжения.
В выключателях и переключателях типа «Тумблер» при переводе приводного элемента из одной позиции в другую должен ощущаться перепад величины упругого сопротивления и быть слышен характерный щелчок.
Положение приводного элемента выключателей и переключателей типа «Тумблер» «вверх», «вправо», «от себя» должно со ответствовать рабочему состоянию «включено», а положение приводного элемента «влево», «вниз», «к себе» — состоянию «выключено».
Тумблеры, используемые как аварийные, следует защищать специальными крышками или размещать в углублении панели.
Для обозначения функции приводных элементов выключателей типа «Тумблер» следует применять надписи или символы.
Располагают надписи и символы на панели управления, в непосредственной близости от приводных элементов с любой стороны при условии, что сами приводные элементы, а также рука человека—оператора не будут перекрывать обозначения во время манипулирования приводными элементами.
При размещении тумблеров на панели управления в ряд расстояние l между осевыми линиями приводных элементов должно быть не менее 19 мм, при работе в перчатках — не менее 25 мм;
Расстояние между осевыми линиями тумблеров и другими элементами управления лицевой панели должно быть не менее 25 мм.
5.2.5. Требования к индикаторным устройствам
Эргономические, требования к индикаторным устройствам на рабочем месте водителя — по ГОСТ 22902.
Тип отсчетного устройства выбирают исходя из функционального назначения индикатора, требований к точности и скорости считывания, а также внешних условий деятельности оператора.
Лицевая поверхность отсчетного устройства должна быть окрашена в черный (или белый) цвет, исключающий блескость при допустимых углах считывания.
Окраска лицевых сторон шкал и указателей должна удовлетворять следующим требованиям:
при использовании черного цвета коэффициент отражения должен быть не более 0,1 при освещении источником белого света с цветовой температурой 2400 К;
при использовании белого цвета — не менее 0,7 при освещении источником белого света с цветовой температурой 2400 К.
Отсчетные устройства должны быть снабжены индивидуальной подсветкой с плавной или ступенчатой регулировкой яркости. Освещенность отсчетного устройства должна быть выше освещенности фона не менее чем на 10% и не более чем на 300% при контрасте информационного изображения с фоном не менее 0,6.
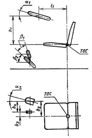
5.2.6 Требования к органам управления
Параметры расположения и размеры органов управления (рисунок 5.2) должны соответствовать значениям:
расстояние от ТОС до центра рулевого колеса, мм:
по горизонтали l1 — 520—625,
по вертикали h1 — 325—450;
угол наклона плоскости рулевого колеса относительно горизонтали α1 — 10—45°;
наружный диаметр рулевого колеса —340—450 мм;
диаметр обода рулевого колеса — 20—40 мм;
осевое смещение рулевого колеса от продольной оси симметрии сиденья водителя — ±40 мм;
ширина свободного пространства вокруг рулевого колеса не менее — 50 мм;
длина хода педалей, мм, не более:
приводимых в действие всей ногой — 200,
приводимых в действие ступней — 150;
ширина площадки педалей не менее — 60 мм;
угол наклона к горизонтали опорных площадок педалей, приводимых в действие всей ногой, β1 — 30—60°;
угол наклона к горизонтали опорных площадок педалей, приводимых в действие стопой, β2, — не более 45°;
угол между продольной осью опорных площадок педалей, приводимых в действие стопой, и продольной осью машины α2 — не более 15°;
расстояние от центров опорных площадок педалей до продольной оси сиденья, мм:
для педалей, приводимых в действие стопой, b2 — 75—300,
для педалей, приводимых в действие всей ногой, b3 —75—200;
расстояние между центрами рядом расположенных педалей, b4— 120—320.
Рисунок 5.2 - Параметры расположения и размеры органов управления
Расстояние от элементов конструкции, расположенных под сиденьем, до кожуха рулевого управления на уровне пола должно быть не менее 300 мм.
5.2.7 Требования к обзорности с рабочего места водителя
Конструкция машин должна обеспечивать обзорность с рабочего места водителя при движении и выполнении погрузочно-разгрузочных операций.
Обзорность электропогрузчиков и электроштабелеров оценивают визуально с помощью испытательной установки (рисунок 5.3), которая состоит из вертикальной и горизонтальной таблиц (экранов).
1—вертикальная таблица; 2—горизонтальная таблица
Рисунок 5.3 - Вид и основные размеры таблиц
Горизонтальная таблица (таблица пола) предназначена для определения «близкой» обзорности (отъезда и подъезда машины, аварийного торможения).
Вертикальная таблица предназначена для определения обзорности при передвижении машины, маневрировании и перемещении груза.
Каждая таблица представляет собой светлую плоскость, разграфленную на квадраты 500X500 мм. В центре каждого квадрата нанесен буквенно-цифровой знак.
На полу, по центральной линии таблиц, проводится ось АА.
Под прямым углом к оси АА на расстоянии 500 мм от горизонтальной таблицы— ось ВВ.
При оценке обзорности водитель может перемещаться в пространстве, ограниченном прозрачным цилиндром. Цилиндр необходимо отрегулировать по высоте, чтобы голова водителя
Испытание на обзорность должно проводиться на горизонтальной площадке (на полу) с наклоненным назад грузоподъемником, вилами, поднятыми на высоту 300 мм над испытательной площадкой, и симметрично расположенными на плите. Сиденье и органы управления должны быть установлены в среднее регулируемое положение.
Обзорность определяют в четырех положениях машины.
В
одитель должен занять на машине рабочее положение и, перемещая голову в пространстве, ограниченном цилиндром (рисунок 5.4) рассматривать буквенно-цифровые знаки от А1 до П8.
1 - прозрачный цилиндр; 2 - центр цилиндра
Рисунок 5.4 - Размеры и положение цилиндра
Буквенно-цифровые знаки на шкалах, которые не видны или видны не полностью, должны быть перечеркнуты на соответствующей таблице протокола крестом.
5.3. Нормы освещённости
Устройство освещения складов должно обеспечивать нормы освещенности и показатели качества освещения, бесперебойность действия освещения, удобство обслуживания и управления. Различают два вида освещения: естественное и искусственное. Естественное освещение осуществляется через специальные проемы и фонари в наружных стенах, искусственное создается с помощью осветительных приборов. Отсутствие или недостаток естественного освещения в складских помещениях связано со строительством многопролетных одноэтажных зданий большой ширины и безоконных и бесфонарных сооружений. Как правило, в складских помещениях планируется смешанное освещение, при котором недостаточное по нормам естественное освещение дополняется искусственным. В бесфонарных и безоконных зданиях используется только искусственное освещение.
Согласно СНиП 23.05-95 склады оборудуют рабочим, аварийным и охранным освещением, причем устройство дежурного освещения в складских помещениях не допускается. Электроосвещение складов выполняют в соответствии с требованиями ПУЭ – Правилами устройства электроустановок, СНиП 23.05-95 «Естественное и искусственное освещение», ГОСТ 50571.8–94 «Электроустановки зданий. Требования по обеспечению безопасности», НПБ 249-97 «Светильники. Требования пожарной безопасности. Методы испытаний».















