ЭПУ_4 (1088705)
Текст из файла
16
Лабораторная работа № 4
ИССЛЕДОВАНИЕ СТАБИЛИЗАТОРА
ПОСТОЯННОГО НАПРЯЖЕНИЯ
Цели работы:
1. Исследование схем стабилизаторов постоянного напряжения с непрерывным регулированием.
2. Исследование основных характеристик стабилизатора: коэффициента стабилизации и выходного сопротивления – в зависимости от коэффициента усиления в цепи обратной связи. Исследование температурной нестабильности выходного напряжения стабилизатора.
3. Изучение схем защиты стабилизатора от перегрузки по току.
4. Приобретение навыков экспериментального определения параметров стабилизатора.
Краткие теоретические сведения
Стабилизатором называется устройство, включаемое между питающей сетью и нагрузкой и обеспечивающее автоматическое поддержание с определенной точностью напряжения на нагрузке Uн (стабилизатор напряжения) или тока в нагрузке Iн (стабилизатор тока) при воздействии различных дестабилизирующих факторов.
Основными параметрами стабилизатора напряжения являются:
частный коэффициент стабилизации по входному напряжению (часто называемый коэффициентом стабилизации), определяемый как отношение относительной нестабильности входного напряжения (Uвх) к относительной нестабильности напряжения на нагрузке при постоянном сопротивлении нагрузки (Rн) и отсутствии других дестабилизирующих факторов
KU = (Uвх /Uвх)/(Uн/Uн); (1)
выходное сопротивление Rвых, определяющее наклон внешней характеристики стабилизатора:
Rвых = Uн/Iн (Rн = var); (2)
коэффициент полезного действия = Pн/Pвх, где Pн = UнIн мощность, поступающая из стабилизатора в нагрузку, Pвх = Uвх Iвх мощность на входе стабилизатора.
По принципу построения схем стабилизаторы делятся на два больших класса параметрические и компенсационные. Отличие компенсационных в том, что в них есть цепь обратной связи.
В
самом общем виде любой стабилизатор напряжения (как параметрический, так и компенсационный) может рассматриваться как делитель напряжения, составленный из сопротивления нагрузки и сопротивления, входящего в состав стабилизатора и включенного последовательно с ней (рис. 1). Стабилизатор в этом смысле представляет собой некое балластное сопротивление Rб, включенное между входными и выходными зажимами. В качестве такого сопротивления может выступать резистор, транзистор (или другой электронный прибор), катушка индуктивности (в стабилизаторах, работающих в цепи переменного тока). В некоторых схемах стабилизаторов параллельно выходным зажимам могут включаться другие устройства (транзисторы, стабилитроны), но элемент Rб присутствует всегда.
При подобном рассмотрении напряжение на нагрузке определяется как разность входного напряжения и падения напряжения на Rб:
Uн = Uвх Iвх Rб. (3)
Чтобы выходное напряжение оставалось примерно постоянным (в пределах, определяемых стабилизирующими свойствами), необходимо, чтобы при изменении Uвх соответствующим образом изменялось падение напряжения на сопротивлении Rб. И наоборот, при изменении сопротивления нагрузки (тока в цепи нагрузки) падение напряжения на Rб должно оставаться примерно постоянным. Очевидно, что такое положение можно обеспечить всего лишь двумя способами (см. выражение (3)): изменяя либо само сопротивление Rб, либо ток, проходящий через него.
Первым способом строятся компенсационные стабилизаторы с после-довательным (относительно нагрузки) включением регулирующего элемента, сопротивление которого изменяется соответствующим образом при изменении выходного напряжения. Вторым способом компенсационные стабилизаторы с параллельным (по отношению к нагрузке) включением регулирующего элемента и стабилизаторы параметрические, в которых параллельно нагрузке включается нелинейный двухполюсник. В этом случае ток регулирующего элемента или нелинейного двухполюсника (в параметрическом стабилизаторе) должен сильно изменяться с изменением выходного напряжения. Замыкаясь через сопротивление Rб, этот ток и создает дополнительное падение напряжения в случае изменения входного напряжения. При изменении сопротивления нагрузки ток этого элемента компенсирует изменение тока в цепи нагрузки, обеспечивая тем самым малое изменение тока, текущего через сопротивление Rб.
П
одобное представление работы стабилизатора наглядно демонстрирует и основной недостаток стабилизаторов с непрерывным регулированием. Выходное напряжение здесь не может быть больше входного при самом минимальном его значении, т. е. эффект стабилизации достигается за счет того, что весь излишек входного напряжения выше минимального падает на балластном элементе Rб. Учитывая, что по Rб протекает весь входной ток стабилизатора, мощность, которая в нем рассеивается, будет большой. Поэтому коэффициент полезного действия стабилизаторов с непрерывным регулированием невысок, и тем ниже, чем в больших пределах возможно изменение входного напряжения. Изменение сопротивления нагрузки в схеме с последовательным включением регулирующего элемента на коэффициент полезного действия не влияет. Напротив, в стабилизаторах с параллельным включением регулирующего элемента и в параметрических стабилизаторах коэффициент полезного действия уменьшается при снижении нагрузки (в энергетическом смысле), достигая нуля на холостом ходу.
Функциональная схема компенсационного стабилизатора напряжения с последовательным включением регулирующего элемента приведена на рис. 2. В состав стабилизатора входят: РЭ регулирующий элемент, реализующий функции сопротивления Rб, УПТ усилитель постоянного тока, СС схема сравнения, ИЭН источник эталонного напряжения (Eэт). Выходное напряжение стабилизатора поступает на схему сравнения (как правило, через делитель напряжения с коэффициентом передачи ), где в результате сравнения с эталонным напряжением вырабатывается сигнал ошибки = Eэт – Uн, который усиливается в УПТ и воздействует на регулирующий элемент таким образом, чтобы свести к минимуму отклонение выходного напряжения (вне зависимости от причины, вызвавшей это изменение).
Изменение входного напряжения на величину Uвх при таком представлении схемы стабилизатора распределится между регулирующим элементом UР.Э и нагрузкой Uн:
Uвх = Uн + UР.Э = (1 + K1K2)Uн. (4)
В этом выражении учтено, что UР.Э = K1K2Uн – изменение падения напряжения на регулирующем элементе, фактически, является выходным напряжением цепи обратной связи и определяется поэтому изменением напряжения на нагрузке и коэффициентами передачи по напряжению делителя в цепи схемы сравнения (), усилителя постоянного тока (K1) и самого регулирующего элемента (K2).
Подставив соотношение (4) в (2), получим выражение для коэффициента стабилизации по входному напряжению:
KU = (1+K1K2)(Uн/Uвх). (5)
В качестве дестабилизирующего фактора может выступать изменение сопротивления нагрузки. В этом случае усилительные свойства регулирующего элемента удобнее характеризовать не коэффициентом усиления K2, а проводимостью передачи, т. е. крутизной передаточной характеристики S2. При таком представлении изменение выходного напряжения Uн приведет к изменению тока регулирующего элемента: IР.Э = UнK1S2 (знак “минус” указывает на то, что обратная связь отрицательная, т. е. при увеличении выходного напряжения ток регулирующего элемента уменьшается). Учитывая, что токи регулирующего элемента и нагрузки при последовательном их включении равны, т. е. IР.Э = Iн, получим, исходя из соотношения (2), выражение для выходного сопротивления стабилизатора:
Rвых = Uн/Iн = 1/K1S2 . (6)
Из выражений (5) и (6) вытекает, что для повышения коэффициента стабилизации и снижения выходного сопротивления необходимо увеличивать коэффициенты усиления УПТ и регулирующего элемента. Вот почему в современных транзисторных стабилизаторах, особенно в интегральном исполнении, в качестве коллекторной нагрузки УПТ часто используется нелинейный транзисторный двухполюсник стабилизатор тока (см. рис. 7), позволяющий получить большое динамическое сопротивление нагрузки Rэкв для приращения коллекторного тока, обеспечивая тем самым высокий коэффициент усиления K1 ≈ SRэкв и ослабление дестабилизирующего влияния напряжения Uвх. Но отсюда не следует делать вывод о возможности достижения очень больших значений KU или низких Rвых только за счет увеличения K1 и K2 (S2), так как при анализе не учитывалось воздействие дестабилизирующих факторов на параметры элементов схемы.
Д
ля учета этих эффектов необходимо рассмотреть стабилизатор как систему автоматического регулирования (рис. 3). При таком представлении входное напряжение стабилизатора Uвх присутствует в неявном виде как источник электропитания регулирующего элемента, а напряжение на выходе Uн формируется как разность напряжений эталонного источника Eэт и обратной связи Uн, усиленная в K1 и K2 раз усилителем постоянного тока и регулирущим элементом, рассматриваемым здесь как усилительный каскад:
Uн = (Eэт Uн)K1K2.
Отсюда получаем выражение для выходного напряжения:
Uн = EэтK1K2/(1 + K1K2).
Для стабилизаторов с достаточно высоким коэффициентом стабилизации справедливо соотношение K1K2 1, с учетом которого последнее выражение приобретает вид
Uн Eэт/. (7)
Отсюда вытекает, что стабилизатор (как система авторегулирования) отслеживает возможное изменение эталонного напряжения. Причем, чем больше произведение K1K2, тем это отслеживание точнее. Именно поэтому при проектировании стабилизаторов с высокими стабилизирующими свойствами необходимо самое пристальное внимание уделять цепям эталонного источника. Никакие усложнения схемы не смогут обеспечить стабильность напряжения на нагрузке при изменении Eэт. Эталонный источник защищают от различных дестабилизирующих факторов, в частности, его не размещают в тепловом поле элементов схемы, на которых выделяется большая мощность, изменяющаяся во времени. К таким элементам в первую очередь относится балластный элемент Rб (регулирующий элемент).
Н
а равных правах с Eэт в соотношение (7) входит коэффициент передачи цепи обратной связи . Поэтому при проектировании этой цепи (как правило, реализуемой в виде резистивного делителя) нужно учитывать все сказанное об источнике эталонного напряжения. Резисторы, составляющие делитель напряжения, выбирают одного типа, с одинаковыми температурными коэффициентами сопротивления.
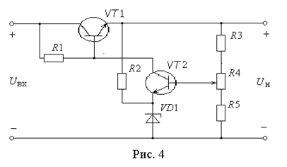
Принципиальная схема одного из вариантов компенсационного стабилизатора, реализующего функциональную схему, изображенную на рис. 2, приведена на рис. 4. В роли регулирующего элемента выступает транзистор VT1; источником эталонного напряжения служит параметрический стабилизатор на стабилитроне VD1 и резисторе R2. Усилитель постоянного тока построен на транзисторе VT2, входная цепь которого выполняет функции схемы сравнения. Эмиттер транзистора подключен к источнику эталонного напряжения, а на его базу через резистивный делитель R3, R4, R5 (с коэффициентом передачи ) поступает сигнал, пропорциональный напряжению на нагрузке.
Сопоставления элементов принципиальной и функциональной схем, в принципе, достаточно для объяснения работы устройства. Но уяснить детали, зачастую очень важные, можно, только анализируя принципиальную схему. Примером такого анализа может служить рассмотрение процесса установления выходного параметра при различных дестабилизирующих воздействиях.
Так, например, при увеличении напряжения на входе стабилизатора и конечном значении коэффициента стабилизации начнет увеличиваться (см. рис. 1 и выражение (3)) напряжение на выходе (на нагрузке), что приведет (делитель R3, R4, R5) к увеличению напряжения на базе транзистора VT2. Учитывая, что потенциал эмиттера транзистора VT2, к которому подключен источник эталонного напряжения Eэт, не изменяется, падение напряжения база эмиттер транзистора VT2 возрастет, что приведет к увеличению коллекторного тока этого транзистора.
Характеристики
Тип файла документ
Документы такого типа открываются такими программами, как Microsoft Office Word на компьютерах Windows, Apple Pages на компьютерах Mac, Open Office - бесплатная альтернатива на различных платформах, в том числе Linux. Наиболее простым и современным решением будут Google документы, так как открываются онлайн без скачивания прямо в браузере на любой платформе. Существуют российские качественные аналоги, например от Яндекса.
Будьте внимательны на мобильных устройствах, так как там используются упрощённый функционал даже в официальном приложении от Microsoft, поэтому для просмотра скачивайте PDF-версию. А если нужно редактировать файл, то используйте оригинальный файл.
Файлы такого типа обычно разбиты на страницы, а текст может быть форматированным (жирный, курсив, выбор шрифта, таблицы и т.п.), а также в него можно добавлять изображения. Формат идеально подходит для рефератов, докладов и РПЗ курсовых проектов, которые необходимо распечатать. Кстати перед печатью также сохраняйте файл в PDF, так как принтер может начудить со шрифтами.















