ЭПУ_2 (1088701)
Текст из файла
10
Лабораторная работа № 2
Исследование однофазных выпрямителей
Цели работы:
1. Исследование процессов в однофазных схемах выпрямления.
2. Исследование влияния сглаживающего фильтра на основные характеристики и параметры выпрямителей.
3. Исследование основных характеристик сглаживающих фильтров.
4. Приобретение навыков экспериментального исследования выпрямителей и сглаживающих фильтров.
Краткие теоретические сведения
П
ринцип действия всех схем выпрямителей основан на использовании существенной нелинейности вольт-амперных характеристик выпрямительных диодов (вентилей). Выпрямительные схемы подразделяются по фазности на однофазные (m = 1) и многофазные (m ≥ 2), а по тактности на однотактные и двухтактные. Фазность схем определяется количеством фазных обмоток трансформатора, связанных с вентилями, а тактность схемы количеством импульсов тока, проходящих по вторичной обмотке трансформатора за период напряжения питающей сети.
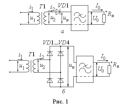
В источниках вторичного электропитания (ИВЭП) для радиоэлектронной аппаратуры наибольшее распространение получила однофазная двухтактная (мостовая) схема выпрямителя (рис. 1, б) как имеющая существенные преимущества перед простейшей однофазной однотактной (рис. 1, а).
Выходное напряжение ИВЭП должно соответствовать ряду основных количественных и качественных показателей. К основным параметрам выпрямителей относятся:
-
U0, I0 постоянные составляющие выпрямленного напряжения uв(ωt) и тока iв(ωt), определяемые как
2π 2π
U0 = (1/2π) ∫ uв(ωt) dωt , I0 = (1/2π) ∫ iв(ωt) dωt ;
0 0
-
kп = (Emп/U0) – коэффициент пульсаций выпрямленного напряжения (тока), представляющий собой отношение максимального значения переменной составляющей Emп (или чаще всего амплитуды ее первой гармоники Еm1) к постоянной составляющей U0;
-
Rвых = –∆U0/∆I0 – выходное сопротивление, которое определяется из внешней (нагрузочной) характеристики, представляющей зависимость постоянной составляющей выпрямленного напряжения U0 от тока нагрузки I0, т. е. U0 = f(I0).
Как потребитель энергии переменного тока выпрямитель характеризуется следующими основными параметрами:
-
P1 и P1a номинальными потребляемыми мощностями (полной и активной), где P1 = U1I1; P1a = U1I1(1) cos φ1 , I1 и U1 действующие значения тока и напряжения во входной цепи выпрямителя, φ1 фазовый угол между входным напряжением U1 и первой гармоникой входного тока I1(1) ;
-
χ = P1a /P1 = (I1(1)/I1)cos φ1 = ν1 cos φ1 полным коэффициентом мощности, где ν1 = I1(1)/I1 коэффициент формы тока первичной обмотки трансформатора;
-
P0 = U0I0 – мощностью постоянного тока в нагрузке;
-
η = P0/(P0 + Pпот) коэффициентом полезного действия выпрямителя с учетом потерь Pпот в элементах выпрямителя, т. е. в диодах Pv , сглаживающем фильтре Pф и в сетевом трансформаторе Pт (Pпот = Pv + Pф + Pт).
По структуре сглаживающие фильтры представляют собой фильтры нижних частот с частотой среза ωф много ниже минимальной частоты пульсаций mωс, отличающиеся дополнительным требованием высоким КПД. Эффективность сглаживающего фильтра оценивается коэффициентом сглаживания пульсаций Sп, определяемым как отношение коэффициентов пульсаций выпрямленного напряжения на входе фильтра и на его выходе (на нагрузке): Sп = kп.вх / kп.вых .
Структура сглаживающего фильтра и его параметры существенно влияют не только на коэффициент сглаживания Sп, но и на характеристики и энергетические параметры выпрямителя в целом. Даже в идеальном выпрямителе без потерь в трансформаторе и вентилях мощность P1, потребляемая выпрямителем от сети, больше P0, что необходимо учитывать при выборе трансформатора.
Г
абаритная (типовая) мощность трансформатора Pгаб определяет его массогабаритные характеристики и связана с расчетными мощностями первичных PI = m1U1I1 и вторичных PII = m2U2I2 обмоток выражением Pгаб = (PI + PII)/2. При этом трансформатор может содержать несколько первичных (m1) и вторичных (m2) обмоток, причем в общем случае m1 ≠ m2 . Расчетные мощности измеряются в вольт-амперах [В·А], а не в ваттах [Вт], так как они определяются суммой произведений действующих значений синусоидальных напряжений U1 и U2 на действующие (эффективные) значения в общем случае несинусоидальных токов I1 и I2 обмоток трансформатора.
Расчетные мощности первичных обмоток PI в однотактных схемах выпрямителей всегда меньше, чем мощности вторичных PII (PI < PII), так как по каждой вторичной обмотке протекает постоянная составляющая тока I0/m2 , не трансформируемая из вторичной обмотки в первичную. В двухтактных схемах без учета потерь они одинаковы (PI = PII).
Основными показателями выпрямительных схем являются соотношения, связывающие действующие значения напряжения и тока вторичной обмотки трансформатора U2 и I2 с заданными значениями постоянных составляющих напряжения U0 и тока I0 в нагрузке, а также максимальные значения прямого тока ImV и обратного напряжения на выпрямительном диоде Uобр m. Эти соотношения не только различны для разных схем выпрямления, но и существенно зависят от характера нагрузки, определяемого типом сглаживающего фильтра.
Временные диаграммы без учета потерь в элементах схемы для однофазной однотактной схемы выпрямления при работе на резистивную нагрузку приведены на рис. 2, а. Основные расчетные соотношения приведены далее:
π
U0 = (1/2π) ∫ E2m sin ωt dωt = E2m / π = 0,45U2 ;
0
/ π
I2 = √ (1/2π) ∫ I22m sin2ωt dωt = Imv / 2 = I0 π/2 ;
0
/ π
I1 = √ (1/2π) ∫ i21 (ωt) dωt = 1,21nI0 ,
0
где n = w2/w1 ≈ U2/U1 ;
P1 = U1I1 ≈ 2,7P0; Pгаб = (P1 + P2)/2 = kгабP0 ≈ 3,1P0;
P2 = U2I2 ≈ 3,5P0; kп = Emп /U0 = 1,57.
В рассматриваемой схеме (рис. 1, а) в сердечнике трансформатора за счет постоянной составляющей тока i2 создается поток вынужденного намагничивания, вызывающий возрастание намагничивающего тока и потерь в магнитопроводе и, как следствие, рост габаритов и массы трансформатора.
Существенное повышение основных характеристик достигается в однофазной двухтактной (мостовой) схеме выпрямления (рис. 1, б). Временные диаграммы для этой схемы при резистивной нагрузке приведены на рис. 2, б. В этой схеме ток в нагрузке протекает в одном направлении в обоих полупериодах, в то же время по вторичной обмотке протекают два импульса тока за период в противоположных направлениях, что определяет схему как двухтактную. Следовательно, постоянная составляющая тока во вторичной обмотке отсутствует.
Особенности работы выпрямителей на нагрузку
с индуктивной реакцией
К режиму работы выпрямителей на нагрузку с индуктивной реакцией относят работу на фильтры с индуктивным входным сопротивлением, т. е. c L- или LC-фильтрами, применяемыми при средних и больших мощностях или в низковольтных выпрямителях с большим током нагрузки, причем для LC-фильтров выполняется условие |Xc| << Rн.
В
простейшей схеме однофазного однотактного (однополупериодного) выпрямителя (рис. 3, а) форма импульса тока вторичной обмотки, совпадающего с током диода (iv = i2), определяется алгебраической суммой вынужденной i2в и свободной i2св составляющих, полученных в результате решения уравнения u2 = Lфdi2/dt +
+ Ri2 , т. е. i2 = i2в + i2св = Im sin (ωt – – φ) + Im sin φ exp (–t/τн) , где u2 = = E2msin ωt ; τн = Lф/R; Lф – индук-тивность дросселя фильтра; R = = Rн + rт + rv ; rт, rv – резистивные сопротивления обмоток трансформатора и открытого диода.
Временные диаграммы для рассматриваемой схемы, приведенные на рис. 3, б, показывают, что ток в цепи нагрузки плавно нарастает после открытия диода и более резко спадает в конце интервала проводимости ωt = λ. Характерная особенность этой схемы заключается в том, что при любых постоянных времени τн = Lф/R ток нагрузки iн остается прерывистым.
Характеристики
Тип файла документ
Документы такого типа открываются такими программами, как Microsoft Office Word на компьютерах Windows, Apple Pages на компьютерах Mac, Open Office - бесплатная альтернатива на различных платформах, в том числе Linux. Наиболее простым и современным решением будут Google документы, так как открываются онлайн без скачивания прямо в браузере на любой платформе. Существуют российские качественные аналоги, например от Яндекса.
Будьте внимательны на мобильных устройствах, так как там используются упрощённый функционал даже в официальном приложении от Microsoft, поэтому для просмотра скачивайте PDF-версию. А если нужно редактировать файл, то используйте оригинальный файл.
Файлы такого типа обычно разбиты на страницы, а текст может быть форматированным (жирный, курсив, выбор шрифта, таблицы и т.п.), а также в него можно добавлять изображения. Формат идеально подходит для рефератов, докладов и РПЗ курсовых проектов, которые необходимо распечатать. Кстати перед печатью также сохраняйте файл в PDF, так как принтер может начудить со шрифтами.















