ЭПУ_2 (1088701), страница 2
Текст из файла (страница 2)
В режиме, близком к холостому ходу выпрямителя (R >> ωLф), влияние фильтра несущественно, импульс тока имеет форму полуволны синусоиды и, следовательно, постоянная составляющая напряжения на нагрузке равна U0 = E2m/π, что совпадает со случаем резистивной нагрузки. С увеличением постоянной времени τн интервал проводимости возрастает, а в выпрямленном напряжении появляется отрицательный выброс, снижающий постоянную составляющую напряжения на нагрузке.
П
рерывистый характер выпрямленного тока, низкий коэффициент мощности χ =
= ν1cos φ1 и резко падающая внешняя характеристика являются существенными недостатками рассмотренной схемы, ограничивающими ее применение в радиоэлектронной аппаратуре.
На практике чаще используется модификация рассмотренной схемы, отличающаяся наличием “обратного” диода (рис. 4, а), шунтирующего цепь нагрузки при появлении на выходе выпрямителя напряжения обратной полярности (ωt > π) и обеспечивающего “запирание” основного диода VD1 (рис. 3, б, рис. 4, б). Введение “обратного” диода VD2 создает разрядный контур, по которому замыкается ток нагрузки во втором полупериоде (π < ωt < 2π), поддерживаемый за счет энергии, накопленной в магнитном поле индуктивности Lф в течение первого полупериода (0 < ωt < π). При этом ток в нагрузке iн уже не может стать равным нулю ни в какой момент периода, что приводит к сглаживанию пульсаций тока в нагрузке.
Следует обратить внимание на то, что в данной схеме пульсации тока iн уменьшаются с ростом τн = Lф/Rн, а постоянная составляющая тока I0 остается неизменной. Коэффициент пульсаций выпрямленного тока в рассматриваемой схеме с “обратным” диодом определяется выражением kпI ≈ π / (2ωτн), и при достаточно больших постоянных времени импульсы тока диодов iv1 и iv2 становятся почти прямоугольными.
В
этой схеме сохраняются также существенные недостатки однофазной однотактной схемы большое значение габаритной мощности трансформатора, низкий коэффициент мощности χ = ν1cos φ1 и вынужденное намагничивание магнитопровода трансформатора, что ограничивает ее применение.
От указанных недостатков свободна двухтактная (мостовая) схема выпрямителя (рис. 5, а). Временные диаграммы токов и напряжений в характерных точках этой схемы показаны на рис. 5, б. Значение индуктивности Lф в данном случае определяет только уровень пульсаций напряжения на нагрузке и не влияет на его постоянную составляющую и интервал проводимости диодов, что характерно для всех схем с m ≥ 2. Основные расчетные соотношения для рассматриваемой схемы приведены далее:
U0 = 0,9U2; U2 = 1,1U0 ; I2 = I0 ; kп = Em1 /U0 = 0,67 ;
P1 = U1I1 = 1,1P0; k2 = P2/P0, k1 = P1/P0 ;
P2 = U2I2 = 1,1P0; Pгаб = P0(k1 + k2)/2 = 1,1P0 .
Особенности работы выпрямителей
на резистивно-емкостную нагрузку
Режим работы на резистивно-емкостную нагрузку является наиболее распространенным в маломощных выпрямителях. В этом режиме параллельно сопротивлению нагрузки подключается конденсатор (рис. 6, а), что приводит к существенным изменениям форм тока диода и выпрямленного напряжения, а также энергетических соотношений.
В
ременные диаграммы токов и напряжений в однофазной однотактной схеме выпрямления с резистивно-емкост-ной нагрузкой (без учета индуктивностей рассеяния трансформатора Ls) в установившемся режиме приведены на рис. 6, б. В этом случае момент возникновения тока диода iv будет сдвинут по отношению к началу положительной полуволны напряжения u2 на угол φ0 < π/2. Ток диода при φ0 < ωt < ωt3 определится суммой токов конденсатора и нагрузки iv(ωt) = ic + iн ≈ E2m (ωτн cos ωt + sin ωt)/Rн, где τн = = RнC1. Для обеспечения малого kп = Emп / U0 должно выполняться условие ωτн >> 1.
Если в первом приближении пренебречь падением напряжения на диоде, то можно принять, что к моменту перехода u2 через максимум конденсатор C1 оказывается заряженным до амплитудного значения напряжения на вторичной обмотке, т. е. E2m. Начиная с этого момента конденсатор C1 будет разряжаться на сопротивление нагрузки Rн, а ток ic изменит направление на обратное. В некоторый момент времени, определяемый углом закрывания ωt3 = φ0 + λ, ток через диод прекратится, а напряжение на нагрузке будет поддерживаться лишь разрядным током конденсатора:
uн (t) = uc(t) = E2m sin(ω t3) exp [–(t– t3)/τн].
Угол закрывания диода определяется выражением ωt3 = arctg(–ωτн), показывающим, что значения этого угла будут изменяться от π при τн = 0 до π/2 при τн ∞. Поскольку для выполнения условия малости коэффициента пульсаций постоянная времени разряда τн = Rн C1 >> 1/ω, диод останется закрытым к началу следующей положительной полуволны напряжения и откроется в установившемся режиме лишь при выполнении условия
u2(ωt) = E2m sin φ0 ≈ E2m еxp [– (0,75π + φ0)/τн].
Увеличение емкости фильтра C1 (или постоянной τн = Rн C1) приводит не только к уменьшению коэффициента пульсаций, но и к увеличению постоянной составляющей выпрямленного напряжения. Уменьшение сопротивления нагрузки Rн приводит к уменьшению постоянной времени цепи разряда τн, поэтому внешняя характеристика выпрямителя с емкостной нагрузкой крутопадающая, что определяет высокое выходное сопротивление и ограничения при использовании переменной нагрузки.
П
ри использовании П-образного фильтра, представляющего собой каскадное соединение емкостного и Г-образного фильтров, формы тока диода и напряжения на первой емкости фильтра близки к рассмотренным ранее.
Аналогичные процессы наблюдаются в двухтактной схеме выпрямителя, а также в других схемах выпрямления (m ≥ 1) с емкостной нагрузкой, при этом отличие заключается лишь в периодичности процессов заряда и разряда конденсатора. Внешние характеристики выпрямителя при использовании различных сглаживающих фильтров представлены на рис. 7.
Описание лабораторного макета
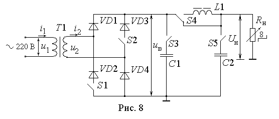
Лицевая панель макета содержит упрощенную принципиальную схему установки (рис. 8), органы управления, индикации и измерения. Лаборатоный макет помимо исследуемого выпрямителя содержит встроенный мультиметр для измерения тока первичной обмотки трансформатора I1, тока вторичной обмотки трансформатора I2, напряжения на вторичной обмотке трансформатора U2, выпрямленного напряжения до сглаживающего фильтра UВ, напряжения на нагрузке UН и тока в цепи нагрузки IН. Выбор измеряемой величины и измеряемого параметра (амплитуда, действующее значение, постоянная составляющая) осуществляется соответствующими кнопками, расположенными снизу от дисплея.
В
макете предусмотрена возможность дискретного изменения сопротивления нагрузки выпрямителя, схемы выпрямителя и вида сглаживающего фильтра. Ключи S1 и S2 позволяют реализовать однофазные однотактную и двухтактную схемы, а также однофазную схему с обратным диодом. При этом функцию обратного диода выполняют последовательно включенные диоды VD3 и VD4. Состояние ключей индицируется соответствующими светодиодами.
Наличие двух выходов на внешний осциллограф позволяет одновременно наблюдать формы токов и напряжений в различных точках схемы:
i1, u2, i2, iVD1, iVD3, uVD1, uВ, iC1, uН. Для исследования взаимосвязи сигналов во времени рекомендуется на один из каналов двухлучевого осциллографа постоянно подавать опорный сигнал (например, напряжение на вторичной обмотке трансформатора) и этим сигналом синхронизировать развертку осциллографа.
Программа выполнения работы
Ознакомиться со схемой лабораторного макета, с размещением органов управления макетом. Включить лабораторный макет и осциллограф.
1. Исследование однотактного выпрямителя (переключатели S1, S2 в положении “Выкл”).
1.1. При максимальном токе нагрузки зарисовать осциллограммы токов и напряжений при работе без фильтра, с емкостным фильтром, с индуктивным фильтром, с индуктивным фильтром и обратным диодом (в последнем случае включить S2).
Для наглядности осциллограммы удобно представить в виде таблицы.
| Тип фильтра | Ток первичной обмотки | Ток вторичной обмотки | Напряжение на диоде | Выпрямленное | |
| до фильтра | после фильтра | ||||
| Без фильтра | |||||
| Емкостный | |||||
| Индуктивный | |||||
| Индуктивный с обратным диодом | |||||
| Г-образный | |||||
| П-образный | |||||
1.2. Изменяя сопротивление нагрузки, снять внешнюю (нагрузочную) характеристику выпрямителя, т. е. зависимость постоянной составляющей напряжения на нагрузке от постоянной составляющей тока нагрузки UН = f(IН) при работе без фильтра, с индуктивным фильтром (при наличии и отсутствии обратного диода), с емкостным, Г-образным и П-образным фильтрами.
Все характеристики построить на одном графике в одном масштабе. Определить по характеристикам внутреннее сопротивление выпрямителя Rвых = –∆UН/∆IН для исследованных случаев.
2. Исследование двухтактного выпрямителя.
Переключатели S1, S2 установить в положение “Вкл”.
Провести исследования по программе, аналогичной пп. 1.1 и 1.2.
3. Исследование сглаживающих фильтров.
3.1. Для двухтактного выпрямителя снять зависимости коэффициента пульсаций напряжения на нагрузке от постоянной составляющей тока в цепи нагрузки при работе с емкостным и индуктивным фильтрами.
3.2. При максимальном токе нагрузки определить коэффициент сглаживания индуктивного, Г-образного и П-образного фильтров.
Содержание отчета
-
Принципиальная схема макета.
-
Таблицы экспериментальных данных и временные диаграммы. Графики экспериментальных зависимостей.
-
Краткие выводы.
Контрольные вопросы
1. Какими показателями характеризуется работа выпрямителя?
2. Классификация и характеристики основных схем выпрямления. Чем определяется фазность и тактность схем выпрямления?
3. Нарисуйте и объясните исследуемые схемы выпрямителей, а также временные диаграммы токов и напряжений в основных цепях при различных нагрузках: а) резистивной Rн; б) резистивно-индуктивной LфRн; в) резистивно-емкостной RнC.
4. Как изменяются амплитуда и время протекания тока диода при подключении конденсатора к резистивной нагрузке?
5. Определите действующее значение тока через диод в однофазном двухтактном выпрямителе c индуктивной нагрузкой, если постоянная составляющая тока в нагрузке, например, 1A.















