5_10a (1086060), страница 3
Текст из файла (страница 3)
В нагрузке выделяется мощность
РВЫХ = U2GH = (IГ/ G)2 GH = IГ2 GH /(GЭ - G), (5.66)
где GЭ = GГ + GР + GH. Подставляя в (5.65) РВЫХ в соответствии с (5.66) и РГном = IГ2/4GГ, получаем коэффициент усиления мощности
Здесь = G/GЭ — коэффициент регенерации. При 1, КР0 , однако практически получить усиление больше 20 дБ не удается, так как усилитель переходит в режим генерации.
Полоса пропускания регенеративного усилителя
0,7 = f0d = f0G = f0dЭ(1 – ), (5.68)
где dЭ = GЭ и f0dЭ — соответственно затухание и полоса пропускания контура без регенерации. Из (5.67) и (5.68) видно, что увеличение усиления сопровождается сужением полосы пропускания. В большинстве случаев удается совместить достаточное усиление и требуемую полосу пропускания.
Если частота гетеродина, называемого генератором накачки, fГ близка к удвоенной частоте усиливаемого сигнала 2 fС, то разностная частота fПР = fГ – fС близка к частоте сигнала и попадает в полосу пропускания входного контура. В этом случае отпадает необходимость в отдельном выходном контуре и двухконтурный ППУ вырождается в одноконтурный. Эквивалентная схема одноконтурного регенеративного ППУ совпадает с приведенной на рис. 5.30. Такой усилитель наиболее прост по конструкции и поэтому находил довольно широкое применение в сантиметровом диапазоне волн.
Достоинством ППУ является малый уровень собственных шумов, а поскольку постоянный ток в цепи варикапа весьма мал, малы и дробовые шумы. В ППУ в основном имеют место тепловые шумы, которые можно уменьшить охлаждением. Но чтобы реализовать малый коэффициент шума, необходимо предотвратить попадание собственных шумов нагрузки в усилитель, поскольку эти шумы, как и сигнал, будут усиливаться и выигрыша в реальной чувствительности приемника не будет. Предотвратить переход шумов нагрузки в резонатор усилителя можно с помощью фазовравщателей и ферритовых циркуляторов (ФЦ). Фазовращатели используются в усилителях проходного типа. В них сигнал от антенны через Фв1 (см, рис. 2.55.б) попадает в резонатор, усиленный сигнал через Фв2, который препятствует попаданию шумов нагрузки в резонатор, подводится к нагрузке.
Отражательные параметрические усилители с ферритовыми циркуляторами (ФЦ) имеют при одинаковой полосе пропускания в 4 раза больший коэффициент усиления и меньший коэффициент шума, чем проходные, поэтому применяются чаще последних. Основные параметры отражательных ППУ определяются соотношениями (4.45)…(4.48).
Регенеративное усиление возможно не только на частоте сигнала, но и на промежуточной частоте, так как в двухконтурном инвертирующем ПЧ активная составляющая выходной проводимости (в точках 2—2 на рис. 9.28) отрицательна. В этом нетрудно убедиться, подставив в (5.52) параметры (5.60). При резонансе в ВЦ
В неинвертирующем ПЧ активные составляющие входной и выходной проводимостей положительны. Поэтому регенеративного усиления не будет. Однако и в этом случае возможно усиление колебаний вследствие преобразования энергии генератора накачки ,в энергию принятого сигнала с повышением частоты. В соответствии с известным соотношением Мэнли—Роу коэффициент передачи мощности KР = fПР/fС зависит от того, во сколько раз повышается частота. Достоинство таких усилителей в широкополосности и устойчивости, недостаток — усиленный сигнал снимается на частоте, которая много выше частоты входного сигнала. Обычно после такого усилителя следует резистивный ПЧ с понижением частоты.
Усилители с распределенными параметрами имеют очень широкую полосу пускания, но довольно сложны – они представляют собой замедляющую цепь, через которую проходят бегущие волны принимаемого сигнала и волны генератора накачки. На пути волн размещены варикапы, благодаря усилительному действию которых энергия сигнала нарастает по мере продвижения волны вдоль замедляющей цепи.
Полупроводниковые параметрические усилители обеспечивают наименьшую шумовую температуру в приемниках без специальных охлаждающих устройств. При охлаждении они лишь немного уступают по шумам применяемым в радиоастрономии квантовым усилителям, но гораздо проще по конструкции и более экономичны, так как им не требуется источник сильного магнитного поля, который необходим в квантовом усилителе. Для охлаждения первый каскад усилителя помещают в двойной сосуд Дьюара с жидким гелием и жидким азотом. В РПрУ систем радиосвязи и телевидения ППУ вытесняются простыми и надежными транзисторными МШУ, которые почти не уступают им по шумовым параметрам.
Виды схем параметрических усилителей
Существует несколько разновидностей схем ППУ и режимов их работы. Усиленный сигнал можно получить, как на частоте входного колебания fд, так и на любой комбинационной частоте
fд = fn ± f (п = 1, 2...).
Первый случай называют усилением на частоте сигнала, второй —усилением с преобразованием частоты. Частоты fр и fд выделяются соответствующими контурами.
В диапазоне СВЧ чаще всего используются двухконтурные или двухчастотные системы, в которых выделяются частоты fд = fн ± fе (контур и частота накачки при этом не учитываются).
Эквивалентная схема двухконтурного регенеративного усилителя на частоте сигнала может быть представлена в виде параллельно включенных проводимостей (рис. 6.10, а) либо последовательно включенных сопротивлений – рис. 6.10, б).
Рис. 6.10, а) – Эквивалентная схема двухконтурного регенеративного усилителя на частоте сигнала, вариант параллельного включения проводимостей
Рис. 6.10, б) – Эквивалентная схема двухконтурного регенеративного усилителя на частоте сигнала: последовательный вариант ППУ с учетом потерь
Эквивалентная схема усилителя-преобразователя на рис. 6.11 отличается от схемы на рис. 6.10, а) тем, что проводимость нагрузки подключается не к первому контуру, а ко второму, с которого и снимается усиленный сигнал.
Если частота fi равна fa или отличается от нее на интервал, мéньший полосы пропускания первого контура, то второй контур не нужен, так как обе частоты fi и fa могут быть выделены одним контуром. При этом возможны два способа последующего использования сигнала: выделение его узкополосным фильтром, например супергетеродинным приемником, одной частоты fi или fy (однополосный режим) либо выделение на контуре обеих частот (двух полосный режим). Двух полосный режим целесообразно использовать для приема шумовых сигналов.
Рис. 6.12. Эквивалентная схема двухконтурного параметрического полупроводникового усилителя с циркулятором и цепью накачки
На рис. 6.12 показана эквивалентная схема распространенного варианта параметрического полупроводникового усилителя — двухконтурного регенеративного ППУ на частоте сигнала с учетом цепи накачки в последовательном варианте. На схеме: Ц — циркулятор, к его плечу 1 — подключается источник сигнала ec с внутренним сопротивлением RГ, к плечу 2 — ППУ, к плечу 3 — нагрузка RИ (обычно вход супергетеродинного приемника), к плечу 4 — нагрузка RН, поглощающая отраженный от входа 3 сигнал. ФС, ФN и ФX — фильтры, пропускающие только частоты fд = fi, f = fд и fд элементы Тс и Тл — реактивные четырехполюсники, включающие в себя реактивности диода, контура и цепи связи с источниками сигнала ec и накачки ЕНАК; XХ – реактивность холостого контура.
Одноконтурный ППУ
Эквивалентная схема одноконтурного полупроводникового параметрического усилителя совпадает с эквивалентной схемой двухконтурного ППУ (рис. 6.11, 6.12) при условии изъятия холостого контура, поскольку частоты fд и fа близки и обе выделяются сигнальным контуром. Такой усилитель обычно применяют в двух полосном, «радиометрическом» режиме приема шумовых сигналов, поступающих в усилитель на частотах fi и fа.
Конструкции одноконтурных параметрических полупроводниковых усилителей проще, чем двухконтурных, так как не содержат холостого контура.
Конструкции ППУ
ППУ выполняются в волноводном, коаксиально-волноводном, полосковом или микрополосковом вариантах.
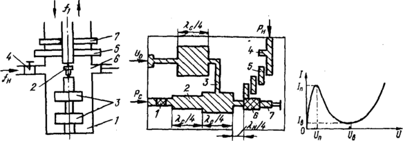
Простые в конструктивном отношении – одноконтурные усилители. В волноводном варианте такой усилитель представляет собой два волновода (1-й – на частоту сигнала и 2-й — на частоту накачки fН) с общим отверстием связи, в которое помещен параметрический диод 3 – рис. 6.15.
Настройка в резонанс и согласование активных сопротивлений производится с помощью реактивных винтов, расположенных в волноводе сигнала 4 и накачки 5.
Рис. 6.15 – Конструкция волноводного варианта одноконтурного ППУ
Фильтр низкой частоты 6 предотвращает попадание мощности накачки в волновод сигнала. Настройка контура накачки не влияет на контур сигнала, поскольку волновод накачки запредельный для частоты сигнала. Постоянное напряжение смещения U0 попадает на диод через дроссельный фильтр.
| Рис. 6.16. Конструкция волноводно-коаксиального варианта двухконтурного ППУ | Рис. 6.17. Топология микрополоскового двухконтурного ППУ с последовательным включением диода в линию | Рис. 6.18. Вольтамперная характеристика ТД; Iп — пиковый ток |
В коаксиально-волноводном варианте используются коаксиальный вход и коаксиальный выход усилителя – рис.6.16. В диапазоне частот порядка 5 ГГц контур настраивается коаксиальным шлейфом 1, включенным за диодом 2. Фильтр нижних частот 3 включен за шлейфом, поэтому перестройка шлейфа не влияет на параметры холостого контура (настроенного на разностную частоту) и фильтра накачки 4. Контур холостой частоты ограничен в коаксиале радиальной ловушкой 5 и фильтром низких частот, а в волноводе — полосовым фильтром 4. Настройка контура осуществляется поршнем 6. Мощность накачки поступает по волноводу, запредельному для частоты сигнала. Контур накачки ограничивается коаксиальным радиальным фильтром 7 и фильтром нижних частот.
На рис. 6.17 показана топологическая схема микрополоскового двухконтурного ППУ с последовательным включением диода в линию. Конденсатор 1 служит для разрыва линии по постоянному току (для цепи смещения U0) и короткого замыкания для токов СВЧ. Полуволновый трансформатор 2 служит для подбора связи диода 6 с источником сигнала, т. е. для обеспечения «холодного» КСВ, необходимого для получения заданного усиления. При последовательном включении в микрополосковую линию (МПЛ) один из его выводов соединяют с заземленной пластиной короткозамкнутым шлейфом 7, чтобы замкнуть цепь напряжения смещения. Для развязки цепи сигнала от цепи смещения служат низкоомный и высокоомный отрезки МПЛ 3. Реактивный шлейф 4 служит для согласования входного импеданса цепи накачки с подводящей МПЛ.
КОНТРОЛЬНЫЕ ВОПРОСЫ
-
Как определить вид ОС по структурной схеме усилителя?
-
Как определить вид ОС по принципиальной схеме усилителя?
3. Почему при ОС по напряжению в усилителе UВЫХОС = UВЫХ?
4. Почему при параллельной ОС в усилителе UВХОС = UВХ?
5. Будет ли ООС уменьшать напряжение помех по отношению к сигналу, если помехи поступают на вход усилителя через источник сигнала или элементы входной цепи усилителя?
6. Какие виды ОС увеличивают нелинейные искажения и собственные помехи усилителя?
7. При каких видах ОС входное сопротивление усилителя с ОС зависит от сопротивления нагрузки RН усилителя?
8. Какого вида ОС не меняет площадь усиления каскада?
9. При каких условиях в усилителе с ООС в области СЧ может возникнуть самовозбуждение?
215















