Уч пос (1075545), страница 3
Текст из файла (страница 3)
Если считать, что при комнатной температуре все акцепторные атомы ионизированы, т. е.
=0, то на основании соотношения можно записать:
, (1.9)
где Na — концентрация акцепторных атомов в полупроводнике.
Соотношение (1.9) показывает, что уровень Ферми в полупроводнике р-типа располагается в нижней половине запрещенной зоны, так как Na >> ni, и при повышении температуры смещается к середине запрещенной зоны за счет ионизации атомов основного полупроводника.
Кроме того, на основании уравнений (1.4), (1.5), (1.7) и (1.8) можно записать следующее выражение:
которое показывает, что введение в полупроводник примесей приводит к увеличению концентрации одних носителей заряда и пропорциональному уменьшению концентрации других носителей заряда за счет роста вероятности их рекомбинации.
1.2 ТОКИ В ПОЛУПРОВОДНИКАХ
1.2.1 Дрейфовый ток
В полупроводниках свободные электроны и дырки находятся в состоянии хаотического движения. Поэтому, если выбрать произвольное сечение внутри объема полупроводника и подсчитать число носителей заряда, проходящих через это сечение за единицу времени слева направо и справа налево, значения этих чисел окажутся одинаковыми. Это означает, что электрический ток в данном объеме полупроводника отсутствует.
При помещении полупроводника в электрическое поле напряженностью Е на хаотическое движение носителей зарядов накладывается составляющая направленного движения. Направленное движение носителей зарядов в электрическом поле обусловливает появление тока, называемого дрейфовым (Рисунок 1.6, а ) Из-за столкновения носителей зарядов с атомами кристал- лической решетки их движение в направлении действия электрического поля
| а) | б) |
| Рисунок 1.6 Дрейфовый (а) и диффузионный (б) токи в полупроводнике. | |
прерывисто и характеризуется подвижностью . Подвижность равна средней скорости
, приобретаемой носителями заряда в направлении действия электрического поля напряженностью Е = 1 В/м, т. е.
Подвижность носителей зарядов зависит от механизма их рассеивания в кристаллической решетке. Исследования показывают, что подвижности электронов n и дырок p имеют различное значение (n > p) и определяются температурой и концентрацией примесей. Увеличение температуры приводит к уменьшению подвижности, что зависит от числа столкновений носителей зарядов в единицу времени.
Плотность тока в полупроводнике, обусловленного дрейфом свободных электронов под действием внешнего электрического поля со средней скоростью
, определяется выражением
.
Перемещение (дрейф) дырок в валентной зоне со средней скоростью
создает в полупроводнике дырочный ток, плотность которого
. Следовательно, полная плотность тока в полупроводнике содержит электронную jn и дырочную jр составляющие и равна их сумме (n и p — концентрации соответственно электронов и дырок).
Подставляя в выражение для плотности тока соотношение для средней скорости электронов и дырок (1.11), получаем
Если сравнить выражение (1.12) с законом Ома j =Е, то удельная электропроводность полупроводника определяется соотношением
У полупроводника с собственной электропроводностью концентрация электронов равна концентрации дырок (ni = pi), и его удельная электропроводность определяется выражением
В полупроводнике n-типа
>
, и его удельная электропроводность с достаточной степенью точности может быть определена выражением
В полупроводнике р-типа
>
, и удельная электропроводность такого полупроводника
В области высоких температур концентрация электронов и дырок значительно возрастает за счет разрыва ковалентных связей и, несмотря на уменьшение их подвижности, электропроводность полупроводника увеличивается по экспоненциальному закону.
1.2.2 Диффузионный ток
Кроме теплового возбуждения, приводящего к возникновению равновесной концентрации зарядов, равномерно распределенных по объему полупроводника, обогащение полупроводника электронами до концентрации np и дырками до концентрации pn может осуществляться его освещением, облучением потоком заряжённых частиц, введением их через контакт (инжекцией) и т. д. В этом случае энергия возбудителя передается непосредственно носителям заряда и тепловая энергия кристаллической решетки остается практически постоянной. Следовательно, избыточные носители заряда не находятся в тепловом равновесии с решеткой и поэтому называются неравновесными. В отличие от равновесных они могут неравномерно распределяться по объему полупроводника (рисунок 1.6, б)
После прекращения действия возбудителя за счет рекомбинации электронов и дырок концентрация избыточных носителей быстро убывает и достигает равновесного значения.
Скорость рекомбинации неравновесных носителей пропорциональна избыточной концентрации дырок (pn -
) или электронов (np -
):
где p - время жизни дырок; n - время жизни электронов. За время жизни концентрация неравновесных носителей уменьшается в 2,7 раза. Время жизни избыточных носителей составляет 0,01...0,001 с.
Носители зарядов рекомбинируют в объеме полупроводника и на его поверхности. Неравномерное распределение неравновесных носителей зарядов сопровождается их диффузией в сторону меньшей концентрации. Это движение носителей зарядов обусловливает прохождение электрического тока, называемого диффузионным (рисунок 1.6, б).
Рассмотрим одномерный случай. Пусть в полупроводнике концентрации электронов n(x) и дырок p(x) являются функциями координаты. Это приведет к диффузионному движению дырок и электронов из области с большей их концентрацией в область с меньшей концентрацией.
Диффузионное движение носителей зарядов обусловливает прохождение диффузионного тока электронов и дырок, плотности которых определяются из соотношений:
где dn(x)/dx, dp(x)/dx - градиенты концентраций электронов и дырок; Dn, Dp - коэффициенты диффузии электронов и дырок.
Градиент концентрации характеризует степень неравномерности распределения зарядов (электронов и дырок) в полупроводнике вдоль какого-то выбранного направления (в данном случае вдоль оси x). Коэффициенты диффузии показывают количество носителей заряда, пересекающих в единицу времени единичную площадку, перпендикулярную к выбранному направлению, при градиенте концентрации в этом направлении, равном единице. Коэффициенты
диффузии связаны с подвижностями носителей зарядов соотношениями Эйнштейна:
Знак "минус" в выражении (1.14) означает противоположную направленность электрических токов в полупроводнике при диффузионном движении электронов и дырок в сторону уменьшения их концентраций.
Если в полупроводнике существует и электрическое поле, и градиент концентрации носителей, проходящий ток будет иметь дрейфовую и диффузионную составляющие. В таком случае плотности токов рассчитываются по следующим уравнениям:
1.3 КОНТАКТНЫЕ ЯВЛЕНИЯ
-
Электронно-дырочный переход в состоянии равновесия
Принцип действия большинства полупроводниковых приборов основан на физических явлениях, происходящих в области контакта твердых тел. При этом преимущественно используются контакты: полупроводник-полупроводник; металл-полупроводник; металл-диэлектрик-полупроводник.
Если переход создается между полупроводниками n-типа и p-типа, то его называют электронно-дырочным или p-n переходом.
Электронно-дырочный переход создается в одном кристалле полупроводника с использованием сложных и разнообразных технологических операций.
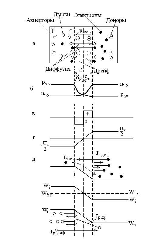
Рассмотрим p-n переход, в котором концентрации доноров Nд и акцепторов Na изменяются скачком на границе раздела (рис. 1.7, а). Такой p-n переход называют резким. Равновесная концентрация дырок в p-области (
) значительно превышает их концентрацию в n-области (
). Аналогично для электронов выполняется условие
>
. Неравномерное распределение концентраций одноименных носителей зарядов в кристалле (рис. 1.7, б) приводит к возникновению диффузии электронов из n-области в p-область и дырок из p-области в n-область. Такое движение зарядов создает диффузионный ток электронов и дырок. С учетом выражений (1.13) и (1.14) плотность полного диффузионного тока, проходящего через границу раздела, определится суммой
Электроны и дырки, переходя через контакт навстречу друг другу (благо- даря диффузии), рекомбинируют и в приконтактной области дырочного полу- проводника образуется нескомпенсированный заряд отрицательных ионов акцепторных примесей, а в электронном полупроводнике нескомпенсирован -ный заряд положительных донорных ионов (рис. 1.6, в). Таким образом, электронный полупроводник заряжается положительно, а дырочный - отрицательно. Между областями с различными типами электропроводности возникает собственное электрическое поле напряженностью Eсоб (рис. 1.7, а), созданное двумя слоями объемных зарядов.
Этому полю соответствует разность потенциалов Uк между n- и p-областями, называемая контактной (рис. 1.7, г). За пределами области объемного заряда полупроводниковые области n- и р-типа остаются электрически нейтральными.
Собственное электрическое поле является тормозящим для основных носителей заряда и ускоряющим для неосновных. Электроны p-области и
Рисунок 1.7 Равновесное состояние p-n перехода.
дырки n-области, совершая тепловое движение, попадают в пределы диффузионного электрического поля, увлекаются им и перебрасываются в противоположные области, образуя ток дрейфа, или ток проводимости.















