Лекции ОВТ (1074277), страница 17
Текст из файла (страница 17)
3. Проницаемость.
Поток газопроницаемости тонкостенного элемента по i-му газу (H2, He и т. д.) может быть рассчитан по формуле
где qп,
– коэффициент проницаемости для данной пары “газ – материал”;
F – площадь тонкой стенки (оболочки, сильфона манжеты);
∆p – перепад давления проникающего газа на стенке, Па; ∆pi = pi – p’1
δ - толщина стенки, м;
j – показатель диссоциации газов в материале стенки (1 – для полимеров, резин; 2 – для металлов).
где q0 – константа проницаемости, м2*Па1/j*с-1
Еп – энергия активации проницаемости, Дж*моль-1
Напомним, что основным газом, диффундирующим (проникающим) через резину является гелий, с парциальным давлением в атмосфере р1=5,32*10-1 Па. Основным газом, диффундирующим через сталь является водород с парциальным давлением в атмосфере р1=3,99*10-2 Па.
При давлении в вакуумной камере р=10-5 Па, откачиваемой диффузионным насосом, парциальные давления этих газов составят: р2=10-8 Па (Не), р2=10-7 Па (Н2).
Таким образом при расчетах потоков проницаемости можно принять:
QпO2 ≈ 0;
QпN2 ≈ 0;
Рис. 2. Схема проникновения (диффузии) газов через уплотнительные элементы:
а) уплотнительное кольцо,
б) манжета сальникового ввода.
Таблица 4.
Коэффициенты проницаемости атмосферных газов через металлы.
| Газ | ∆р, [Па] | Материал | Т, [К] | qп, [Па1/j*м2*с-1] |
| Н2 | 5*10-2 | Fe | 293 | 1,4*10-12 |
| Н2 | 5*10-2 | Fe | 700 | 1*10-8 |
| N2 | 8*104 | Fe | 293 | 1*10-22 |
Не | 3*10-1 | Кварц Si02 | 293 | 4*10-14 |
| Не | 3*10-1 | Кварц Si02 | 600 | 3*10-12 |
| Не | 3*10-1 | Боросиликатное стекло SiO2, B2O3 | 293 | 1*10-15 |
| Не | 3*10-1 | Резина ИРП-1345М | 293 | 6*10-9 |
Таблица 5.
Константы и энергии активации проницаемости Н2 через различные материалы.
| Материал | q0, [Па1/j*м2*с-1] | j для Н2 | |
| Фторопласт-4 | 3,6*10-6 | 1,7*104 | 1 |
| Резина ИРП-1578 | 1*10-3 | 4*104 | 1 |
| Сталь Х18Н10Т | 8,9*10-4 | 6,8*104 | 2 |
| Сталь О3Х18Н12В4 | 4*10-3 | 1,5*108 | 2 |
| Сталь 36НХТ10 | 7*10-6 | 8,6*107 | 2 |
Рис.3. График зависимости потока проникающего водорода Qп от Т для сильфона D*d*h*n=22*10*0,08*10.
Пример 5. Рассчитать поток газопроницаемости манжеты из материала ИРП-1345М.
Dв=20мм =0,02 м; D=30мм=0,03м; δ=0,3мм=3*10-4м.
Коэффициент проницаемости:
Площадь стенки манжеты:
Перепад давления поникающего газа на стенке:
(∆рНе)′=3*10-1 Па.
Поток газопроницаемости:
Пример 6. Рассчитать поток газопроницаемости сильфона из стали Х18Н10Т с размерами
D*d*h*n=63*47,5*0,16*15, где n – число гофр сильфона, см. рис. 4.
Рис. 4. Схема проникновения (диффузии) газов (водорода) через металлический сильфон:
1 – заглушка, приваренная к торцу сильфона;
2 – кольцо обжимное (для лучшей приварки сильфона);
3 – сильфон;
4 – стенка (фланец);
5 – кольцо распорное (для лучшей приварки сильфона).
Суммарная площадь стенок сильфона:
δ = 1,6*10-4 м;
Перепад давления поникающего газа на стенке:
(∆р)1/2=(5*10-2)1/2 Па1/2=2,2*10-1 Па1/2.
Коэффициент проницаемости:
Поток газопроницаемости:
4. Натекание.
Определяется чувствительностью течеискателя, используемого при контроле.
Т
ак, для высоковакумных непрогреваемых системы, герметичность системы проверяется с помощью галоидного течеискателя, для которого максимальная чувствительность( минимальный поток натекания) составляет:
При проверке с помощью масс-спектрометрического течеискателя (без азота) чувствительность метода, соответственно, расчетный поток натекания составляет
Д
ля СВВ прогреваемых систем должен использоваться масс-спектрометрический течеискатель с азотной ловушкой и, соответственно, расчетная величина течи составляет
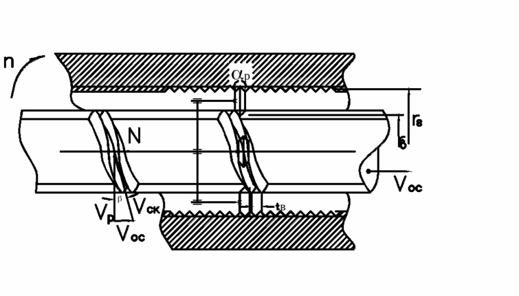
Рис. 5. Изменение натекания через инжекторный ввод в зависимости от времени работы и от шероховатости поверхности вала представлено на следующем графике.
В вводах движения манжеты изнашиваются в прцессе работы, циклически работающие на изгиб сильфоны “устают”, поэтому поток натекания через эти вводы с течением времени растет, как показано на рис. 5.
Лекция 28.
Расчёт газовыделения из кинематических пар.
В общем виде поток газовыделения из кинематической пары определяется зависимостью:
Где Fi—площадь поверхности контакта i-й кинематической пары;
qКi—удельное газовыделение из кинематической пары в контакте;
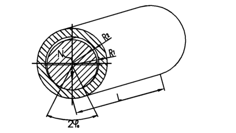
1. Вал-втулка
рис.1 Схема кинематической пары ‘вал-втулка’
Удельное газовыделение для кинематической пары вал/втулка определяется по
формуле:
В диапазоне варьирования параметров:
Vск=0,2-0,9 м/с, σк=10-50 МПа
Скорость скольжения определяется следующим соотношением:
Vск=πR2n/30,
где n-частота вращения, об/мин.
Здесь: μ1,μ2—коэффициенты Пуассона для материалов вала и втулки;
Е1,Е2—модули упругости материалов вала и втулки;
N—нормальная нагрузка;
L—длина контакта;
Po— удельная нагрузка;
VСК—скорость скольжения;
σК—контактное напряжение;
Пример 1
Расчёт газовыделения из пары ‘вал-втулка’ со следующими геометрическими размерами и параметрами:
N=12 H (=1 кг)
L=10-2 м
Определяем скорость скольжения:
Qк=?
Определяем контактные напряжения:
Площадь контакта:
Тогда газовыделение пары ‘вал-втулка’:
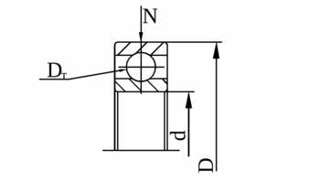
2. Шарикоподшипники:
рис.2 Схема шарикоподшипника
Удельное газовыделение для кинематической пары кольцо подшипника-тела качения выражается соотношением:
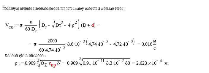
Пример 2: рассчитать газовыделение QК из шарикоподшипника серии 100 в вакууме при следующих параметрах:
N=80H; n=2000об/мин; радиус желоба: ρж=2,56•10-3м; диаметр шариков DТ=4,74•10-3м;
D=2,6•10-2м; d=10-2м; Е=2•1011Н/м2 (для стали ШХ15); μ=0,3;
Расчет:
Пример 3: тот же подшипник (серии 100) вращается при той же нагрузке N=80H, но с частотой n=20об/мин. В этом случае поток газовыделения составит:
V
СК=1,6•10-4м/с;
3. Зубчатая волновая передача.
Рис. 3 Схема контактного взаимодействия в зоне зацепления волновой зубчатой передачи:
1—жесткое колесо (ведомое);
2—двухкулачковый генератор волн (закрепление на ведущем валу);
3-гибкое герметичное колесо;
Удельное газовыделение из зубчатого зацепления для волновой передачи определяется по формуле:
П
ример 4: Рассчитать поток газовыделения из волновой зубчатой передачи ГВЗП-42 при следущих параметрах:
Dдж=4,385•10-2м; Zж=144; αw=20˚; φ=30˚
Мвых=5,3Н•м; СZ=0.15; m=3•10-4м
Нд=0,562•10-3м; hд=Нд/m=1.88
wo=4•10-4м; n1=10•c-1; В=8•10-3м
4. Планетарно-винтовая передача.
Рис. 4 Схема контактного взаимодействия в планетарно-винтовой передаче
ЛЕКЦИЯ №29
АДСОРБЦИЯ И ДЕСОРБЦИЯ ГАЗОВ
В зависимости от характера взаимодействия газов с поверхностью твердого тела различают физическую и химическую адсорбцию (хемосорбцию).
При физической адсорбции энергия связи молекул газа с поверхностью большинства материалов сравнительно невелика (до 4*104 Дж/моль), а характер взаимодействии определяется силами Ван-дер-Ваальса.
















