Электротехника Лекции (1065050), страница 6
Текст из файла (страница 6)
Синусоидальные токи и ЭДС сравнительно низких частот, до нескольких килогерц, получают с помощью синхронных генераторов (их изучают в курсе электрических машин). Синусоидальные токи и ЭДС высоких частот получают с помощью ламповых и полупроводниковых генераторов, подробно рассматриваемых в разделе – электроника.
2.2. Среднее и действующее значение синусоидальных тока и ЭДС.
Принято среднее значение функции времени определять за период
Для синусоидальной функции среднее значение за период равно нулю.
Используется также понятие среднего значения синусоидальной функции за полпериода:
Аналогично, среднее значение ЭДС за полпериода 
 .
Действующим значением синусоидальной функции называется ее среднеквадратичное значение за период
Большинство измерительных приборов амперметров и вольтметров показывают действующее значение измеряемой величины.
2.3. Сложение синусоидальных функций времени. Векторные диаграммы. Основы символического метода расчета.
Пусть требуется сложить два тока:
Тригонометрическому уравнению (1) можно дать геометрическую интерпретацию, если каждому синусоидальному значению поставить в соответствие вектор на плоскости в координатах x, y, рис. 2.2а. Длиной вектора будет амплитуда тока, а фазой – начальная фаза синусоиды 
 . Совокупность векторов, соответствующая уровням токов или напряжений, называется векторной диаграммой. 
Уравнению (1) можно поставить в соответствие другое уравнение, в котором каждая синусоида будет представлена в виде комплексного числа.
Ток 
 можно записать по формуле Эйлера:
С учетом (2) уравнение (1) примет вид:
Уравнение (3) содержит два типа комплексных чисел:
Прямые:
и сопряженные:
и может быть записано для каждой группы в отдельности, например,
Исключая общие множители 
 и 
 , получим:
или
Комплексное число 
 называется током в комплексной форме или комплексом тока по максимальному значению. Здесь 
 - модуль комплекса по максимальному значению, а 
 - фаза комплекса.
Если за модуль комплекса принять не амплитудное, а действующее значение, то получим комплекс по действующим значениям 
 или просто комплекс тока.
Уравнение (5) для комплексов тока примет вид:
Геометрическая интерпретация уравнения (6) на комплексной плоскости приведена на рис. 2.2.б. Это так называемая комплексная векторная диаграмма является с учетом масштаба точным аналогом векторной диаграммы, приведенной на рис.2.2.a.
 Комплекс тока 
 называют символом мгновенного тока i(t), а метод составления уравнений в комплексной форме – комплексным или символическим.
Забегая вперед, отметим, что расчет цепей комплексным методом имеет значительные преимущества перед методом расчета по мгновенным значениям.
2.4. Пассивные элементы электрической цепи.
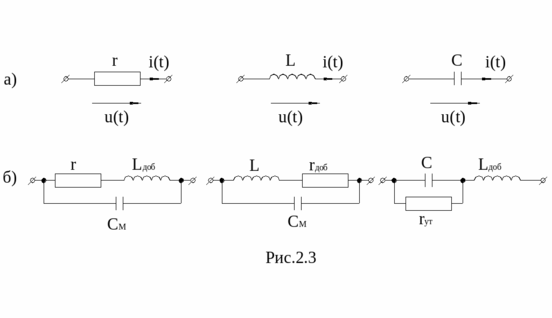
Резистор r , индуктивность L и емкость C являются пассивными элементами электрической цепи. Резистор r или активное сопротивление цепи – это элемент, в котором происходит рассеивание энергии в виде тепла или превращение электрической энергии в другой вид энергии: в световую, химическую или механическую.
Индуктивность L и емкость C называются реактивными элементами цепи, в них происходят накапливание энергии в виде магнитного или электрического поля. Рассеивание энергии в таких элементах отсутствует. Идеальные элементы r, L, C на схеме обозначаются так, как это показано на рис. 2.3а.
Реальные катушки индуктивности и конденсаторы рассеивают часть энергии. Этот факт учитывается с помощью добавочных сопротивлений 
 для катушки и 
 для конденсаторов, рис. 2.3б. В проволочных сопротивлениях и катушках индуктивности учитывают также межвитковую емкость 
 , рис 2.3б.; в реальном конденсаторе можно учесть паразитную индуктивность подводящих контактов 
 , рис. 2.3б.
 Рассматривая пассивные элементы цепи r , L, C ответим на следующие вопросы:
-  
Каково соотношение между мгновенным значением тока и напряжения на каждом элементе? Каков вид векторов тока и напряжения?
 -  
Каковы мгновенная мощность p(t) и накопленная энергия магнитного или электрического полей?
 -  
Каково соотношение тока и напряжения на элементе в комплексной форме, как изображаются вектора тока и напряжения на комплексной плоскости.
 
Под мгновенным значением мощности p(t) понимают произведение мгновенного значения напряжения u(t) на элементе цепи на мгновенное значение протекающего по элементу тока i(t):
2.5. Резистивный элемент.
2.5.1. Пусть ток в резисторе:
Мгновенное значение напряжения на резисторе:
 
 Векторы тока и напряжения на резисторе приведены на рис. 2.4б. Закон Ома для резистора имеет вид:
2.5.2. Мгновенная мощность p(t) равна:
Временные диаграммы i(t), u(t), p(t) приведены на рис.2.4в. Мощность р(t) имеет постоянную составляющую или среднее значение, называемое активной мощностью Р:
Активная мощность Р измеряется в ваттах (Вт).
2.5.3. В комплексной форме напряжение на резисторе записывается в виде
Векторы тока и напряжения на комплексной плоскости приведены на рис. 2.4г.
2.6. Индуктивный элемент в цепи синусоидального тока.
Индуктивный элемент учитывает явления накапливания энергии магнитного поля и характеризуется зависимостью потокосцепления 
 от тока i:
2.6.1. Мгновенное значение напряжения на индуктивности:
Здесь 
 - ЭДС, наводимая изменяющимся во времени магнитным потоком. 
Если принять ток в катушке 
 , то напряжение запишется в виде:
Векторы тока и напряжения показаны на рис. 2.5б. Напряжение опережает ток в катушке на угол 
 . Закон Ома для индуктивности:
где 
 - индуктивное сопротивление катушки, измеряется в Омах (Ом). Сопротивление 
 - частично зависимая величина, увеличивается с ростом частоты, рис. 2.5в.
2.6.2. Мгновенная мощность:
Мощность 
 называется реактивной и измеряется в вольт-амперах реактивных (ВАр). Временные диаграммы w(t), i(t) и p(t) для катушки приведены на рис. 2.5г. Средняя мощность равна нулю, т.е. рассеивание мощности или потери отсутствуют. Энергия магнитного поля катушки равна:
 Временная диаграмма W(t), приведена на рис. 2.5д. Максимальная энергия магнитного поля катушки:
2.6.3. Напряжение на индуктивности в комплексной форме.
Так как напряжение на катушке:
Здесь 
 - индуктивное сопротивление в комплексной форме.
Оператор 
 отражает дифференцирование напряжения на индуктивности.
Закон Ома в комплексной форме:
Вектора тока и напряжения на комплексной плоскости приведены на рис. 2.5е.
2.7. Емкостный элемент в цепи синусоидального тока.
Емкость отражает явление накапливания электрического поля и характеризуется зависимостью заряда q от напряжения u : 
 
2.7.1. Мгновенное значение напряжения на конденсаторе:
Пусть 
 , тогда напряжение на конденсаторе:
Это напряжение отстает от тока на угол 
 .
Векторы тока и напряжения приведены на рис.2.6б.
Закон Ома для емкости:
где 
 - емкостное сопротивление, измеряется в омах (Ом).
Емкостное сопротивление уменьшается с ростом частоты. Зависимость 
 от частоты приведена на рис. 2.6.в.
2.7.2. Мгновенная мощность на конденсаторе:
Q – реактивная мощность конденсатора. Временные диаграммы 
 , i (t), p (t) приведены на рис. 2.6г.
Среднее значение мощности равно нулю, т.е. рассеивание мощности или потери отсутствуют. Энергия электрического поля в конденсаторе равна:
Максимальная энергия электрического поля равна:
2.7.3. Напряжение на емкости в комплексной форме.
Здесь 
 - емкостное сопротивление в комплексной форме.
Оператор 
 отражает интегрирование тока в формуле напряжения на емкости.
Закон Ома в комплексной форме 
 или 
 . Векторы 
 и 
 приведены на рис. 2.6е.
2.8. Последовательное соединение элементов r, L, C.
Для схемы рис. 2.7. уравнение по второму закону Кирхгофа для мгновенных значений запишем в виде:
Вектор тока и векторная диаграмма напряжений приведены на рис. 2.8. Векторы напряжений на активном и реактивном элементах ортогональны, а векторы напряжений на L и C смещены на 
 .
В комплексной форме уравнение (8) примет вид:
Здесь
 - модуль комплексного сопротивления
 - фаза комплексного сопротивления.
На комплексной плоскости сопротивления 
 - образуют треугольник сопротивления, рис. 2.10.
Если сопротивления умножить на 
 , получим диаграмму напряжений, рис. 2.9.
Сравнивания уравнения (8) и (9), отметим, что дифференциальные уравнения (8) после замены мгновенных значений их комплексными символами переводится в уравнение алгебраическое (9). Это одно из преимуществ комплексного метода расчета.
Введение понятия комплексного сопротивления, позволяет написать закон Ома для всей цепи в комплексной форме 
 или для модулей комплексов 
 
 или 














