Химмотология ракетных и реактивных топлив (1043407), страница 45
Текст из файла (страница 45)
Строят графическую зависимость в координатах
и экстраполяцией находят г, при любых температурах хранения
топлив.
По этим данным можно рассчитать допустимый срок хранения топлива при заданной температуре, исходя из необходимого
остаточного содержания ингибитора. Так, если взять топливо с ионолом и считать, что при хранении его концентрация не должна снижаться ниже 0,002% (0,8-Ю-4 моль/л), то допустимый срок хранения ( хр, годы) будет составлять:
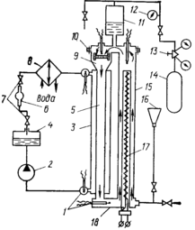
Период индукции определяют методом непрерывного окисления испытуемого образца топлив в герметичных стеклянных сосудах при 100 °С. Устанавливают длительность окисления топлива в указанных условиях до изменения сверх допустимого предела его термической стабильности в динамических условиях с последующим пересчетом полученных результатов на прогнозируемое время хранения топлива в натурных резервуарах на складе горючего. Термическую стабильность после окисления топлива при 100 °С определяют с помощью прибора ЦИТО-М (рис. 11.11). По принципу движения топлива и конструкции этот прибор является аналогом описанного выше прибора ЦИТО-С;
основные отличия — выполнение из легированной стали и размещение на пути максимально нагретого топлива фильтра из металлической сетки саржевого плетения (размер пор 12—16мкм). Нагретое топливо циркулирует по системе 180 мин (или менее), если фильтры забиты, и температура за фильтром понижается на 30 °С. Термоокислительную стабильность топлива характеризуют отношением разности температур в нижней части корпуса контура циркуляции в начале и в конце испытания ко времени испытания. По результатам испытания строят график в координатах d—т, интерполяцией находят время т, при котором d=10°С/ч. Результаты двух параллельных определений не должны отличаться от среднего арифметического более чем на 20, 15 и 10% для т, равного соответственно <:5,5—10 и более 10 сут.
Рис. 11.11. Схема установки ЦИТО-М:
/—термопары, 2—насос, 3— рубашка;
4 — бачок с рабочей жидкостью; 5 — опускная труба, 6—штихпробер, 7—краны;
8 — холодильник, 9 — камера контрольного фильтра 10 — фланцы, 11 — компенсационный бачок. 12— манометр, 13— редуктор;
14— баллон сжатого воздуха, IS—подъемная труба; 16— воронка, /7 — электроподогреватель, 18 — корпус
11.3. НОРМЫ И ФАКТИЧЕСКОЕ КАЧЕСТВО ТОПЛИВ ПО ПОКАЗАТЕЛЯМ МЕТОДОВ КВАЛИФИКАЦИОННЫХ ИСПЫТАНИЙ
Нормы качества реактивных топлив, оцениваемые по комплексу методов квалификационных испытаний, приведены в табл. 11.1. Как было отмечено, еще не по всем оцениваемым показателям установлены нормы, например, не нормируются давление насыщенных паров (за исключением топлива Т-2), термоокислительная стабильность по индексу термостабильности и температуре начала образования отложений, противоизносные свойства на установке ПСТ-2, индукционный период изменения термоокислительной стабильности топлива. Фактическое качество вырабатываемых топлив основных марок по всем показателям комплекса методов квалификационных испытаний также представлено в табл. 11.1. Наличие данных по фактическому качеству товарных топлив, которые находятся в эксплуатации и не вызывают нарушений в работе авиационной техники, служит хорошим ориентиром для сравнительной оценки качества новых образцов топлив и позволяет более надежно судить о возможности их использования без проведения длительных стендовых и летных испытаний.
Таким образом, при проведении квалификационных испытаний оценка по некоторым эксплуатационным свойствам реактивных топлив дублируется. Казалось, с целью упрощения и ускорения испытаний необходимо как можно скорее ликвидировать дублирование, учитывая, что комплекс квалификационных методов испытаний реактивных топлив используется уже около 20 лет. Ежегодно по нему оценивается более десятка образцов топлив, и практически не было случаев, чтобы допущенный к применению на технике образец вызывал какие-либо отрицательные последствия в эксплуатации. Тем не менее конструкторы и изготовители техники еще не всегда в полной мере полагаются на результаты испытаний по комплексу квалификационных методов. Подобное положение во многом объясняется недостаточной пропагандой достоинств квалификационных испытаний и их надежности, а также сложившейся традицией не вносить никаких изменений в отработанную систему «двигатель— топливо» без проведения широких натурных испытаний. В такой ситуации очень сложно исключить из междуведомственной документации какой-либо показатель качества топлив, уже потерявший техническое значение, как, например, содержание фактических смол или высота некоптящего пламени.
Кроме того, ряд показателей, предусмотренных комплексом, определяют квалификационными методами, мало пригодными для оперативного контроля качества топлива на нефтеперерабатывающих предприятиях и на местах применения. К ним относятся в основном методы испытаний с помощью модельных установок. В этих случаях рационально в стандартах на топливо
иметь показатели, нормирование которых позволило бы обеспечить для вырабатываемых реактивных топлив требуемый уровень эксплуатационных свойств, определяемых с помощью модельных методов. В частности, для характеристики уровня склонности топлив к нагарообразованию, который определяют на модельной камере сгорания, достаточно нормировать плотность топлива, его фракционный состав и содержание ароматических и нафталиновых углеводородов. Все эти показатели сравнительно несложно определить в обычных лабораториях НПЗ и аэропортов. Таким образом, дублирование при оценке эксплуатационных свойств по комплексу квалификационных методов и по методам, предусмотренным в стандартах на реактивные топлива, вполне оправданно.
Многие входящие в комплексы методы предусматривают использование модельных установок, большинство из которых серийно не выпускается промышленностью. Как правило, они разработаны какой-либо исследовательской организацией, изготовлены малой одноразовой серией—от 3 до 10 экземпляров— и в последующем производство их не возобновляется. В таком положении оказывается рациональная разработка других модельных установок, позволяющих расширить экспериментальную базу квалификационных испытаний. Примером тому может быть определение нагарообразующей способности топлив на модельных установках ВНИИ НП и ЦИАМ, а также определение противоизносных свойств на описанных выше установках УПС-01, СИССТ-1 и ПСТ-2.
Одним из основных путей постоянного совершенствования комплексов квалификационных методов является оптимизация определяемых показателей и используемых для этого методов с целью исключения ненужных и устаревших, не дающих требуемой информации, и включения новых, более информативных либо взаимозаменяемых методов. Работа эта должна проводиться на базе изучения корреляции результатов квалификационных испытаний топлив с практикой их использования при эксплуатации техники.
В то же время наряду с дублированием комплексом ряда квалификационных методов в нем пока не предусматривается определение некоторых эксплуатационных свойств реактивных топлив, например токсичности, охлаждающих свойств и др. В связи с разработкой и внедрением в перспективе синтетических реактивных топлив, получаемых из угля и других заменителей нефти, а также высокоэнергетических реактивных топлив, получаемых из различного, в том числе и ненефтяного, сырья, потребуется разработка и включение новых квалифицированных методов.
По мере дальнейшего развития авиационных газотурбинных двигателей и техники, на которой они устанавливаются, а также неизбежного изменения состава топлив должен наступить момент, когда комплексом квалификационных методов будет
предусмотрена оценка всех без исключения эксплуатационных свойств. И это будет вызвано не только академическим стремлением создания совершенной системы всесторонней оценки эксплуатационных свойств реактивных топлив„ но и требованиями надежной эксплуатации авиационной техники, а главное— позволит сократить время испытания в стендовых и эксплуатационных условиях.
Глава 12
ХРАНЕНИЕ, ТРАНСПОРТИРОВАНИЕ, КОНТРОЛЬ КАЧЕСТВА И ПУТИ ЭКОНОМИИ РЕАКТИВНЫХ ТОПЛИВ
Порядок хранения и транспортирования реактивных топлив определяется ГОСТ 1510—84, а также ведомственными документами. Средства хранения реактивных топлив различны: 1) в подземных хранилищах, сооружаемых в отложениях каменной соли, гипса, ангидрида, доломита, известняка, мергеля, глины, магматической и вечномерзлых породах; 2) в металлических горизонтальных резервуарах низкого давления (давление в газовом пространстве до 266 гПа); 3) в металлических вертикальных резервуарах без понтонов, плавающих крыш и газовой обвязки;
4) в резинотканевых резервуарах и 5) в стальных бочках и контейнерах. Транспортирование реактивного топлива возможно всеми видами транспорта, по стационарным и сборно-разборным трубопроводам, наливными и сухогрузными судами, железнодорожными цистернами с универсальными сливными устройствами и верхним сливом, крытыми железно-дорожными вагонами, автоцистернами, в резервуарах и таре на автомобильном транспорте.
12.1. ХРАНЕНИЕ И ТРАНСПОРТИРОВАНИЕ ТОПЛИВ
Требования к средствам хранения. В металлических резервуарах требованиями ГОСТ 1510—84 предусматривается внутреннее маслобензостойкое и паростойкое защитное покрытие, соответствующее требованиям электростатической безопасности. С целью снижения потерь от испарения и загрязнения атмосферы углеводородами металлические резервуары вместимостью >25 м3 оборудуют дыхательными клапанами. Резервуары должны иметь исправные сливно-наливные запорные устройства (системы) и люки с прокладками, стойкими к нефтепродуктам и обеспечивающими герметичность.
Металлические резервуары, за исключением резервуаров предприятий длительного хранения, зачищают не менее 2 раз в
год для удаления продуктов коррозии, отложений и воды. При наличии на линии заполнения средств очистки с тонкостью фильтрования не более 40 мкм допускается зачищать резервуары 1 раз в году. При длительном хранении топлив резервуары зачищают после опорожнения. Хранение реактивного топлива при наличии на дне резервуара воды («водяной подушки») не допускается. В отдельных случаях допускается наличие воды не выше минимального уровня, обеспечиваемого конструкцией устройства для дренирования воды.
В отечественной практике широкое распространение при хранении реактивного топлива получили подвижные металлические резервуары с цинковым покрытием внутренней поверхности. Такое же покрытие делают в автоцистернах, топливозаправщиках, стационарных и разборных складских трубопроводах.
В зарубежной практике контакт реактивных топлив с цинковым покрытием считается нежелательным. Например, во французском руководстве по сбережению и контролю качества авиационных топлив указывается на недопустимость загрязнения топлива цинком [229], так как при наличии в топливе конденсированной воды образуется гидроксид цинка, накапливающийся в топливе. Отрицательное влияние цинка на надежность авиационной техники, по-видимому, в определенной степени зависит от ее конструкции и конкретных условий применения топлив.
В работе [230] систематизированы данные по длительному хранению топлив в подземных хранилищах, сооруженных в отложениях каменной соли, в устойчивых горных породах (граните, гнейсе, известняке, ангидриде) и в вечномерзлом грунте. Эти хранилища различны по температурному режиму: в ледогрунто-вых от —5 до —10 °С, в хранилищах другого типа в зависимости от глубины заложения—от 18 до 40 °С. Под воздействием высокой температуры при контакте с каталитически активной породой наиболее быстро изменяются кислотность и содержание фактических смол в топливе. Скорость увеличения кислотности реактивных топлив в интервале 20—50 °С при контакте с камен
ной солью в лабораторных условиях характеризуют данные табл. 12.1 [231]. С увеличением температуры на 10 °С скорость накопления кислот повышается на ~30%.















