Химмотология ракетных и реактивных топлив (1043407), страница 44
Текст из файла (страница 44)
По окончании испытания определяют предел прочности о и относительное удлинение лопаток на разрывной машине (ГОСТ 271—67). Максимальное расхождение параллельных определений не должно превышать одного этапа испытаний.
Изменение твердости тиоколового герметика оценивают путем сравнения твердости образцов герметика (в виде лопаток по ГОСТ 270—75) до и после выдержки их в испытуемом топливе при 130±1,5°С в течение 4 ч [215]. Твердость образцов
измеряют твердомером (ГОСТ 270—75), допускаемые расхождения не превышают 15%.
Диаметр пятна износа, критическая нагрузка и критерий противоизносных свойств — эти показатели определяют на установке УПС-01 [225]. Сущность метода заключается в оценке степени влияния топлива на износ и критическую разгрузку схватывания контрольной пары, работающей при трении скольжения. Обобщенным показателем противоизносных свойств топ-лив, учитывающим как износ, так и критическую нагрузку, является критерий износа. Он характеризует уровень этих свойств относительно эталонной жидкости—пентадекана. Парой трения в установке (рис. 11.6) являются плоский диск-образец 9 и три шара-образца 7, выполняемые из стали ШХ15. Плоский диск вращается с помощью электродвигателя 24. Шары монтируют и фиксируют от проворачивания в специальном сепараторе 6. Пара трения помещена в герметичную топливную камеру 2. Нагрузку на пару трения создают с помощью электропривода через пружинный динамометр и контролируют по стрелочному индикатору 17. Избыточное давление топлива в камере создают и регулируют с помощью поршневого насоса и контролируют по показаниям манометра. Топливо нагревается электрической/спиралью 1, помещенной в корпусе камеры.
На каждое испытание используют новые шары или шары с нетронутыми предыдущими экспериментами поверхностями и новый либо перешлифованный на специальном устройстве плоский диск. Для анализа в расходный бак установки заливают 3,5 л испытуемого топлива и проводят испытания при скорости скольжения 1,18 м/с и температуре топлива 60 °С. При определении величины износа длительность испытания достигает 30 мин, а осевая нагрузка равна 98,1 Н.
Закончив испытания, измеряют под микроскопом диаметр пятна износа шаров.
Для нахождения критической нагрузки нагружение пары трения продолжают до момента перехода износа в схватывание. При этом в зоне контакта материалов под воздействием резко возрастающих сил трения, преодолевающих усилие пружины, камера с узлом трения поворачивается и срабатывает механизм автоматического выключения установки.
Обобщенный показатель К. (%), характеризующий противо-износные свойства топлива, рассчитывают по формуле:
Учитывая, что сочетание букв «JP» является аббревиатурой, встречающееся в отечественной литературе другое написание букв, например, Jp следует считать неправильным
Испытание пентадекана проводится заводом-изготовителем установки, результаты прилагаются в паспорте на нее. Относительная погрешность метода составляет ±6%.
Массу износа и критическую нагрузку определяют на установке СИССТ-1. Эта установка по принципу определения про-тивоизносных свойств топлив аналогична установке УПС-01 и отличается только материалами контрольной пары трения и некоторыми параметрами проведения испытания.
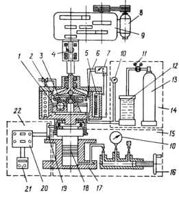
Парой трения установки СИССТ-1 (рис. 11.7) является плоский диск-образец 3 и три шара-образца 2 диаметром 25,4 мм. Для оценки износа применяют шары из стали ХВГ и шайбу из стали ШХ15, а для оценки критической нагрузки—шары из стали Х12М и шайбу из стали ЭИ347, т. е. для пар трения используют такие же сочетания материалов, как и в реальных насосах-регуляторах. Аналогично прибору УПС-01 пара трения размещается в герметичной топливной камере 1, в которой создается такое же избыточное давление. Нагрузку на пару трения создают с помощью гидравлического узла нагружения 15.
Топливо в камеру подается из основной емкости 12 под давлением азота от баллона 13. Необходимое избыточное давление топлива в камере регулируют с помощью газового редуктора 11 и контролируют по манометру 10.
До заданной температуры топливо нагревают электрической спиралью 5, вмонтированной в корпус камеры, и контролируют при помощи термопары 6 и потенциометра 7. Приводом плоского диска является электродвигатель 8. Силу трения в зоне контакта контрольной пары измеряют при помощи тензобалки 19 и тензометрической аппаратуры 20.
Испытания топлив на установке СИССТ-1 проводят при скорости скольжения 0,36 м/с и температуре топлива 20—25 °С. Определение на износ длится 30 мин. Осевую нагрузку первые 3 мин поддерживают равной 49,05 Н, в последующие 2 мин равномерно увеличивают ее до 490,50 Н и последние 25 мин не изменяют. На каждое испытание берут новые шары или шары»
Рис. 11.7. Схема установки СИССТ-1:
/—топливная камера; 2—шар-образец: 3—диск-образец; 4 — шпиндель; 5—электроподогреватель; 6— термопара; 7 — потенциометр; 8— электродвигатель; 9 — коробка скоростей; 10 — манометры; // — газовый редуктор; 12 — топливный бак;
13 — баллон с азотом; 14—топливная система; 15—узел нагружения;
16 — маховик; 17 — рабочий цилиндр; 18 — стальной поршень; 19 — тензобалка; 20 — тензометрическая аппаратура; 21 — микроампермилли-вольтметр; 22—узел измерения силы трения
Рис. 11.8. Схема установки ПСТ-2:
/ — электродвигатель; 2 — редуктор;
3 — топливный . бачок; 4 — коническая шайба; 5— плунжер; 6—цанговый держатель; 7 — винт-упор; 8, 9 — шарикоподшипники; 10—кольцо торможения;
11 — сектор-торможения: 12 — прерыватель; IS—источник света; 14—фотосопротивление; 15 — преобразователь частоты; 16 — потенциометр
поверхности которых не тронуты предыдущими экспериментами, и новый плоский диск. Массу износа шаров находят с помощью таблицы
по измеряемым под микроскопом размером пятен износа. Относительная погрешность определения износа составляет ±7% и критической нагрузки ±10%.
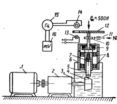
Показатель износа определяют на установке ПСТ-2 (рис. 11.8) [226]. Сущность метода заключается в регистрации износа плунжера из стали ХВГ при комбинированном трении— трении качения и трении скольжения — в зоне контакта его с конической шайбой из стали ШХ15. Износ оценивают косвенно по уменьшению частоты вращения плунжера за контрольный промежуток времени испытания. Показатель износа вычисляют как отношение изменения частоты вращения плунжера в испытуемом и эталонном топливах; эталонное топливо—смесь 96% изооктана и 4% цетана.
Плунжер 5 является серийной деталью топливного насоса-регулятора. Пара трения помещена в топливный бачок 3, а в, его корпус вмонтирован электроподогреватель. Система нагружения пары трения рычажная. В установке предусмотрено циклическое притормаживание вращения плунжера, обеспечивающее изменение соотношения между скольжением и качением в:
зоне контакта пары треняя аналогично тому, как это имеет место в зоне контакта плунжерной пары насоса-регулятора при смене режимов его работы. Частота вращения плунжера измеряется и регистрируется с помощью источника света 13, дискового прерывателя 12, закрепленного на «хвостовике» цангового-держателя, фотосопротивления 14, преобразователя частоты электрического тока в постоянное напряжение 15 и самопишущего потенциометра 16.
Испытания на установке ПСТ-2 проводят при осевой нагрузке 500 Н, соотношении между скоростями скольжения и качения в зоне контакта, равном 0,16—0,40, и температуре топлива 30 °С. Длительность анализа 60 мин циклами в 3 мин, при которых пара трения работает без притормаживания вращения плунжера в течение 1 мин с притормаживанием — 2 мин. Исключение составляют циклы в начале и конце контрольного периода, когда пара трения работает без притормаживания 2 мин.
Показатель износа (Ик.т, усл. ед.) вычисляют по формуле:
Показатель износа эталонного топлива принят равным 100 усл. ед.; относительная погрешность метода ±6%.
Диаметр пятна износа определяют также на стенде с модифицированным насосом-регулятором НР-21Ф2 [227, 228]. Сущность метода заключается в однократном прокачивании 50 л испытуемого топлива, нагретого до 120 °С, в течение 5 ч, через полость контрольного узла трения модифицированного насоса-регулятора НР-21Ф2 с последующим измерением диаметра пятна износа контрольных шаров, установленных в трех плунжерах.
Контрольной парой трения являются три шара 9 из стали ШХ15, диаметром 12,7 мм, закрепленные в плунжере, и наклонная шайба из стали ЭИ347 (рис. 11.9). Плунжеры с шарами и наклонную шайбу монтируют в корпусе насоса регулятора НР-21Ф2, в котором заглушены дренажные отверстия и тем самым разобщены полости контрольного узла трения и перекачивания топлива. Лабораторный стенд имеет две независимые топливные магистрали. По одной прокачивается испытуемое топливо через полость контрольного узла трения на проток, а по
Рис. 11.10. Схема установки для окисления топлива:
/—реактор; 2—реометр; 3—хлор-кальциевая трубка; 4—кран тонкой регулировки; 5 — магистраль подачи воздуха
второй циркулирует рабочее топливо, которое проходит через основную полость насоса-регулятора. Для каждого испытания используют новые (или с нетронутыми предыдущими экспериментами поверхностями) шары и новый упорный подшипник с наклонной шайбой.
Время окисления. Метод основан на измерении скорости образования свободных радикалов (ri) при окислении кислородом воздуха топлив, не содержащих антиокислительной присадки, и определении по г, допустимого срока хранения топлив с антиокислительной присадкой при контакте их с воздухом [218].
Испытуемое топливо (без антиокислителя) окисляют в стеклянном реакторе, обеспечивающем барботирование воздуха (рис. 11.10), с добавлением ингибитора NN-ди--нафтилпарафе-нилендиамина (диафен-НН). Каждые 5°С отбирают пробу топлива и с помощью фотоколориметра измеряют оптическую плотность. Изменение оптической плотности топлива в процессе испытания характеризует скорость расходования диафена—НН, так как образующийся в результате его окисления хинондиимин окрашивает топливо в розово-красный цвет.
По результатам измерения оптической плотности проб окисленного топлива вычисляют концентрацию хинондиимина в них, а затем скорость расходования диафена-НН. Скорость образования свободных радикалов г» рассчитывают по формуле [моль/(л-с)]:
Константу скорости окисления диафена-НН находят из формулы: lg k =9,146—23000/ (4,575 Т), где Г—температура окисления топлива, °С.















