Химмотология ракетных и реактивных топлив (1043407), страница 42
Текст из файла (страница 42)
от режима работы топливорегулирующих агрегатов отечественной техники. Топлива капиталистических стран, допущенные к применению на отечественной авиационной технике с ограничением ресурса топливно-регулирующей аппаратуры, приведены в табл. 10.6 [214].
При работе на указанных зарубежных топливах ресурс серийных плунжерных топливных агрегатов может быть сокращен
до 30% от установленной продолжительности. Топливо Jet A имеет температуру кристаллизации —40 °С и применяется с соответствующими ограничениями и учетом возможности контроля фактической температуры топлива в баках самолета. При понижении температуры топлива до температуры начала кристаллизации необходимо изменить высоту полета или увеличить скорость.
• Топливо содержит противообледенительную присадку—Fuel System Icing Inhibitor.
Топливо JP-4 и Jet В допускают к применению на самолетах и вертолетах наряду с топливом Т-2 и принятыми для него ограничениями. Из-за повышенной агрессивности топлива к резинам ограничивается ресурс работы серийной топливно-регу-лирующей аппаратуры с температурным режимом до 100 °С при работе на топливах Turbo А-1 (Перу) и АТК (Ирак) до 350 ч, JetA-1 (Йемен) —до 200 ч. При температурном режиме топлив-но-регулирующей аппаратуры до 120 °С их ресурс на указанных топливах ограничивается до 100 ч.
Глава 11
КВАЛИФИКАЦИОННЫЕ ИСПЫТАНИЯ РЕАКТИВНЫХ ТОПЛИВ
Квалификационные испытания реактивных топлив играют важную роль в общей системе государственных испытаний топлив, масел, смазок и специальных жидкостей. Комплекс квалификационных методов впервые был разработан в 1968 г., и его применение позволило сократить длительность испытаний новых образцов топлив с 3—4 лет до 3—4 недель, при этом сэкономлено в среднем ж 500 тыс. руб. на каждом испытании. Совершенствование авиационных двигателей связано с их дальнейшим усложнением, а следовательно, и удороженном, поэтому в настоящее время экономический эффект от применения комплекса ме
тодов еще больше. Ежегодно по этому комплексу испытывают более десятка образцов реактивных топлив, т. е. экономия исчисляется миллионами рублей.
11.1. КОМПЛЕКС МЕТОДОВ КВАЛИФИКАЦИОННЫХ ИСПЫТАНИЙ
Первоначально созданный комплекс методов квалификационных испытаний реактивных топлив не имел строгого научного обоснования всех включенных в него методов. Однако он нашел широкое и успешное распространение при оценке качества образцов топлив, полученных по измененной технологии на новых заводах из нефтяного сырья новых месторождений. В последующем в работах многих исследователей [215—217] были предложены совершенствования классификации эксплуатационных свойств топлив и уточнение терминологии в этой области. По ряду вопросов эти предложения существенно расходились, тем не менее на основе обобщения современных данных рядом организаций различных ведомств была подготовлена новая редакция стандарта ГОСТ 4.25—83 «Номенклатура показателей качества топлив». Этот стандарт по существу подводит итоги очередного этапа развития химмотологии. В нем на современном научном уровне даны классификация эксплуатационных и физико-химические свойства топлив, в том числе реактивных, перечень показателей их качества, которыми в настоящее время можно достаточно полно охарактеризовать все эти свойства.
Методы испытаний и их объем при квалификационной оценке реактивных топлив на современном этапе представлены в гл. 9 (см. табл. 9.1).
Вначале комплексом квалификационных методов и стандартами на реактивные топлива не предусматривалось определение многих показателей, таких, как давление насыщенных паров при 100 °С и выше, температура самовоспламенения, температурные и концентрационные пределы воспламенения, удельная электрическая проводимость, индекс термостабильности, температура начала образования отложений, предел прочности, относительное удлинение и период старения резины, изменение твердости герметика, показатель износа в условиях комбинированного трения, удельная теплоемкость, теплопроводность, токсичность, время окисления "и период индукции. По мере развития авиационной техники и технологии производства реактивных топлив некоторые из этих показателей приобрели важное практическое значение. Так, увеличение температуры топлива в баках и топливных системах летательных аппаратов в связи с повышением скоростей полета и теплонапряженности двигателей потребовало регламентации давления насыщенных паров топлив при температурах 100—250 °С, а следовательно, и разработки методов определения этого показателя в указанном интервале температур.
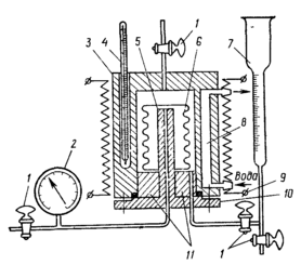
Рис. 11.1. Прибор для измерения давления насыщенных паров жидкости:
1 — вентили, 2 — вакуумметр;
3 — корпус; 4 — термометр, 5 — ограничитель; 6 — сильфов; 7 — дозатор, 8 — охлаждающий канал, 9 — электронагреватель;
10—крышка; 11—разрезная шайба
Возрастание скоростей заправки летательных аппаратов топливом в сочетании с увеличением тонкости фильтрования привело к необходимости контроля степени электризации топлив и разработки метода определения удельной электрической проводимости. Повышение теплонапряженности топливных систем летательных аппаратов и связанное с этим ужесточение требований к термостабильности топлив выявило недостаточность существовавших ранее методов оценки этой характеристики и целесообразность разработки новых методов, с помощью которых более полно определяется склонность топлив к отложениям при повышенных температурах (определение индекса термостабильности и температуры начала образования отложений).
Расширение использования термостабильных топлив, представляющих собой гидрогенизационные нефтяные фракции без присадок, вызвало ряд отрицательных явлений, связанных своз-действием таких топлив на резины и герметики, контактирующие с топливом в топливных системах летательных аппаратов. Это привело к необходимости разработки методов определения предела прочности резины при растяжении, ее относительного удлинения и периода старения, а также изменения твердости герметика, находящегося в контакте с реактивным топливом. Ускоренное изменение качества указанных гидрогенизационных топлив по сравнению с обычными прямогонными и сокращение вследствие этого допустимых сроков хранения на складах выявили потребность оценить лабораторным методом склонность топлив к изменению качества в условиях хранения (определение времени окисления и периода индукции).
Совершенствование комплекса квалификационных методов испытаний реактивных топлив и опыт их использования показывают, что указанные методы (см. табл. 9.1) не следует рассматривать изолированно от методов, входящих в стандарты на топлива (они также приведены в таблице). При квалификационной оценке качество реактивных топлив необходимо устанавливать путем определения показателей, предусмотренных как комплек
сом квалификационных методов, так и стандартами на топлива. Такой подход позволяет с наибольшей полнотой охарактеризовать эксплуатационные свойства топлив.
В настоящее время определяются все (за исключением охлаждающих свойств и токсичности) эксплуатационные свойства реактивных топлив, причем ряд свойств, например прокачивае-мость, горючесть, совместимость с материалами и другие, характеризуются значительным числом показателей (до 12). Некоторые показатели, такие, как вязкость, кислотность и другие, одновременно характеризуют несколько эксплуатационных свойств (прямо или косвенно).
Большинство методов, входящих в комплексы методов квалификационных испытаний и предусмотренных стандартами на реактивные топлива, уже стандартизовано; остальные являются междуведомственными. Многие из этих методов подробно описаны в работе [218]. Учитывая, что при применении того или иного стандартизованного метода следует обращаться к соответствующему стандарту, здесь будут описаны нестандартизованные еще квалификационные методы с учетом изменений, прошедших после выхода из печати указанной выше работы.
11.2. НЕСТАНДАРТИЗОВАННЫЕ МЕТОДЫ КВАЛИФИКАЦИОННЫХ ИСПЫТАНИЙ
Давление насыщенных паров топлива (метод разработан А. А. Соловьевым и Б. А. Маловым [219]). Определение проводят в специальном сильфонном приборе (рис. 11.1) при температурах от 20 до 200 °С и атмосферном давлении. Испытуемый образец топлива, помещенный в рабочую полость герметичной ячейки, нагревается, и при нагревании в результате повышения давления насыщенных паров топлива происходит сжатие силь-фона 6. Повышение давления в рабочей полости ячейки через сильфон и дегазированное вакуумное масло, полностью заполняющее измерительную полость ячейки, воспринимается измерительным прибором—вакуумметром 2. Перед проведением испытания из ячейки с помощью вакуум-насоса удаляется воздух. Дозатор заполняют испытуемым топливом и в количестве г» 30 мл подают в ячейку, при этом обеспечивается соотношение объемов парогазовой фазы к жидкой, равное 4:1; Включают электронагреватель 9 с помощью регулятора напряжения, нагревают и выдерживают топливо при заданной температуре, при которой фиксируют показания вакуумметра 2.
Для повышения точности измерений давления насыщенных паров проводят опыт по определению давления воздуха, выделившегося из топлива при испытании. Для этого плавно заполняют ячейку топливом из дозатора, сжимая тем самым паровоз-душную смесь в ячейке до атмосферного давления. По разност уровней жидкости в дозаторе вычисляют объем, занимаемый па-ровоздушной смесью в ячейке при атмосферном давлении.
Давление насыщенных паров (рнас, гПа) рассчитывают по формуле:
Допускаемые отклонения результатов параллельных определений по этому методу не должны превышать ±6,5 Па.
Пределы устойчивого горения, полнота сгорания, масса образующегося нагара—эти показатели определяют на малоразмерной однокамерной установке с модельной камерой сгорания, выполненной по типу камеры сгорания турбореактивного двигателя ВК-1 [221].
Схема установки показана на рис. 11.2.
Полноту сгорания топлива оценивают по характеристикам, выражающим зависимость коэффициента полноты сгорания от коэффициента избытка воздуха а. Коэффициенты и а. рассчитывают по тепловому балансу и газовому анализу при работе установки с расходом воздуха Gв=0,25 кг/с, его температурой на входе в установку tв=600C и температурой газов в мерном участке, равной 200, 300, 400, 500, 600 и 700 °С. Допускаемые расхождения между двумя параллельными испытаниями не превышают 0,02.
При определении пределов устойчивого горения состав газовой смеси, соответствующий появлению пламени на выходе из
Рис. 112. Схема малоразмерной однокамерной установки:
1- топливные баки, 2—фильтр; 3 — штихпроберы, 4— краны, 5—топливный насос, 6— манометр, 7—малоразмерная камера сгорания, S— приборы, измеряющие расход и давление воздуха, 9—электроподогреватель воздуха, 10—ресивер
Рис. 11.3. Схема измерительного блока установки ДТС-2:
















