Химмотология ракетных и реактивных топлив (1043407), страница 43
Текст из файла (страница 43)
/ — настроечная поверхность;
2 — оценочная трубка нагревателя, 3—лампочка подсвета, 4—считывающая каретка, 5— фотосояротивление, 6 — автоматический потенциометр
камеры сгорания, условно принимают за предел устойчивого сгорания топлива на богатых смесях, а состав смеси, соответствующий срыву пламени,—за предел устойчивого горения на бедных смесях. Суть испытания заключается в том, что состав смеси при работе установки постепенно обогащают, повышая давление подачи топлива до появления на выходе из камеры сгорания начала факела. Для фиксирования предела устойчивого горения топлива на бедных смесях плавно уменьшают подачу топлива до срыва пламени. В моменты появления факела на выходе из камеры сгорания и полного угасания пламени в ней измеряют расходы топлива и воздуха. Допускаемые расхождения между двумя параллельными испытаниями не более 5%.
Массу образующегося нагара определяют при работе установки на таком режиме: Gв==0,25 кг/с, tв=60°С, . После 1 ч работы камеру сгорания разбирают, среднюю часть жаровой трубы с отложившимся в ней нагаром взвешивают и по разнице масс камеры сгорания до и после испытаний находят массу нагара. Допускаемые расхождения между параллельными определениями не должны превышать 20%.
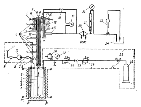
Индекс термостабильности и температуру начала образования отложений определяют на установках ДТС-2 и ДТС-2М. Сущность испытания на обеих установках заключается в следующем. Испытуемое топливо прокачивают с постоянным расходом вдоль оценочной трубки нагревателя, который имеет заданное температурное поле. По массе образовавшихся отложений на металлической поверхности и температуре начала их образования оценивают термоокислительную стабильность топлива. Эти показатели определяют путем регистрации яркости света, отраженного от поверхности оценочной трубки.
Установка ДТС-2 включает испытательный и измерительный блоки. Испытательный блок аналогичен установке ДТС-1М (ГОСТ 17751—79), за исключением конструкции нагревателя, состоящего из двух трубок, вставленных одна в другую. Этот нагреватель размещен внутри оценочной трубки. Температуру топлива измеряют с помощью 6 термопар, расположенных через 105 мм по длине нагревателя на расстоянии 1,5 мм от по-
верхности оценочной трубки. Схема измерительного блока показана на рис. 11.3. Оценочная трубка устанавливается в фокусе считывающей каретки 4, на которой размещены две лампочки 3, освещающие участок поверхности трубки, и фотосопротивление 5, формирующее на входе автоматического потенциометра 6 электрический сигнал, пропорциональный яркости отраженного света и записываемый на диаграммную ленту потенциометра. Настраивается прибор с помощью зеркальной поверхности.
В топливный бак установки закачивают 10 л топлива. За начало испытания считают время выхода на рабочий режим, который характеризуется следующими параметрами:
По истечении 5 ч испытания оценочную трубку вынимают из установки, выдерживают в изооктане и высушивают при комнатной температуре. Измеряют отражательную способность поверхности оценочной трубки в измерительном блоке. Графическую запись отраженной способности проводят на диаграмме с оценкой состояния поверхности трубки до испытания. Масса отложений графически выражается площадью, ограниченной кривыми, полученными при оценке отражательной способности поверхности трубки до и после испытаний. Индекс термостабильности вычисляют как частное от деления массы отложений, образовавшихся при испытании исследуемого топлива, на массу отложений, полученных при испытании эталонной жидкости (91% об. гексадекана и 9% об. -метилнафталина).
Температуру начала образования отложений tн.o находят по полученной диаграмме путем линейной интерполяции температуры термопар, расположенных слева и справа от точки, которая обозначает появление первых отложений. Доверительный интервал определения при 95%-й надежности составляет ±15% для индекса термостабильности и ±7,0% для температуры начала образования отложений.
Термоокислительную стабильность на установке ДТС-2М определяют по методу [222], предназначенному для оценки термоокислительной стабильности реактивных топлив в условиях, имитирующих режимы полета сверхзвуковых самолетов. Сущность метода заключается в оценке склонности реактивных топлив к окислению с образованием продуктов, способных отлагаться на металлической поверхности и забивать поры фильтрующих элементов при одноразовом прокачивании топлива, предварительно нагретого в баке установки и узлах контрольных элементов.
Термоокислительную стабильность топлива оценивают по средней скорости возрастания перепада давления на контроль-
Рис. 11.4. Схема установки ДТС-2М для определения термоокислительной стабильности .реактивных топлив:
/—топливный бак; 2 — электроподогревателя; 3 — заправочная трубка; 4— термопары;
5—заборная трубка, 6 — барботажная трубка; 7—система предварительного фильтрования в заправки топлива; в—краны; 5—топливные фильтры; /О—насос; //—воронка; 12—оценочная трубка; 13, 14—контрольные вставки; IS—корпус контрольных элементов; 16—контрольный фильтр; 17—узел контрольного фильтра; 18—кран перепуска топлива; 19— датчик перепада давления; 20 — холодильник; 21— ротаметр; 22—мано-вакуумметры; 23 — штрихпробер; 24— емкость для слива топлива; 25—система вытеснения топлива; 26—баллон; 27—редуктор; 29—регулятор давления; 29— кран тонкой регулировки; 30 — предохранительный клапан
ном фильтре, индексу термостабильности и температуре начала образования отложений. Таким образом, отличием этого метода от метода определения термической стабильности на установке ДТС-2 является предварительный нагрев топлива в баке, что, как считают, имитирует условия пребывания топлива в системе самолетов при продолжительном сверхзвуковом полете.
Установка ДТС-2М (рис. 11.4) сочетает в себе функции двух установок: ДТС-1М и ДТС-2. В этой установке вместо насосной системы подачи топлива на контрольные элементы использована вытеснительная—с помощью сжатого газа: воздуха, азота, гелия и т. п. Введен нагрев топлива в баке, что позволяет проводить испытание на предварительно нагретом (до 150 °С) топливе при давлении в баке до 1,0 МПа. Отсутствуют участки охлаждения на пути топлива от бака к нагревательной оценочной трубке и далее к контрольному фильтру за счет непосредственной состыковки этих узлов без соединительных необогреваемых
трубопроводов. Подготовка топливного бака, оценочной трубки, контрольных фильтров к работе установки в принципе не отличается от аналогичных операций с установками ДТС-1 и ДТС-2.
Топливо (10 л) фильтруют через фильтры (размер пор 12— 16 мкм и ~1 мкм). Испытания на установке можно вести с нагревом топлива и без нагрева его в баке (во втором варианте это равнозначно испытанию на установке ДТС-2). Выводят установку на следующий рабочий режим:
Испытание проводят до достижения указанных температур в течение 3 ч с нагревом и в течение 5 ч без нагрева топлива "в баке либо до достижения предельного перепада давления топлива на контрольном фильтре, равного 83 кПа. Средняя скорость роста перепада давления топлива на контрольном фильтре и, Па/мин—это отношение перепада давления топлива (АР, Па) ко времени подачи топлива через контрольный фильтр (т, мин):
Индекс термостабильности и температуру начала образования отложений определяют так же, как и при испытаниях на установке ДТС-2.
При испытаниях без нагрева топлива в баке на установке ДТС-2М максимальная относительная погрешность измерения не зависит от абсолютного значения полученной величины и для tн.o, ИТ и со равны 3,0, 12,5 и 15,3% соответственно. При испытаниях с нагревом топлива в баке относительная погрешность измерения а» составляет до 37%, если со находится в диапазоне 13—46 Па/мин, и 8%, если и составляет 750—920 Па/мин. Относительная погрешность измерения индекса стабильности составляет 6,0—12,0% в диапазоне ее величин 0,17—0,36.
Коррозионные потери меди и бронзы длительное время определяли по ГОСТ 18598—73. Недостатком метода является длительность испытания (пять периодов по 5 ч) и значительный объем топлива — 8 л. В связи с этим ВНИИ НП разработан экспресс-метод определения коррозионной активности реактивных топлив по отношению к меди. Пластинку (50Х150 мм) из медной фольги дважды выдерживают в свежей порции (125 мл) испытуемого топлива при 150 °С в течение 2 ч. С этой целью используют термостат ТСРТ-2. После двух этапов нагрева в контакте с топливом пластинку очищают и взвешивают. Расхожде-
ния между параллельными определениями не превышают 0,02 г/м2. Применение медной фольги в этом методе значительно увеличивает площадь контактирующей с топливом поверхности металла, что позволяет в несколько раз сократить время испытаний (в сравнении с ГОСТ 18598—73) и уменьшить погрешность определения.
Содержание металлов V, Мо, Со, W и Ni определяют атом-но-абсорбционным методом [215], основанным на измерении величины резонансного поглощения аналитических линий указанных элементов в атомных спектрах анализируемого топлива. Измерение проводят атомно-абсорбционным спектрофотометром высокого класса, типа IL-453 или Perkin-Elmer-303, при пламенной атомизации металлов в пламенах воздух — ацетилен и оксид азота (NzO) — ацетилен.
Перед испытанием готовят эталонные растворы органических соединений V, Мо, Со, Ni (в топливе) и W (в воде) в интервале концентраций этих металлов 1*10-4—l*lO-5%. Пробу топлива (7—8 мл) сжигают. Для определения W сжигают водный раствор сухого остатка испытуемого топлива.
По данным анализа эталонов строят градуировочные графики, по которым находят концентрацию металлов в испытуемом топливе. Чувствительность определения составляет 1*10-5% по ванадию, молибдену и никелю, 6- 10-6% по кобальту и 2,5-10-6% по вольфраму. Погрешность определения не превышает 50% для нижнего значения концентраций.
Предел прочности и относительное удлинение резины при растяжении. Сущность метода [223] заключается в двухстадий-ной обработке образцов резины при повышенной температуре. На первой стадии при температуре 150 °С в течение 4 ч из резины цетаном, из которого предварительно удален растворенный кислород, экстрагируют антиокислители. На второй стадии резина подвергается воздействию испытуемого топлива в присутствии кислорода воздуха при 140 °С в течение 4 ч. Степень воздействия топлива на резину оценивают по указанным показателям образцов резины (в соответствии с ГОСТ 270—75).
Период старения нитрильной резины. Метод [224] заключается в том, что образцы резины ИРП-1078 выдерживают в нагретом циркулирующем топливе, через которое барботирует воздух Испытание ведут этапами по 3 ч со сменой топлива после каждого этапа Период старения резины определяют по числу этапов испытаний, после которых предел прочности и относительное удлинение резины изменяются не более чем на 50%. С этой целью используют стеклянный прибор ЦИТО-С (рис. 11.5) с термосифонным принципом циркуляции топлива. Во внутреннем кольцевом зазоре прибора между электронагревателем 5 и стеклянной трубкой 6 топливо нагревается. Поднимаясь вверх, через верхние циркуляционные отверстия в трубке оно поступает в резервуар в верхней части прибора, где устанавливают образцы резины. На смену ему через нижние циркуля-
ционные отверстия поступает новая порция топлива из внешнего кольцевого зазора между корпусом 4 прибора и стеклянной трубкой 6. В прибор заливают 300 мл испытуемого топлива; в процессе испытания поддерживают температуру топлива у лопаток на уровне 135±2°С.
















