Рябов В.Т. - Функции, структура и элементная база систем автоматического управления (1041593), страница 7
Текст из файла (страница 7)
Х1*Х2*Х3
8
Отказ
да
"И1, Маска"
9
нет
3
нет
И1=Маска?
Х1*Х2*Х3?
6
да
да
10
Опрос4 номера и пере-
Задержка
ход к программе Nпр
5
11
нет
Выдать слово
Конец?
команд
5
да
12
6
Рис. 1.13
В диспетчер
З. САУ на однокристальных микроконтроллерах. Типовой однокристальный мик-
роконтроллер в одной БИС содержит вычислительное ядро, тактовый генератор, память про-грамм и данных, программируемые таймеры, приемопередатчик по последовательному кана-лу, средства формирования и поддержки внешних шин и программируемые порты для кон-троля и управления объектом. Это практически законченная микро-ЭВМ.
Конечно, возможности схемы гораздо скромнее, чем у микро-ЭВМ на универсальном микропроцессоре; но и их с лихвой достаточно чтобы сделать САУ для простого робота, вро-де рассмотренного нами, а стоимость системы будет на порядок меньше при одновременном увеличении надежности. Наработка однокристальных микроконтроллеров на отказ составля-ет десятки тысяч часов.
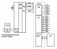
Структурная схема САУ приведена на рис . 1.14. Здесь использован однокристальный микроконтроллер К1816ВЕ51 с ОЗУ в 128 байт и РПЗУ в 4КБ. Конечно, ОЗУ очень мало, не-сколько программ управления придется разместить в РПЗУ и отказаться от опера-тивного перепрограммирования, но все ос-тальные функции можно оставить даже в таком минимальном аппаратном исполне-нии. Сигналы с датчиков приходят в порт Р0, с порта Р1 снимаются сигналы на фор-мирователь команд ФК, к порту Р2 под-ключен пульт управления, а микрокон-троллер осуществляет его анализ и инди-кацию. К входам С1 и С2 подключен квар-цевый резонатор, обеспечивающий ста-бильную работу внутреннего тактового ге-
нератора.
* * *
Рис. 1.14 Как видно из рассмотренного мате-риала, для САУ робота перегрузки кине-
20
скопов мы предложили 8 принципиально различных вариантов аппаратной реализации, при-менявшихся ранее и применяемых в настоящее время. Могли бы и далее рассматривать пер-спективные варианты, например, САУ на программируемых логических контроллерах ПЛК, САУ на универсальных контроллерах клона РС или промышленных компьютерах и т.д.
Сдерживает нашу фантазию только не достаточное знание элементной базы. Каждый вариант может реализовать различные целевые функции по реализации рабочего цикла, сер-висные функции , направленные на наилучшую организацию целевой функции и функции коррекции цели.
По реакции на входные воздействия система управления может представлять из себя
комбинационную логическую схему КЛС либо последовательностную схему, когда выход определен не только входными сигналами, но и прошлым состоянием системы.
Описать работу САУ можно циклограммой, если она реализует синхронные циклы управления, автоматным графом либо блок-схемой алгоритма управления.
Задача инженера-механика уже на первых этапах определить функции и элементную базу САУ проектируемой машины или системы машин, с тем, чтобы заложить в ее структур-но-компоновочное решение возможности полной реализации этих функций.
Вопросы к экзамену.
Вариантность построения САУ роботом: механические, пневмомеханические и электро-пневмо-механические САУ. Реализуемые функции, методы описания работы.
САУ на жесткой логике (контактно-релейные САУ). Реализуемые функции, методы опи-сания работы.
САУ со штекерной панелью. Реализуемые функции, методы описания работы.
САУ с памятью. Реализуемые функции, методы описания работы.
Микропроцессорные САУ. Реализуемые функции, методы описания работы.
Программное обеспечение микропроцессорной САУ для управления роботом.
САУ на однокристальных микроконтроллерах.Функции, методы описания работы.
Обзор способов описания работы САУ.
Этапы внедрения вычислительной и микропроцессорной техники в системы автоматического управления технологическим оборудованием
Период эпизодического применения, машина - дом. Созданные в сороковых годах прошлого столетия, первые ламповые вычислительные машины были громоздки, ненадежны, потребляли много энергии и, что вполне естественно, применялись для целей управления лишь эпизодически, только для уникальных объектов, таких, как атомные электростанции и т. п. Да и применялись ЭВМ скорее для контроля за действиями локальной автоматики и за действиями оператора и непосредственно объектом не управляли. Появился даже специаль-ный термин - управление "off line". Но даже первые, подчас неуклюжие, попытки обрабаты-вать информацию для целей управления техническими объектами, показали перспективность
эффективность этого направления. По времени реакции на событие оператор не мог сопер-ничать с ЭВМ и все дело было только в повышении надежности и снижении стоимости и га-баритов.
Период серийного применения. Машина - шкаф. 50-е…60-е годы ознаменовались созданием ЭВМ на дискретных полупроводниковых приборах и появлением памяти на фер-ритовых кольцах, вычислительная машина из отдельного здания перебралась в шкаф или в пару столов. В это время создаются первые специализированные управляющие вычислитель-ные машины, т. е. машины, созданные не для проведения числовых расчетов, а для обработки информации с объекта управления и выработки управляющих воздействий. За рубежом фир-ма DEC разработала и выпустила управляющую ЭВМ PDP-8, в СССР появился ее аналог -
21
"Электроника 100-И". В это была заложена и реализована идея шинной организации вычис-лительной машины, идея свероперативной памяти (по сути - регистров общего назначения будущего микропроцессора). Начали серийно выпускаться ЭВМ "Киев-67" и "Киев-70", предназначенные специально для управления оборудованием электронных технологий. В 1971 г. мы использовали такую машину для управления системой отклонения мощным элек-тронным пучком, способным проводить поверхностную обработку материалов.
Период массового применения. Одноплатная ЭВМ. В конце 60-х - начале 70-х
годов появились большие интегральные схемы БИС. В 1974 г. фирмой Intel был изготовлен первый "настоящий" микропроцессор 8080, в котором были заложены основы микропроцес-сорной архитектуры: набор регистров, типовая система команд, векторные прерывания, пря-мой доступ в память. За рубежом и чуть позже в Советском Союзе были запущены в серий-ное производство одноплатные ЭВМ. Это LSI-11 фирмы DEC, «Электроника-60М», «Элек-троника МС1201.02 и др., появилась гамма новых микропроцессоров. Микропроцессоры се-рии К1801ВМ1 и его модификации аккумулировали в себе все последние достижения того времени: 16-и разрядная шина данных, набор из 8-и универсальных 16-и разрядных регист-ров общего назначения из которых каждый мог исполнять роль счетчика команд. Мощная система команд с многообразием средств адресации позволяли эффективно использовать ад-ресное пространство и размещать коды команд и критичные данные в РПЗУ или энергонеза-висимом ОЗУ, так, что при выключении питания управляющая программа не пропадала и практически на требовала перезагрузки. Это был период накопления и реализации опыта раз-работки аппаратной и программной части САУ.
Были запущены в серийное производство первые специализированные управляющие контроллеры, объединившие в себе вычислительное ядро на основе какой либо одноплатной ЭВМ и комплектуемое по требованиям заказчика устройство связи с объектом (УСО).
Для нужд оборудования электронных технологий с начала 80-х годов серийно выпус-кались достаточно компактные контроллеры «Орион 3, 4, 5» и УТК-5, имевшие, по тогдаш-ним меркам, развитый человеко-машинный интерфейс на основе клавиатуры и дисплея и на-бираемое пользователем из серийно выпускаемых плат УСО. Каждая плата была рассчитана на прием и выдачу стандартизированных дискретных и аналоговых сигналов контроля и управления с программной и аппаратной инициализацией работы (ДУ, ДК – дискретное управление, контроль, АУ, АК - аналоговое управление, контроль).
Период распределенных САУ. Однокристальная ЭВМ или микроконтроллер. В на-чале 80 годов были разработаны и серийно выпущены БИС и СБИС, содержащие на одном кристалле законченное вычислительное ядро САУ и элементарные средства связи с объек-том. Фирмой Intel были выпущены семейства MCS-48, MCS-49 и, наконец, семейство MCS-51, ставшее в некотором роде эталоном универсального восьмиразрядного микроконтролле-ра. Микроконтроллеры этого семейства, стоящие несколько долларов за корпус, выпускаются
используются в новых разработках САУ до сих пор. Позже мы подробно изучим такие микроконтроллеры.
Множество фирм подхватило это направление работ. Так фирма Motorola выпустила микроконтроллеры семейства МС68НС11, отличающиеся наличием аналогово-цифрового преобразователя на кристалле и более развитой системой поддержки работы микроконтрол-лера в реальном времени. Микроконтроллер содержал на кристалле многоканальный про-граммируемый таймер, в более поздних разработках фирмы эта система заслуженно получи-ла название процессор реального времени.
В этот период на рынке появилась гамма различных управляющих контроллеров и средств их адаптации под конкретные требования оборудования:
















